Запчасти Komatsu JH65CV-2 ПОЛ МАТЕРИАЛ¤ ЦЕПИ Д/ШИН И AWNING(№99-.) ОПЦИОННЫЕ КОМПОНЕНТЫ

Схема запчастей Komatsu JH65CV-2 - ПОЛ МАТЕРИАЛ¤ ЦЕПИ Д/ШИН И AWNING(№99-.) ОПЦИОННЫЕ КОМПОНЕНТЫ
FIT
1:1
100%

Артикул

Название

Примечание

Количество

|1

381-988073-3

TIRE CHAIN ASS'Y,(20.5-25-12PR)

SN: ..-UP

1шт.

|1

0

TIRE CHAIN ASS'Y,(20.5-25-12PR)

SN: .-..

1шт.

|1

0

TIRE CHAIN ASS'Y,(20.5-25-12PR)

SN: 9649-.

1шт.

1

381-988074-3

CHAIN

SN: ..-@

4шт.

|1

0

CHAIN

SN: .-..

4шт.

|1

0

CHAIN

SN: 9649-.

4шт.

2

381-988075-2

BAND

SN: .-@

4шт.

|2

0

BAND

SN: 9649-.

4шт.

|1

380-889212-4

TIRE CHAIN ASS'Y,(17.5-25-12PR)

SN: ..-@

1шт.

|1

0

TIRE CHAIN ASS'Y,(17.5-25-12PR)

SN: .-..

1шт.

|1

0

TIRE CHAIN ASS'Y,(17.5-25-12PR)

SN: 9649-.

1шт.

1

380-889213-4

CHAIN

SN: ..-@

4шт.

|1

0

CHAIN

SN: .-..

4шт.

|1

0

CHAIN

SN: 9649-.

4шт.

2

385-10095521

BAND

SN: .-@

4шт.

|2

0

BAND

SN: 9649-.

4шт.

3

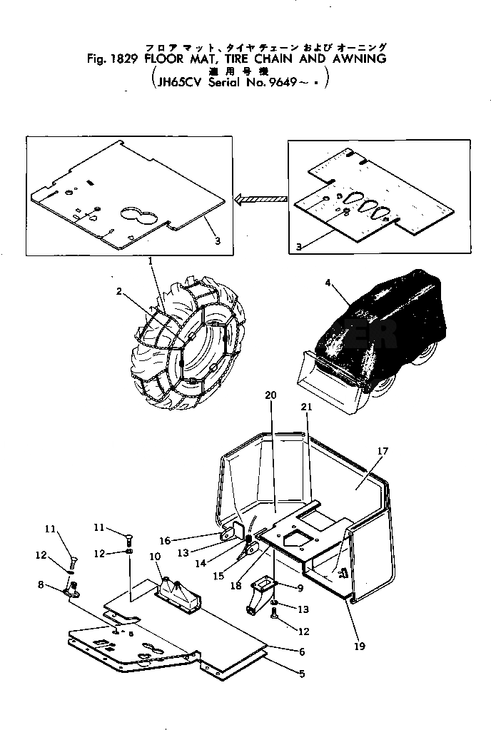
385-10115161

MAT

SN: 10051-@

1шт.

|3

381-988138-1

MAT

SN: 9649-10050

1шт.

4

380-889568-2

AWNING

SN: 9649-@

1шт.

|5

381-988191-1

FLOOR MAT KIT

SN: .-@

1шт.

|5

385-10115151

FLOOR MAT KIT

SN: ..-@

1шт.

5

385-10007981

MAT

SN: .-@

1шт.

|5

381-980621-1

MAT

SN: 9649-.

1шт.

6

385-10007971

MAT

SN: ..-@

1шт.

|6

381-980620-2

MAT

SN: .-..

1шт.

8

381-977987-1

COVER

SN: 9649-@

1шт.

9

381-980605-1

COVER

SN: 9649-@

1шт.

10

381-977144-1

COVER

SN: 9649-.

1шт.

|10

385-10007991

COVER,(FOR 2-SPOOL VALVE)

SN: .-@

1шт.

|10

385-10008001

COVER,(FOR 3-SPOOL VALVE)

SN: .-@

1шт.

11

380-132226-1

BOLT

SN: 9649-@

15шт.

12

01601-00513

WASHER

SN: 9649-@

15шт.

13

381-971869-1

SEAL

SN: .-@

1шт.

14

380-145705-1

GROMMET

SN: .-@

1шт.

15

381-971870-1

BAR,L.H.

SN: .-@

1шт.

16

381-971871-1

BAR,R.H.

SN: .-@

1шт.

17

385-10009651

LINING

SN: ..-@

1шт.

|17

381-971890-2

LINING

SN: .-..

1шт.

18

385-10009621

MAT

SN: ..-@

1шт.

|18

381-971909-1

MAT

SN: .-..

1шт.

19

385-10009601

MAT

SN: ..-@

1шт.

|19

381-987933-1

MAT

SN: .-..

1шт.

20

385-10009631

MAT

SN: ..-@

1шт.

21

385-10009611

MAT

SN: ..-@

1шт.

|21

381-987934-1

MAT

SN: .-..

1шт.

Выбрано товаров: 0