Запчасти Komatsu JH65CV-2 ПОЛ МАТЕРИАЛ¤ ЦЕПИ Д/ШИН И AWNING(№.-) ОПЦИОННЫЕ КОМПОНЕНТЫ

Схема запчастей Komatsu JH65CV-2 - ПОЛ МАТЕРИАЛ¤ ЦЕПИ Д/ШИН И AWNING(№.-) ОПЦИОННЫЕ КОМПОНЕНТЫ
FIT
1:1
100%

Артикул

Название

Примечание

Количество

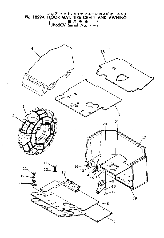
|1

381-988073-3

TIRE CHAIN ASS'Y,(20.5-25-12PR)

SN: .-UP

1шт.

1

381-988074-3

CHAIN

SN: .-UP

4шт.

2

381-988075-2

BAND

SN: .-UP

4шт.

|1

380-889212-4

TIRE CHAIN ASS'Y,(17.5-25-12PR)

SN: .-UP

1шт.

1

380-889213-4

CHAIN

SN: .-UP

4шт.

2

385-10095521

BAND

SN: .-UP

4шт.

3

385-10115161

MAT

SN: 10051-UP

1шт.

3A

385-10138231

MAT

SN: 10051-UP

1шт.

4

380-889568-2

AWNING

SN: 9649-UP

1шт.

|5

385-10115151

FLOOR MAT KIT

SN: .-UP

1шт.

5

385-10007981

MAT

SN: .-UP

1шт.

6

385-10007971

MAT

SN: .-..

1шт.

8

381-977987-1

COVER

SN: .-UP

1шт.

9

381-980605-1

COVER

SN: .-UP

1шт.

10

385-1007991

COVER,(FOR 2-SPOOL VALVE)

SN: .-UP

1шт.

|10

385-1008001

LOCK,(FOR 3-SPOOL VALVE)

SN: .-UP

1шт.

11

380-132226-1

BOLT

SN: .-UP

15шт.

12

01601-00513

WASHER

SN: .-UP

15шт.

13

381-971869-1

SEAL

SN: .-UP

1шт.

14

380-145705-1

GROMMET

SN: .-UP

1шт.

15

381-971870-1

BAR,L.H.

SN: .-UP

1шт.

16

381-971871-1

BAR,R.H.

SN: .-UP

1шт.

17

385-10009651

LINING

SN: .-UP

1шт.

18

385-10009621

MAT

SN: .-UP

1шт.

19

385-10009601

MAT

SN: .-UP

1шт.

20

385-10009631

MAT

SN: .-UP

1шт.

21

385-10009611

MAT

SN: .-UP

1шт.

Выбрано товаров: 0