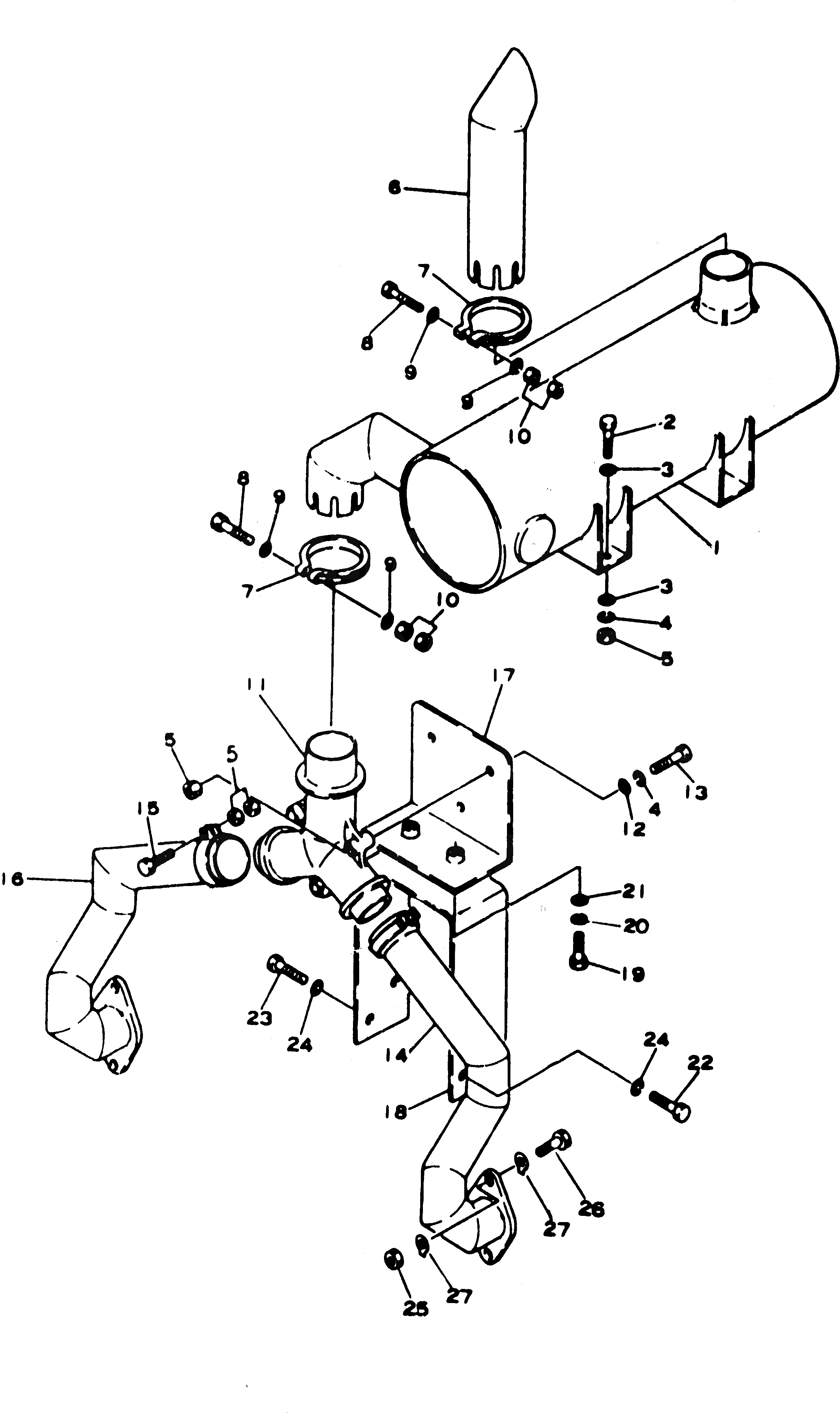
Запчасти Komatsu JH65CV-2 ГЛУШИТЕЛЬ КОМПОНЕНТЫ ДВИГАТЕЛЯ И ЭЛЕКТРИКА

Схема запчастей Komatsu JH65CV-2 - ГЛУШИТЕЛЬ КОМПОНЕНТЫ ДВИГАТЕЛЯ И ЭЛЕКТРИКА
FIT
1:1
100%

Артикул

Название

Примечание

Количество

1

381-981841-2

MUFFLER

SN: 9649-UP

1шт.

2

382-024840-1

BOLT

SN: 10441-UP

4шт.

|2

0

BOLT

SN: 9649-10440

4шт.

3

382-025534-1

WASHER

SN: .-UP

8шт.

|3

0

WASHER

SN: 9649-.

8шт.

4

384-0131099

WASHER

SN: .-UP

7шт.

|4

0

WASHER

SN: 9649-.

7шт.

5

382-025522-1

NUT

SN: .-UP

11шт.

|5

0

NUT

SN: 9649-.

11шт.

6

381-976006-2

STACK

SN: 9649-UP

1шт.

7

381-898018-1

CLAMP

SN: 9649-UP

2шт.

8

382-025687-1

BOLT

SN: .-UP

2шт.

|8

0

BOLT

SN: 9649-.

2шт.

9

01643-01232

WASHER

SN: 9649-UP

4шт.

10

382-025526-1

NUT

SN: .-UP

4шт.

|10

0

NUT

SN: 9649-.

4шт.

11

381-980979-1

PIPE

SN: 9649-UP

1шт.

12

382-025553-1

WASHER

SN: 9649-UP

3шт.

13

380-S2628-00

BOLT

SN: 9649-UP

3шт.

14

381-980997-3

PIPE

SN: 9649-UP

1шт.

15

382-024841-1

BOLT

SN: .-UP

2шт.

|15

0

BOLT

SN: 9649-.

2шт.

16

381-980998-3

PIPE

SN: 9649-UP

1шт.

17

381-985996-1

SUPPORT

SN: 9649-UP

1шт.

18

381-985995-1

SUPPORT

SN: 9649-UP

1шт.

19

382-025505-1

BOLT

SN: .-UP

1шт.

|19

0

BOLT

SN: 9649-.

2шт.

20

380-WL18-000

WASHER

SN: 9649-UP

2шт.

21

382-025555-1

WASHER

SN: 9649-UP

2шт.

22

380-S267-000

BOLT

SN: 9649-UP

2шт.

23

380-S269-000

BOLT

SN: 9649-UP

2шт.

24

384-0131099

WASHER

SN: .-UP

4шт.

|24

0

WASHER

SN: 9649-.

4шт.

25

381-977878-1

NUT

SN: 9649-UP

4шт.

26

380-S1614-00

BOLT

SN: 10051-UP

4шт.

|26

380-S1612-00

BOLT

SN: 9649-10050

4шт.

27

01650-01012

WASHER

SN: 9649-UP

8шт.

28

381-898018-1

CLAMP

SN: 9649-UP

2шт.

Выбрано товаров: 38