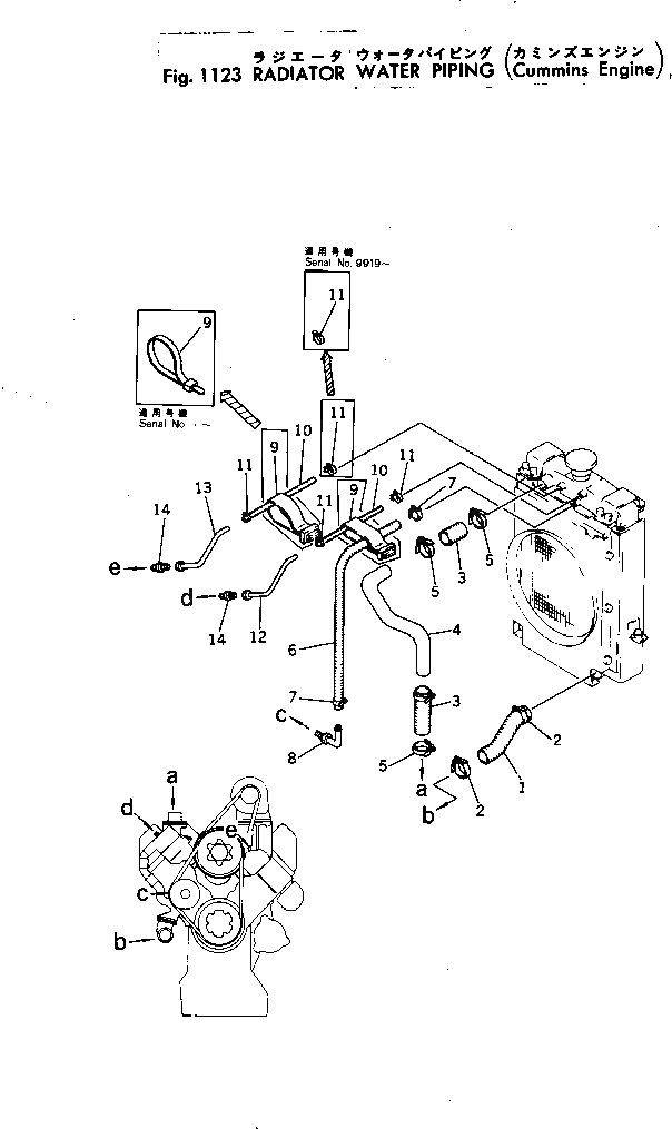
Запчасти Komatsu JH65CV-2 РАДИАТОР ВОДН. ГИДРОЛИНИЯ КОМПОНЕНТЫ ДВИГАТЕЛЯ И ЭЛЕКТРИКА

Схема запчастей Komatsu JH65CV-2 - РАДИАТОР ВОДН. ГИДРОЛИНИЯ КОМПОНЕНТЫ ДВИГАТЕЛЯ И ЭЛЕКТРИКА
FIT
1:1
100%

Артикул

Название

Примечание

Количество

1

381-982315-1

HOSE

SN: 9649-UP

1шт.

2

382-279028-1

CLAMP

SN: 9649-UP

2шт.

3

380-887546-1

HOSE

SN: 9649-UP

2шт.

4

381-983120-1

TUBE

SN: 9649-UP

1шт.

5

382-279026-1

CLAMP

SN: 9649-UP

4шт.

6

380-886237-1

HOSE

SN: 9649-UP

1шт.

7

382-333710-1

CLAMP

SN: 9649-UP

2шт.

8

380-172695-1

INSERT

SN: 9649-UP

1шт.

9

381-935522-1

STRAP

SN: .-UP

2шт.

|9

0

STRAP

SN: 9649-.

2шт.

10

381-981049-1

HOSE

SN: 9649-UP

1шт.

11

07281-00137

CLAMP

SN: 9919-UP

4шт.

|11

380-887224-1

CLAMP

SN: 9649-9918

4шт.

12

381-980207-1

TUBE

SN: 9649-UP

1шт.

13

381-983121-1

TUBE

SN: 9649-UP

1шт.

14

384-9402706

CONNECTOR

SN: .-UP

2шт.

|14

0

CONNECTOR

SN: 9649-.

2шт.

Выбрано товаров: 17