Запчасти Komatsu JH65CV-2 КАБИНА ОПЕРАТОРА(№-) РАМА И ЧАСТИ КОРПУСА

Схема запчастей Komatsu JH65CV-2 - КАБИНА ОПЕРАТОРА(№-) РАМА И ЧАСТИ КОРПУСА
FIT
1:1
100%

Артикул

Название

Примечание

Количество

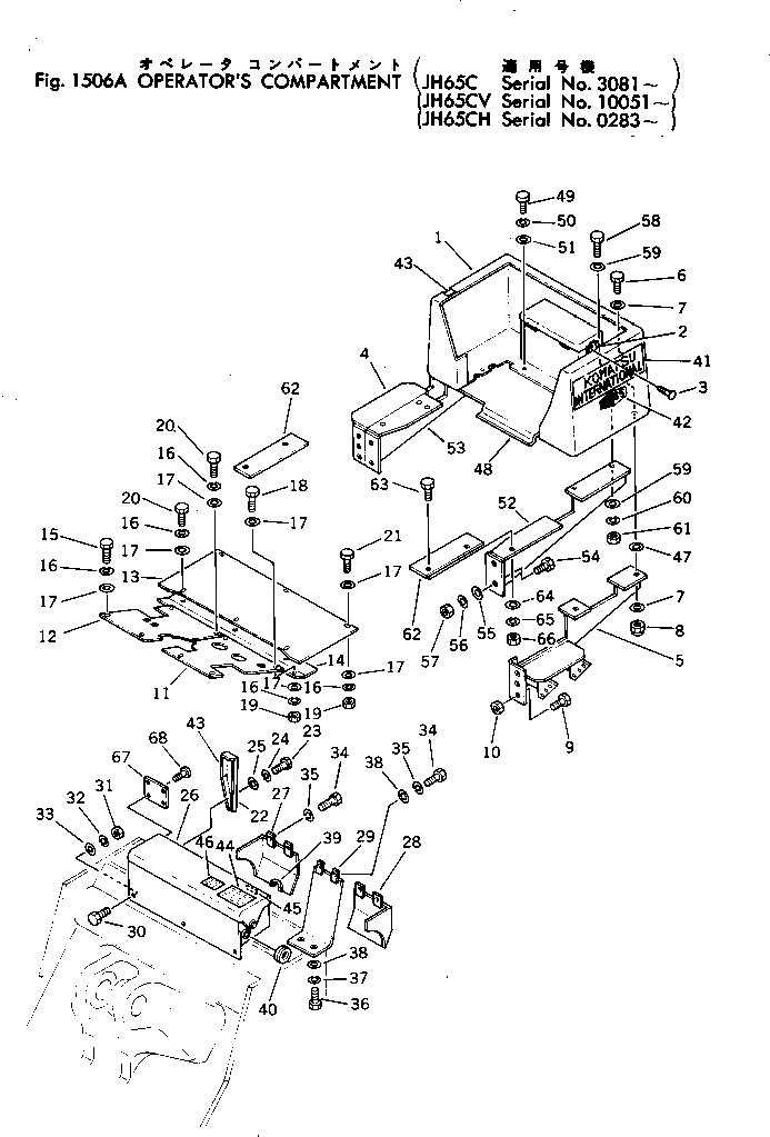
1

385-10006122

FRAME

SN: 10765-UP

1шт.

|1

0

FRAME

SN: 10051-10764

1шт.

2

380-887879-1

CLAMP

SN: 9649-UP

2шт.

3

04400-00310

RIVET

SN: 9649-UP

8шт.

4

385-10005984

BRACKET,R.H.

SN: .-UP

1шт.

|4

0

BRACKET,R.H.

SN: 10051-.

1шт.

5

385-10005974

BRACKET,L.H.

SN: .-UP

1шт.

|5

0

BRACKET,L.H.

SN: 10051-.

1шт.

6

380-S2816-00

BOLT

SN: 9649-UP

4шт.

7

381-897748-1

WASHER

SN: 9649-UP

8шт.

8

380-E28-0000

NUT

SN: 9649-UP

4шт.

9

380-S21218-0

BOLT

SN: 10051-UP

6шт.

10

380-E212-000

NUT

SN: 10051-UP

6шт.

11

381-986774-5

BOARD,FRONT¤ L.H.

SN: .-UP

1шт.

|11

0

BOARD,FRONT¤ L.H.

SN: 9920-.

1шт.

12

381-986776-4

BOARD,FRONT¤ R.H.

SN: .-UP

1шт.

|12

0

BOARD,FRONT¤ R.H.

SN: 9649-.

1шт.

13

385-10051231

BOARD,REAR

SN: 10051-UP

1шт.

14

381-986281-1

STRIP

SN: 9649-UP

1шт.

15

382-024863-1

BOLT

SN: .-UP

4шт.

|15

0

BOLT

SN: 10051-.

4шт.

16

384-0131101

WASHER

SN: .-UP

14шт.

|16

0

WASHER

SN: 9649-.

14шт.

17

382-025555-1

WASHER

SN: .-UP

16шт.

|17

0

WASHER

SN: 10051-.

16шт.

18

382-025526-1

NUT

SN: .-UP

2шт.

|18

0

BOLT

SN: 10051-.

2шт.

19

382-025526-1

NUT

SN: .-UP

4шт.

|19

0

NUT

SN: 9649-.

4шт.

20

382-024861-1

BOLT

SN: .-UP

6шт.

|20

0

BOLT

SN: 9649-.

6шт.

21

382-024863-1

BOLT

SN: .-UP

2шт.

|21

0

BOLT

SN: 9649-.

2шт.

22

381-898497-3

PROTECTOR

SN: 201-UP

1шт.

23

382-025480-1

BOLT

SN: .-UP

2шт.

|23

0

BOLT

SN: 8308-.

2шт.

24

384-0131098

WASHER

SN: .-UP

2шт.

|24

0

WASHER

SN: 3-.

2шт.

25

382-02555-1

WASHER

SN: .-UP

2шт.

|25

0

WASHER

SN: 3-.

2шт.

26

381-986715-3

BOX

SN: 10777-UP

1шт.

|26

0

BOX

SN: 9932-10776

1шт.

27

385-10058711

SUPPORT,R.H.

SN: 10039-UP

1шт.

28

381-986693-1

SUPPORT,L.H.

SN: 9649-UP

1шт.

29

381-986692-1

SUPPORT

SN: 9649-UP

1шт.

30

380-S269-000

BOLT

SN: 9649-UP

3шт.

31

382-025522-1

NUT

SN: .-UP

3шт.

|31

0

NUT

SN: 9649-.

3шт.

32

384-0131099

WASHER

SN: .-UP

3шт.

|32

0

WASHER

SN: 3-.

3шт.

33

382-025553-1

WASHER

SN: .-UP

3шт.

|33

0

WASHER

SN: 3-.

3шт.

34

382-024839-1

BOLT

SN: .-UP

6шт.

|34

0

BOLT

SN: 9649-.

6шт.

35

384-0131099

WASHER

SN: .-UP

6шт.

|35

0

WASHER

SN: 3-.

6шт.

36

380-S269-000

BOLT

SN: 9649-UP

2шт.

37

384-0131099

WASHER

SN: .-UP

2шт.

|37

0

WASHER

SN: 9649-.

2шт.

38

382-024834-1

BOLT

SN: .-UP

4шт.

|38

0

WASHER

SN: 9649-.

4шт.

39

381-980005-1

GROMMET

SN: 9001-UP

1шт.

40

08037-01610

GROMMET

SN: .-UP

2шт.

41

381-987702-1

PLATE¤ MARK

SN: 9649-UP

2шт.

42

380-888118-2

PLATE¤ MARK

SN: 7435-UP

2шт.

43

380-885268-1

PLATE¤ OPERATING,HYDRAULIC VALVE

SN: 3-UP

1шт.

45

380-889629-1

DECAL

SN: 3-UP

1шт.

46

385-10177431

PLATE¤ CAUTION

SN: .-UP

1шт.

|46

0

PLATE¤ CAUTION

SN: 8069-.

1шт.

47

385-10004331

SHIM¤ 1.0MM

SN: 10051-UP

-2шт.

48

385-10005931

BOARD

SN: 10051-UP

1шт.

49

382-025505-1

BOLT

SN: .-UP

3шт.

|49

0

BOLT

SN: 10051-.

3шт.

50

384-0131101

WASHER

SN: .-UP

3шт.

|50

0

WASHER

SN: 10051-.

3шт.

51

382-025555-1

WASHER

SN: .-UP

3шт.

|51

0

WASHER

SN: 10051-.

3шт.

52

385-10051212

BRACKET,INNER

SN: 10051-UP

1шт.

53

385-10051221

BRACKET,INNER

SN: 10051-UP

1шт.

54

382-024876-1

BOLT

SN: .-UP

4шт.

|54

0

BOLT

SN: 10051-.

4шт.

55

382-025556-1

WASHER

SN: .-UP

4шт.

|55

0

WASHER

SN: 10051-.

4шт.

56

384-0131140

WASHER

SN: .-UP

4шт.

|56

0

WASHER

SN: 10051-.

4шт.

57

382-025528-1

NUT

SN: .-UP

4шт.

|57

0

NUT

SN: 10051-.

4шт.

58

382-024863-1

BOLT

SN: .-UP

4шт.

|58

0

BOLT

SN: 10051-.

4шт.

59

382-025555-1

WASHER

SN: .-UP

8шт.

|59

0

WASHER

SN: 10051-.

8шт.

60

384-0131101

WASHER

SN: .-UP

4шт.

|60

0

WASHER

SN: 10051-.

4шт.

61

382-025526-1

NUT

SN: .-UP

4шт.

|61

0

NUT

SN: 10051-.

4шт.

62

385-1005941

BOARD

SN: 10051-UP

2шт.

63

382-025505-1

BOLT

SN: .-UP

4шт.

|63

0

BOLT

SN: 10051-.

4шт.

64

382-025555-1

WASHER

SN: .-UP

4шт.

|64

0

WASHER

SN: 10051-.

4шт.

65

384-0131101

WASHER

SN: .-UP

4шт.

|65

0

WASHER

SN: 10051-.

4шт.

66

382-025526-1

NUT

SN: .-UP

4шт.

|66

0

NUT

SN: 10051-.

4шт.

67

380-885277-2

PLATE¤ NAME

SN: 9649-UP

1шт.

68

385-10259501

SCREW

SN: .-UP

4шт.

|68

0

SCREW

SN: 9649-.

4шт.

Выбрано товаров: 107