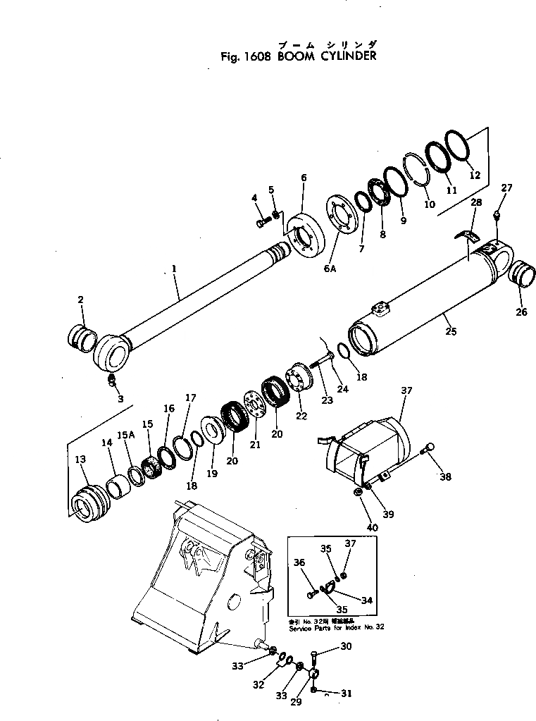
Запчасти Komatsu JH65CV-2 ЦИЛИНДР СТРЕЛЫ РАБОЧЕЕ ОБОРУДОВАНИЕ И ITS СИСТЕМА УПРАВЛЕНИЯ

Схема запчастей Komatsu JH65CV-2 - ЦИЛИНДР СТРЕЛЫ РАБОЧЕЕ ОБОРУДОВАНИЕ И ITS СИСТЕМА УПРАВЛЕНИЯ
FIT
1:1
100%

Артикул

Название

Примечание

Количество

|1

381-976205-4

CYLINDER ASS'Y

SN: 10381-UP

2шт.

|1

0

CYLINDER ASS'Y

SN: 9919-10380

2шт.

|1

0

CYLINDER ASS'Y

SN: 9649-9918

2шт.

1

381-988408-1

ROD

SN: 9649-UP

1шт.

2

381-985548-1

BUSHING

SN: 9649-UP

1шт.

3

384-0126152

FITTING

SN: .-UP

1шт.

|3

0

FITTING

SN: 9649-.

1шт.

4

380-S2610-00

BOLT

SN: 9915-UP

6шт.

|4

380-S2611-00

BOLT

SN: 9649-9914

6шт.

5

380-WL16-000

WASHER

SN: 9649-UP

6шт.

6

381-976540-1

CAP

SN: 9649-UP

1шт.

6A

385-10083551

SEAL

SN: 10381-UP

1шт.

7

381-976539-1

SEAL

SN: 9649-UP

1шт.

8

381-976541-1

GASKET

SN: 9649-UP

1шт.

9

381-881185-1

RING

SN: 9649-UP

1шт.

10

380-214767-1

RING

SN: 9649-UP

3шт.

11

381-980614-1

WASHER

SN: 9649-UP

1шт.

12

380-OR7429-0

O-RING

SN: 9649-UP

1шт.

13

381-976533-1

HEAD,CYLINDER

SN: 9649-UP

1шт.

14

381-976534-1

BUSHING

SN: 9649-UP

1шт.

15

381-976537-1

U-RING

SN: 9919-UP

1шт.

|15

\4\381-983031-1

PACKING

SN: 9649-9918

1шт.

|$$23

(381-976537-1{381-976538-1)}

-1шт.

15A

381-976538-1

PACKING

SN: 9649-UP

1шт.

16

381-976536-1

PACKING

SN: 9649-UP

1шт.

17

381-976535-1

RING

SN: 9649-UP

1шт.

18

380-OR435-00

O-RING

SN: 9649-UP

2шт.

19

380-214756-1

PISTON

SN: 9649-UP

1шт.

20

380-214759-1

PACKING

SN: 9649-UP

2шт.

21

380-214758-1

RING

SN: 9649-UP

2шт.

22

380-214755-1

PISTON

SN: 9649-UP

1шт.

23

380-S2824-00

BOLT

SN: 9727-UP

8шт.

|23

0

SCREW

SN: 9649-9726

8шт.

24

380-LW1616-0

WIRE

SN: 9649-9726

1шт.

25

381-986542-1

CYLINDER

SN: 9649-UP

1шт.

26

381-982228-1

BUSHING

SN: 9649-UP

1шт.

27

380-118491-1

FITTING

SN: 9649-UP

1шт.

29

380-214772-1

COLLAR

SN: 9649-UP

2шт.

30

380-S1848-00

SCREW

SN: 9649-UP

2шт.

31

380-E18-0000

NUT

SN: 9649-UP

2шт.

32

380-169724-1

RING

SN: 9649-UP

4шт.

33

381-889045-1

SHIM

SN: 9649-UP

4шт.

34

381-890039-1

RING,(SERVICE PARTS)

SN: 9649-UP

4шт.

35

380-216289-1

WASHER,(SERVICE PARTS)

SN: 9649-UP

2шт.

36

380-S1432-00

BOLT,(SERVICE PARTS)

SN: 9649-UP

1шт.

37

380-E14-0000

NUT,(SERVICE PARTS)

SN: 9649-UP

1шт.

38

381-977663-1

STOPPER,(SERVICE PARTS)

SN: 9649-UP

1шт.

39

380-S2811-00

BOLT,(SERVICE PARTS)

SN: 9649-UP

1шт.

40

380-WL18-000

WASHER,(SERVICE PARTS)

SN: 9649-UP

1шт.

41

380-H18-0000

NUT,(SERVICE PARTS)

SN: 9649-UP

1шт.

Выбрано товаров: 50