Запчасти Komatsu JH80C-1 ТОПЛИВН. БАК. КОМПОНЕНТЫ ДВИГАТЕЛЯ И ЭЛЕКТРИКА

Схема запчастей Komatsu JH80C-1 - ТОПЛИВН. БАК. КОМПОНЕНТЫ ДВИГАТЕЛЯ И ЭЛЕКТРИКА
FIT
1:1
100%

Артикул

Название

Примечание

Количество

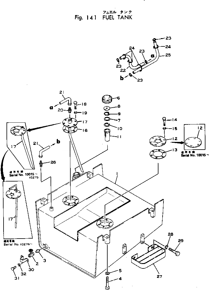
1

385-10099053

TANK

SN: 10015-UP

1шт.

|1

385-10076441

TANK

SN: 10001-10014

1шт.

2

385-10051741

VALVE

SN: 10001-UP

1шт.

3

385-10015421

CONNECTOR

SN: 10001-UP

1шт.

4

382-024894-1

BOLT

SN: 10015-UP

4шт.

|4

382-020173-1

BOLT

SN: 10001-10014

4шт.

5

382-025557-1

WASHER

SN: 10001-UP

4шт.

|6

381-988180-1

CAP ASS'Y

SN: 10015-UP

1шт.

|6

381-976051-1

CAP ASS'Y

SN: 10001-10014

1шт.

6

381-971606-1

BODY

SN: 10001-10014

1шт.

7

381-618688-1

GASKET

SN: 10015-UP

1шт.

|7

381-976063-1

GASKET

SN: 10001-10014

1шт.

8

381-987072-1

PLATE

SN: 10015-UP

1шт.

|8

381-971607-1

PLUG

SN: 10001-10014

1шт.

9

381-971608-1

RING

SN: 10001-10014

1шт.

10

381-987081-1

RING

SN: 10015-UP

1шт.

|10

381-976064-1

RING

SN: 10001-10014

1шт.

11

381-987076-1

STRAINER

SN: 10015-UP

1шт.

|11

381-976061-2

STRAINER

SN: 10001-10014

1шт.

12

381-986021-3

COVER

SN: 10015-UP

1шт.

|12

381-986109-2

FLANGE

SN: 10001-10014

1шт.

13

381-986022-2

GASKET

SN: 10001-UP

1шт.

14

382-024840-1

BOLT

SN: 10015-UP

6шт.

|14

380-140483H

BOLT

SN: 10001-10014

6шт.

15

382-025544-1

WASHER

SN: 10001-UP

6шт.

16

381-986022-2

GASKET

SN: 10001-UP

1шт.

17

385-10193431

TUBE

SN: 10276-UP

1шт.

|17

385-10100101

TUBE

SN: 10015-10275

1шт.

|17

381-982257-2

TUBE

SN: 10001-10014

1шт.

18

382-024840-1

BOLT

SN: 10001-UP

6шт.

19

382-025544-1

WASHER

SN: 10001-UP

6шт.

20

381-977127-1

ADAPTER

SN: 10001-10275

1шт.

21

385-10076601

TUBE

SN: 10276-UP

1шт.

|21

385-10076601

TUBE

SN: 10001-10275

2шт.

22

07261-20911

HOSE

SN: 10001-UP

1шт.

23

382-274085-1

CLAMP

SN: 10001-UP

4шт.

24

381-976197-1

STRAP

SN: 10001-UP

4шт.

25

07260-20980

HOSE

SN: 10015-UP

1шт.

|25

381-898874-1

HOSE

SN: 10001-10014

1шт.

26

384-9402708

CONNECTOR

SN: 10001-UP

1шт.

27

381-981256-1

STEP

SN: 10001-10215

2шт.

28

382-025546-1

WASHER

SN: 10001-10215

4шт.

29

382-024860-1

BOLT

SN: 10001-10215

4шт.

30

385-10003651

COVER

SN: 10015-UP

1шт.

|30

385-10051751

COVER

SN: 10001-10014

1шт.

31

382-024840-1

BOLT

SN: 10015-UP

2шт.

|31

382-024838-1

BOLT

SN: 10001-10014

2шт.

32

382-025544-1

WASHER

SN: 10001-UP

2шт.

Выбрано товаров: 48