Запчасти Komatsu JH80C-1 КОВШ УРОВЕНЬLER УПРАВЛ-Е РАБОЧИМ ОБОРУДОВАНИЕМ

Схема запчастей Komatsu JH80C-1 - КОВШ УРОВЕНЬLER УПРАВЛ-Е РАБОЧИМ ОБОРУДОВАНИЕМ
FIT
1:1
100%

Артикул

Название

Примечание

Количество

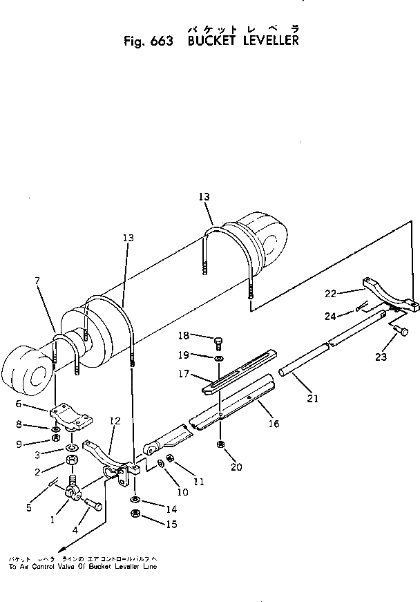
1

381-898199-1

YOKE

SN: 10001-UP

1шт.

2

382-026546-1

NUT

SN: 10001-UP

1шт.

3

382-025557-1

WASHER

SN: 10001-UP

1шт.

4

384-0114788

PIN

SN: 10001-UP

1шт.

5

384-0103396

PIN

SN: 10001-UP

1шт.

6

381-982384-1

BRACKET

SN: 10001-UP

1шт.

7

381-982383-1

U-BOLT

SN: 10001-UP

2шт.

8

382-025533-1

WASHER

SN: 10001-UP

4шт.

9

384-9413977

NUT

SN: 10001-UP

4шт.

10

382-025551-1

WASHER

SN: 10001-UP

2шт.

11

382-025519-1

NUT

SN: 10001-UP

2шт.

12

385-10019882

BRACKET

SN: 10108-UP

1шт.

|12

0

BRACKET

SN: 10001-10107

1шт.

13

380-889725-1

U-BOLT

SN: 10001-UP

2шт.

14

382-025536-1

WASHER

SN: 10001-UP

4шт.

15

384-9411648

NUT

SN: 10001-UP

4шт.

16

381-982380-2

SLIDE

SN: 10001-UP

1шт.

|16

385-10129541

SLIDE,(FOR LOG GRAPPLE)

SN: 10001-UP

1шт.

17

381-982381-1

ANGLE

SN: 10001-UP

1шт.

|17

381-898550-2

ANGLE,(FOR LOG GRAPPLE)

SN: 10001-UP

1шт.

18

382-025482-1

BOLT

SN: 10001-UP

2шт.

19

384-0120392

WASHER

SN: 10001-UP

4шт.

20

382-025519-1

NUT

SN: 10001-UP

2шт.

21

381-982382-1

PLUNGER

SN: 10001-UP

1шт.

|21

381-898548-1

PLUNGER,(FOR LOG GRAPPLE)

SN: 10001-UP

1шт.

22

385-10019902

BRACKET

SN: 10255-UP

1шт.

|22

0

BRACKET

SN: 10001-10254

1шт.

23

384-0121741

PIN

SN: 10001-UP

1шт.

24

384-0103372

PIN

SN: 10001-UP

1шт.

Выбрано товаров: 29