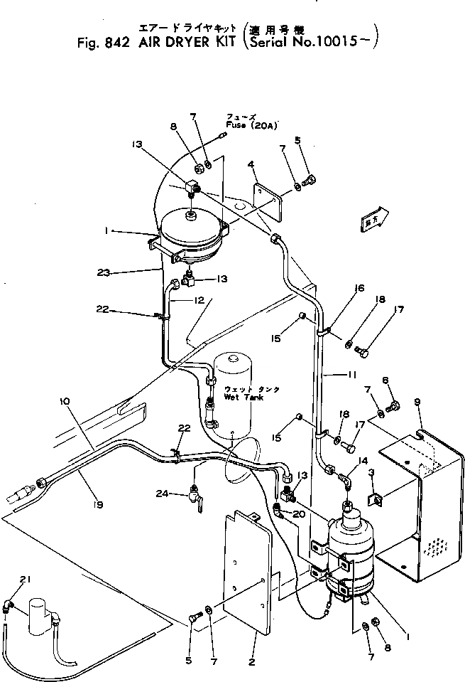
Запчасти Komatsu JH80C-1 ВОЗД. ВЛАГООТДЕЛИТЕЛЬ КОМПЛЕКТ(№-) ОПЦИОННЫЕ КОМПОНЕНТЫ

Схема запчастей Komatsu JH80C-1 - ВОЗД. ВЛАГООТДЕЛИТЕЛЬ КОМПЛЕКТ(№-) ОПЦИОННЫЕ КОМПОНЕНТЫ
FIT
1:1
100%

Артикул

Название

Примечание

Количество

|1

385-10151531

AIR DRYER KIT

SN: 10015-UP

1шт.

1

385-10151541

DRYER

SN: 10015-UP

1шт.

2

385-10151551

SUPPORT (WELDED)

SN: 10015-UP

1шт.

3

385-10151561

ANGLE (WELDED)

SN: 10015-UP

1шт.

4

385-10151571

PLATE (WELDED)

SN: 10015-UP

1шт.

5

380-140483H

BOLT

SN: 10015-UP

6шт.

6

382-024839-1

BOLT

SN: 10015-UP

3шт.

7

382-025896-1

WASHER

SN: 10015-UP

15шт.

8

382-025522-1

NUT

SN: 10015-UP

6шт.

9

385-10151631

COVER

SN: 10015-UP

1шт.

10

385-10151601

TUBE

SN: 10015-UP

1шт.

11

385-10151611

TUBE

SN: 10015-UP

1шт.

12

385-10151591

TUBE

SN: 10015-UP

1шт.

13

385-10151581

ELBOW

SN: 10015-UP

3шт.

14

384-9402866

ELBOW

SN: 10015-UP

1шт.

15

380-N08239-1

BOSS (WELDED)

SN: 10015-UP

2шт.

16

382-129083-1

CLAMP

SN: 10015-UP

2шт.

17

382-024838-1

BOLT

SN: 10015-UP

2шт.

18

382-025896-1

WASHER

SN: 10015-UP

2шт.

19

380-887366-1

TUBE

SN: 10015-UP

1шт.

20

380-164839-1

ELBOW

SN: 10015-UP

1шт.

21

380-175775-1

ELBOW

SN: 10015-UP

1шт.

22

381-976196-1

STRAP

SN: 10015-UP

2шт.

23

385-10151621

WIRE

SN: 10015-UP

1шт.

24

380-889870-1

VALVE

SN: 10015-UP

1шт.

Выбрано товаров: 25