Запчасти Komatsu JH80C-1 ЦИЛИНДР ДЛЯ ЗАХВАТА БРЕВЕН ОПЦИОННЫЕ КОМПОНЕНТЫ

Схема запчастей Komatsu JH80C-1 - ЦИЛИНДР ДЛЯ ЗАХВАТА БРЕВЕН ОПЦИОННЫЕ КОМПОНЕНТЫ
FIT
1:1
100%

Артикул

Название

Примечание

Количество

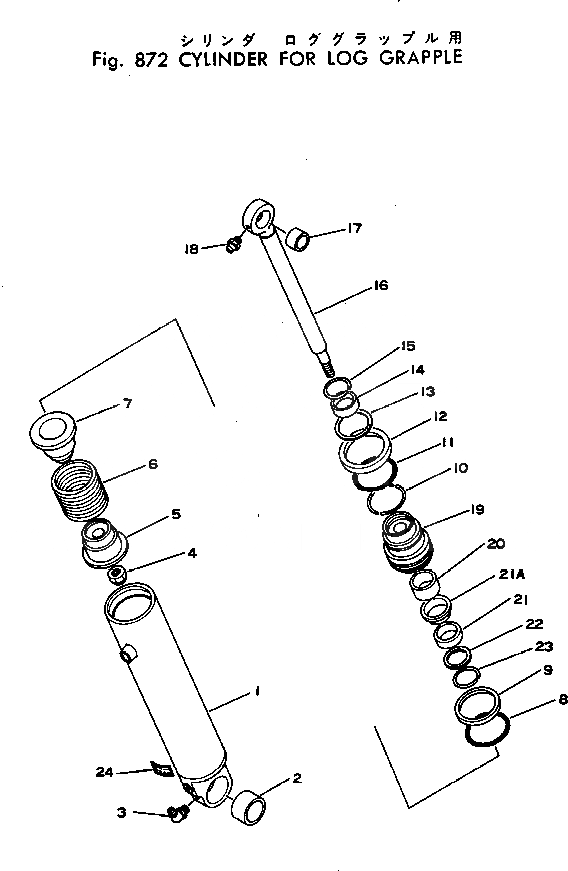
|1

381-983359-2

CYLINDER ASS'Y

SN: (.)-UP

2шт.

|1

0

CYLINDER ASS'Y

SN: (001)-(.)

2шт.

1

381983356-1

CYLINDER

SN: (001)-UP

1шт.

2

381-986539-1

BUSHING

SN: (001)-UP

1шт.

3

380-119692-1

FITTING

SN: (001)-UP

1шт.

4

380-E116-000

NUT

SN: (001)-UP

1шт.

5

380-144261-1

PISTON

SN: (001)-UP

1шт.

6

380-144259-2

PACKING

SN: (001)-UP

1шт.

7

380-144260-1

PISTON

SN: (001)-UP

1шт.

8

380-OR7342-0

O-RING

SN: (001)-UP

1шт.

9

381-982222-1

RING

SN: (001)-UP

1шт.

10

380-125281-1

RING

SN: (001)-UP

2шт.

11

380-890234-1

RING

SN: (001)-UP

1шт.

12

380-125417-1

CAP

SN: (001)-UP

1шт.

13

380-125282-1

RING

SN: (001)-UP

1шт.

14

381-897860-1

SEAL

SN: (001)-UP

1шт.

15

381-976573-1

RING

SN: (001)-UP

1шт.

16

380-889617-2

ROD

SN: (001)-UP

1шт.

17

381-985716-1

BUSHING

SN: (001)-UP

1шт.

18

380-118491-1

FITTING

SN: (001)-UP

1шт.

19

381-977405-1

HEAD ASS'Y

SN: (001)-UP

1шт.

20

381-976568-1

BUSHING

SN: (001)-UP

1шт.

21

381-976571-1

U-PACKING

SN: (001)-UP

1шт.

|21

0

PACKING

SN: ((001)-(.))

1шт.

21A

381-976572-1

HEEL

SN: (001)-UP

1шт.

22

381-976570-1

PACKING

SN: (001)-UP

1шт.

23

381-976569-1

RING

SN: (001)-UP

1шт.

24

381-983358-1

DECAL

SN: (001)-UP

1шт.

Выбрано товаров: 28