Запчасти Komatsu JH80C-1 ЧАСТИ КРЕПЛЕНИЯ ТРАНСМИССИИ ТРАНСМИССИЯ

Схема запчастей Komatsu JH80C-1 - ЧАСТИ КРЕПЛЕНИЯ ТРАНСМИССИИ ТРАНСМИССИЯ
FIT
1:1
100%

Артикул

Название

Примечание

Количество

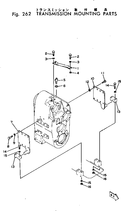
1

385-10077072

SUPPORT

SN: 10001-UP

1шт.

2

382-024862-1

BOLT

SN: 10001-UP

4шт.

3

382-025555-1

WASHER

SN: 10001-UP

4шт.

4

381-982754-1

SHIM

SN: 10001-UP

2шт.

5

380-888906-2

BOLT

SN: 10001-UP

1шт.

6

380-114851-1

WASHER

SN: 10001-UP

1шт.

7

381-894931-1

SUPPORT

SN: 10001-UP

1шт.

8

382-024863-1

BOLT

SN: 10001-UP

8шт.

9

382-025555-1

WASHER

SN: 10001-UP

8шт.

10

381-894930-1

SUPPORT

SN: 10001-UP

1шт.

11

382-024865-1

BOLT

SN: 10001-UP

7шт.

12

382-024534-1

NUT

SN: 10001-UP

7шт.

13

380-216618-1

BLOCK

SN: 10001-UP

2шт.

14

382-025290-1

BOLT

SN: 10001-UP

4шт.

15

382-025555-1

WASHER

SN: 10001-UP

8шт.

16

384-9412230

NUT

SN: 10001-UP

4шт.

Выбрано товаров: 16