Запчасти Komatsu JH80C-1 POER CLUSTER МАСЛ. ЛИНИЯ ПРИВОДВАЛ¤ ДИФФЕРЕНЦ. И КОЛЕСА

Схема запчастей Komatsu JH80C-1 - POER CLUSTER МАСЛ. ЛИНИЯ ПРИВОДВАЛ¤ ДИФФЕРЕНЦ. И КОЛЕСА
FIT
1:1
100%

Артикул

Название

Примечание

Количество

|1

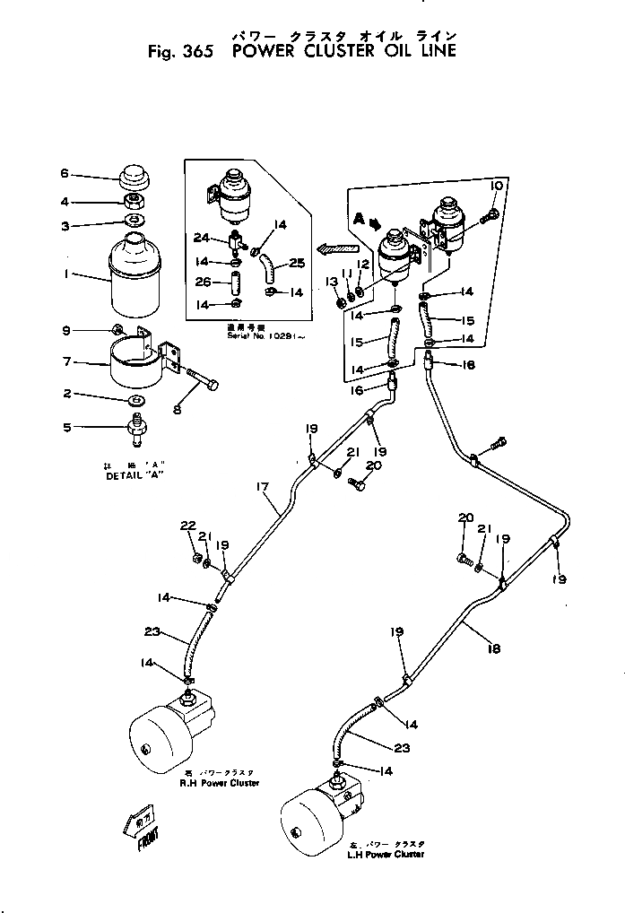
385-10193461

RESERVOIR ASS'Y

SN: 10291-UP

1шт.

|1

381-980316-4

RESERVOIR ASS'Y

SN: 10001-10290

2шт.

1

385-10061521

RESERVOIR

SN: 10001-UP

1шт.

2

385-10061561

O-RING

SN: 10001-UP

1шт.

3

385-10061551

WASHER

SN: 10001-UP

1шт.

4

01583-01610

NUT

SN: 10001-UP

1шт.

5

385-10193491

NIPPLE

SN: 10291-UP

1шт.

|5

385-10061571

NIPPLE

SN: 10001-10290

1шт.

6

385-10061511

CAP

SN: 10001-UP

1шт.

7

385-10061531

BRACKET

SN: 10001-UP

1шт.

8

01010-30650

BOLT

SN: 10001-UP

1шт.

9

01580-00605

NUT

SN: 10001-UP

1шт.

10

382-025493-1

BOLT

SN: 10001-UP

2шт.

11

384-0120634

WASHER

SN: 10001-UP

2шт.

12

382-025552-1

WASHER

SN: 10001-UP

2шт.

13

382-025520-1

NUT

SN: 10001-UP

2шт.

14

382-279025-1

CLAMP

SN: 10001-UP

8шт.

15

385-10014772

TUBE

SN: 10001-10290

2шт.

16

385-10004991

HOSE

SN: 10001-UP

2шт.

17

385-10051551

TUBE

SN: 10001-UP

1шт.

18

385-10051541

TUBE

SN: 10001-UP

1шт.

19

381-299404-1

CLIP

SN: 10001-UP

6шт.

20

382-024839-1

BOLT

SN: 10001-UP

5шт.

21

382-025553-1

WASHER

SN: 10001-UP

6шт.

22

382-025522-1

NUT

SN: 10001-UP

1шт.

23

381-985265-2

TUBE

SN: 10001-UP

2шт.

24

385-10193471

TEE

SN: 10291-UP

1шт.

25

381-975626-2

TUBE

SN: 10291-UP

1шт.

26

381-985265-2

TUBE

SN: 10291-UP

1шт.

Выбрано товаров: 29