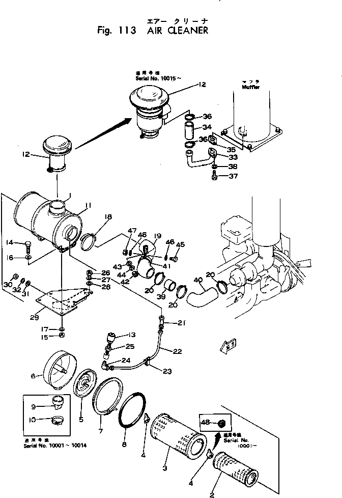
Запчасти Komatsu JH80C-1 ВОЗДУХООЧИСТИТЕЛЬ КОМПОНЕНТЫ ДВИГАТЕЛЯ И ЭЛЕКТРИКА

Схема запчастей Komatsu JH80C-1 - ВОЗДУХООЧИСТИТЕЛЬ КОМПОНЕНТЫ ДВИГАТЕЛЯ И ЭЛЕКТРИКА
FIT
1:1
100%

Артикул

Название

Примечание

Количество

|1

385-10100512

AIR CLEANER ASS'Y

SN: 10015-UP

1шт.

|1

381-982343-1

AIR CLEANER ASS'Y

SN: 10001-10014

1шт.

1

385-10087111

BODY ASS'Y

SN: 10015-UP

1шт.

|1

381-982810-1

BODY ASS'Y

SN: 10001-10014

1шт.

2

381-982811-1

ELEMENT

SN: 10001-UP

1шт.

3

381-982812-1

ELEMENT

SN: 10001-UP

1шт.

4

385-10155521

NUT,(WITH GASKET)

SN: .-UP

1шт.

|4

0

NUT,(WITH GASKET)

SN: 10015-.

2шт.

|4

0

NUT,(WITH GASKET)

SN: 10001-10014

2шт.

5

380-888401-1

BAFFLE ASS'Y

SN: 10001-UP

1шт.

6

380-888402-1

CAP ASS'Y

SN: 10015-UP

1шт.

|6

381-976327-1

CAP ASS'Y

SN: 10001-10014

1шт.

7

380-888403-1

CLAMP ASS'Y

SN: 10001-UP

1шт.

8

380-888404-1

O-RING

SN: 10001-UP

1шт.

9

380-213773-1

VALVE

SN: 10001-10014

1шт.

10

381-898918-1

CLAMP

SN: 10001-10014

1шт.

11

380-145720-1

BAND

SN: 10001-UP

2шт.

12

385-10100521

PRECLEANER

SN: 10015-UP

1шт.

|12

381-982367-1

PRECLEANER

SN: 10001-10014

1шт.

13

381-877601-1

INDICATOR

SN: 10001-UP

1шт.

14

382-024840-1

BOLT

SN: 10001-UP

4шт.

15

384-9413979

NUT

SN: 10015-UP

4шт.

16

380-WL16-000

WASHER

SN: 10001-10014

4шт.

17

382-025534-1

WASHER

SN: 10015-UP

4шт.

18

07281-11589

CLAMP

SN: 10001-UP

1шт.

19

385-10160981

HOSE

SN: 10001-UP

1шт.

20

382-422688-1

CLAMP

SN: 10001-UP

3шт.

21

380-182866-1

ELBOW

SN: 10001-UP

1шт.

22

380-889902-1

TUBE

SN: 10001-UP

1шт.

23

381-977324-1

CLAMP

SN: 10001-UP

1шт.

24

380-175775-1

ELBOW

SN: 10001-UP

1шт.

25

381-971896-1

NIPPLE

SN: 10001-UP

1шт.

26

01580-00806

NUT

SN: 10001-UP

2шт.

27

01602-00825

WASHER

SN: 10001-10014

2шт.

28

382-025552-1

WASHER

SN: 10001-UP

2шт.

29

385-10076993

BRACKET

SN: 10039-UP

1шт.

|29

0

BRACKET

SN: 10001-10038

1шт.

30

01582-01008

NUT

SN: 10001-UP

4шт.

31

382-025534-1

WASHER

SN: 10001-UP

4шт.

32

01602-01030

WASHER

SN: 10001-10014

4шт.

33

385-10100481

TUBE

SN: 10015-UP

1шт.

34

385-10100491

HOSE

SN: 10015-UP

1шт.

35

385-10100501

GASKET

SN: 10015-UP

1шт.

36

382-279026-1

CLAMP

SN: 10015-UP

2шт.

37

382-024840-1

BOLT

SN: 10015-UP

2шт.

38

382-025544-1

WASHER

SN: 10015-UP

2шт.

39

385-10160991

TUBE

SN: 10001-UP

1шт.

40

381-975697-1

HOSE

SN: 10001-UP

1шт.

41

385-10162401

CLAMP

SN: 10001-UP

1шт.

42

01580-00806

NUT

SN: 10001-UP

1шт.

43

01643-30823

WASHER

SN: 10001-UP

1шт.

44

01602-00825

WASHER

SN: 10001-UP

1шт.

45

382-024840-1

BOLT

SN: 10001-UP

1шт.

46

382-025553-1

WASHER

SN: 10001-UP

2шт.

47

382-025522-1

NUT

SN: 10001-UP

1шт.

48

385-10155601

NUT,(WITH GASKET)

SN: 10001-UP

1шт.

Выбрано товаров: 56