Запчасти Komatsu W20-1 РАДИАТОР И РЕШЕТКА КОМПОНЕНТЫ ДВИГАТЕЛЯ И ЭЛЕКТРИКА

Схема запчастей Komatsu W20-1 - РАДИАТОР И РЕШЕТКА КОМПОНЕНТЫ ДВИГАТЕЛЯ И ЭЛЕКТРИКА
FIT
1:1
100%

Артикул

Название

Примечание

Количество

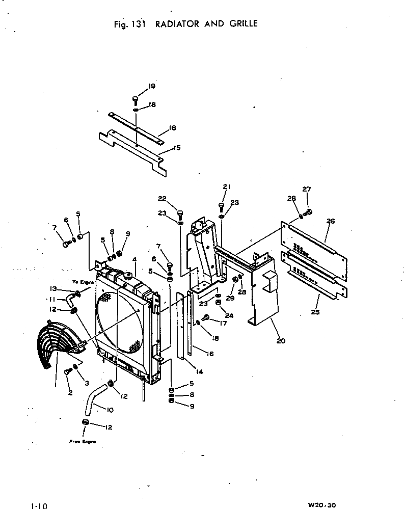
1

385-10132671

GUARD,FINGER

SN: 10001-UP

1шт.

2

01010-51020

BOLT

SN: 10001-UP

3шт.

3

01643-31032

WASHER

SN: 10001-UP

3шт.

4

385-10109451

RADIATOR ASS'Y

SN: 10001-UP

1шт.

5

385-10230091

CUSHION

SN: 10001-UP

8шт.

6

385-10103991

WASHER

SN: 10029-UP

4шт.

6

0

WASHER

SN: 10001-10028

4шт.

7

01010-51270

BOLT

SN: 10001-UP

4шт.

8

01643-31232

WASHER

SN: 10001-UP

4шт.

9

385-10163711

NUT

SN: 10001-UP

4шт.

10

385-10109492

HOSE,INLET

SN: .-UP

1шт.

10

0

HOSE,INLET

SN: 10001-.

1шт.

11

385-10109502

HOSE,OUTLET

SN: .-UP

1шт.

11

0

HOSE,OUTLET

SN: 10001-.

1шт.

12

382-279024-1

CLAMP,HOSE

SN: 10001-UP

3шт.

13

382-279027-1

CLAMP,HOSE

SN: 10001-UP

1шт.

14

385-10129661

PLATE,RUBBER

SN: 10001-UP

2шт.

15

385-10286381

PLATE,RUBBER

SN: 10001-UP

1шт.

16

385-10129681

PLATE

SN: 10001-UP

3шт.

17

01010-50825

BOLT

SN: 10001-UP

6шт.

18

01643-30823

WASHER

SN: 10001-UP

9шт.

19

01010-50816

BOLT

SN: 10001-UP

3шт.

20

385-10266711

GRILLE (WELDED)

SN: 10001-UP

1шт.

21

01010-51230

BOLT

SN: 10001-UP

2шт.

22

01010-51235

BOLT

SN: 10001-UP

2шт.

23

01643-31232

WASHER

SN: 10001-UP

6шт.

24

01580-11210

NUT

SN: 10001-UP

2шт.

25

385-10266841

PANEL,LOW

SN: 10001-UP

1шт.

26

385-10266851

PANEL,UPPER

SN: 10001-UP

1шт.

27

01010-51225

BOLT

SN: 10001-UP

8шт.

28

01643-31232

WASHER

SN: 10001-UP

10шт.

29

01580-11210

NUT

SN: 10001-UP

2шт.

Выбрано товаров: 32