Запчасти Komatsu W20-1 ТОПЛ. БАК И ТОПЛИВОПРОВОД КОМПОНЕНТЫ ДВИГАТЕЛЯ И ЭЛЕКТРИКА

Схема запчастей Komatsu W20-1 - ТОПЛ. БАК И ТОПЛИВОПРОВОД КОМПОНЕНТЫ ДВИГАТЕЛЯ И ЭЛЕКТРИКА
FIT
1:1
100%

Артикул

Название

Примечание

Количество

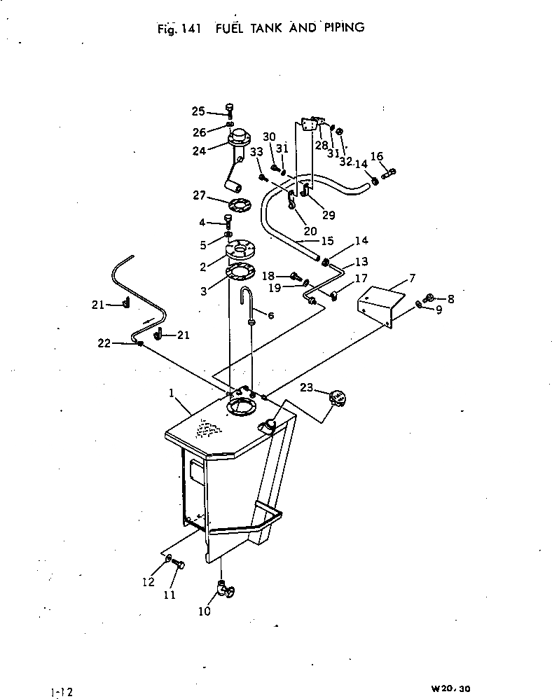
1

385-10230191

TANK,FUEL

SN: 10001-UP

1шт.

2

381-986109-4

FLANGE

SN: 10001-UP

1шт.

3

381-986022-2

GASKET

SN: 10001-UP

1шт.

4

01010-51025

BOLT

SN: 10001-UP

6шт.

5

07005-01012

GASKET

SN: 10001-UP

6шт.

6

385-10138571

TUBE

SN: 10001-UP

1шт.

6

07201-50614

NUT,SLEEVE

SN: 10001-UP

1шт.

7

385-10154591

COVER,L.H.

SN: 10001-UP

1шт.

8

01010-51220

BOLT

SN: 10001-UP

2шт.

9

01643-31232

WASHER

SN: 10001-UP

2шт.

10

385-10051171

VALVE,DRAIN

SN: 10001-UP

1шт.

11

01010-51225

BOLT

SN: 10001-UP

1шт.

12

01643-31232

WASHER

SN: 10001-UP

1шт.

13

385-10123751

TUBE,SUCTION

SN: 10001-UP

1шт.

13

07201-51020

NUT,SLEEVE

SN: 10001-UP

1шт.

14

382-279025-1

CLAMP,HOSE

SN: 10001-UP

2шт.

15

07260-20990

HOSE

SN: 10001-UP

1шт.

16

385-10123782

JOINT,EYE, WITH TUBE

SN: 10001-UP

1шт.

17

381-299407-1

CLAMP

SN: 10001-UP

1шт.

18

01010-51016

BOLT

SN: 10001-UP

1шт.

19

01643-31032

WASHER

SN: 10001-UP

1шт.

20

381-970793-1

CLIP

SN: 10001-UP

1шт.

21

381-935522-1

STRAP

SN: 10001-UP

2шт.

22

07280-00810

CLAMP

SN: 10001-UP

1шт.

23

385-10230171

CAP,FUEL

SN: 10001-UP

1шт.

24

385-10193442

GAUGE,FUEL

SN: .-UP

1шт.

24

0

TANK UNIT,FUEL

SN: 10001-.

1шт.

25

380-132226-1

BOLT

SN: 10001-UP

5шт.

26

01601-00513

WASHER,SPRING

SN: 10001-UP

5шт.

27

385-10191931

GASKET

SN: 10001-UP

1шт.

28

385-10302351

SUPPORT

SN: 10001-UP

1шт.

29

381-977318-1

CLIP

SN: 10001-UP

1шт.

30

01010-50816

BOLT

SN: 10001-UP

1шт.

31

01643-30823

WASHER

SN: 10001-UP

2шт.

32

01580-10806

NUT

SN: 10001-UP

1шт.

33

01010-30820

BOLT

SN: 10001-UP

2шт.

Выбрано товаров: 36