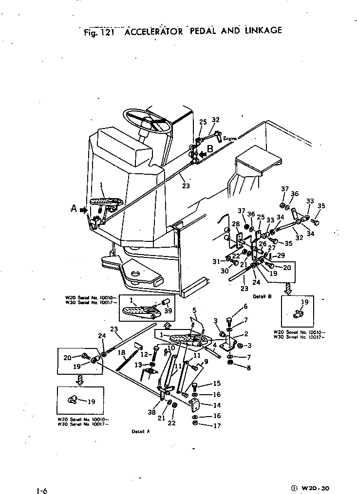
Запчасти Komatsu W30-1 ПЕДАЛЬ АКСЕЛЕРАТОРАAND МЕХАНИЗМ КОМПОНЕНТЫ ДВИГАТЕЛЯ И ЭЛЕКТРИКА

Схема запчастей Komatsu W30-1 - ПЕДАЛЬ АКСЕЛЕРАТОРАAND МЕХАНИЗМ КОМПОНЕНТЫ ДВИГАТЕЛЯ И ЭЛЕКТРИКА
FIT
1:1
100%

Артикул

Название

Примечание

Количество

|$0

385-10385611

PEDAL ASS'Y

SN: 10017-UP

1шт.

|$1

385-10246791

PEDAL ASS'Y

SN: 10001-10016

1шт.

1

385-10385621

PEDAL

SN: 10017-UP

1шт.

1

385-10246801

PEDAL

SN: 10001-10016

1шт.

2

381-975746-2

HINGE

SN: 10017-UP

1шт.

2

0

HINGE

SN: 10001-10016

1шт.

3

382-370686-1

BUSHING

SN: 10001-UP

2шт.

4

380-178171-1

PIN

SN: 10001-UP

1шт.

5

380-143606-1

PIN,ROLL

SN: 10001-UP

1шт.

6

01010-50625

BOLT

SN: 10001-UP

2шт.

7

01643-30623

WASHER

SN: 10001-UP

4шт.

8

01580-10605

NUT

SN: 10001-UP

2шт.

9

384-0138083

PIN

SN: 10001-UP

2шт.

10

384-0103361

PIN,COTTER

SN: 10001-UP

2шт.

11

385-10230071

BAR

SN: 10001-UP

2шт.

12

385-10130311

BOLT

SN: 10001-UP

1шт.

13

01580-11008

NUT

SN: 10001-UP

1шт.

14

385-10230081

SUPPORT

SN: 10001-UP

1шт.

15

01010-50625

BOLT

SN: 10001-UP

2шт.

16

01643-30623

WASHER

SN: 10001-UP

4шт.

17

01580-10605

NUT

SN: 10001-UP

2шт.

18

380-119059-1

SPRING,RETURN

SN: 10001-UP

1шт.

19

385-10360861

JOINT,ROD

SN: 10017-UP

2шт.

19

385-10130131

END,ROD

SN: 10001-10016

2шт.

20

01010-50830

BOLT

SN: 10001-10016

2шт.

21

01643-30823

WASHER

SN: 10001-UP

2шт.

22

385-10163701

NUT

SN: 10001-UP

2шт.

23

385-10161861

ROD

SN: 10001-UP

1шт.

24

01580-10806

NUT

SN: 10001-UP

2шт.

|$29

385-10360871

BELLCRANK ASS'Y

SN: 10017-UP

1шт.

|$30

385-10151021

BELLCRANK ASS'Y

SN: 10001-10016

1шт.

25

0

BELLCRANK

SN: 10001-UP

1шт.

26

380-885064-1

BUSHING

SN: 10001-UP

1шт.

27

382-025534-1

WASHER

SN: 10001-UP

1шт.

28

385-10204241

SUPPORT,BELLCRANK

SN: 10001-UP

1шт.

29

384-0103373

PIN,COTTER

SN: 10001-UP

1шт.

30

01010-51020

BOLT

SN: 10001-UP

2шт.

31

01643-31032

WASHER

SN: 10001-UP

2шт.

32

385-10151061

ROD

SN: 10001-UP

1шт.

33

385-10130121

END,ROD

SN: 10001-UP

2шт.

34

01580-10605

NUT

SN: 10001-UP

2шт.

35

01010-50625

BOLT

SN: 10001-UP

2шт.

36

01643-30623

WASHER

SN: 10001-UP

2шт.

37

385-10163691

NUT

SN: 10001-UP

2шт.

38

385-10230061

BELLCRANK

SN: 10001-UP

1шт.

39

385-10385651

HOSE

SN: 10017-UP

1шт.

Выбрано товаров: 0