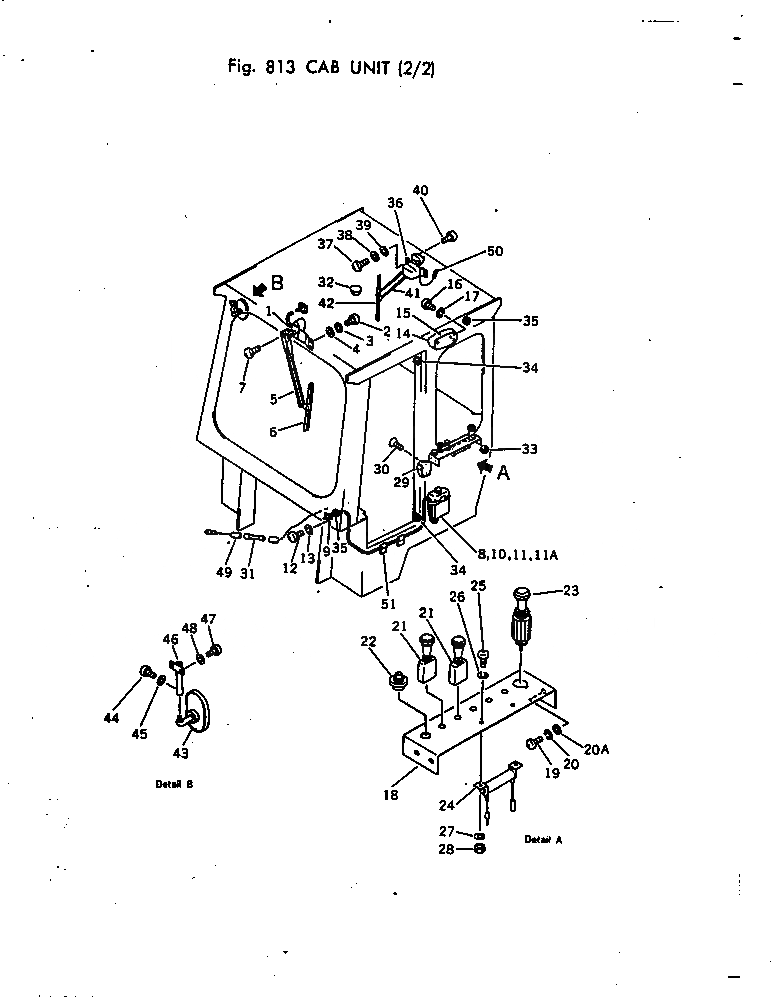
Запчасти Komatsu W30-1 КАБИНА БЛОК (/) ОПЦИОННЫЕ КОМПОНЕНТЫ

Схема запчастей Komatsu W30-1 - КАБИНА БЛОК (/) ОПЦИОННЫЕ КОМПОНЕНТЫ
FIT
1:1
100%

Артикул

Название

Примечание

Количество

|$0

385-10476371

CAB KIT

SN: 10001-UP

1шт.

|$$2

THIS ASSEMBLY CONSISTS OF ALL PARTS SHOWN IN FIGS.811 TO 814.

-1шт.

|$2

385-10476341

CAB ASS'Y

SN: 10001-UP

1шт.

1

385-10473921

MOTOR,WIPER

SN: 10001-UP

1шт.

2

01220-40516

SCREW

SN: 10001-UP

3шт.

3

01601-20513

WASHER,SPRING

SN: 10001-UP

3шт.

4

01641-20508

WASHER

SN: 10001-UP

3шт.

5

385-10452711

ARM,WIPER

SN: 10001-UP

1шт.

6

385-10171901

BLADE,WIPER

SN: 10001-UP

1шт.

7

01220-40520

SCREW

SN: 10001-UP

1шт.

8

385-10476001

WASHER,WINDSHIELD

SN: 10001-UP

1шт.

9

385-10404071

PLATE,WASHER NOZZLE

SN: 10001-UP

1шт.

10

01220-40612

SCREW

SN: 10001-UP

2шт.

11

01602-20619

WASHER,SPRING

SN: 10001-UP

2шт.

11A

01643-30623

WASHER

SN: 10001-UP

2шт.

12

01220-40512

SCREW

SN: 10001-UP

2шт.

13

01601-20513

WASHER,SPRING

SN: 10001-UP

2шт.

14

08141-02400

LAMP,ROOM

SN: 10001-UP

1шт.

15

08116-02410

BULB, 10W

SN: 10001-UP

1шт.

16

01220-40512

SCREW

SN: 10001-UP

2шт.

17

01601-20410

WASHER,SPRING

SN: 10001-UP

2шт.

18

385-10473901

PANEL,SWITCH

SN: 10001-UP

1шт.

19

01220-40616

SCREW

SN: 10001-UP

3шт.

20

01602-20619

WASHER,SPRING

SN: 10001-UP

3шт.

20A

01641-20608

WASHER

SN: 10001-UP

3шт.

21

381-971390-1

SWITCH,WIPER

SN: 10001-UP

2шт.

22

385-10216161

SWITCH,WASHER

SN: 10001-UP

1шт.

23

385-10395351

LIGHTER,CIGAR

SN: 10001-UP

1шт.

24

385-10393991

RESISTOR

SN: 10001-UP

1шт.

25

01220-40512

SCREW

SN: 10001-UP

2шт.

26

01601-20513

WASHER

SN: 10001-UP

2шт.

27

01641-20508

WASHER

SN: 10001-UP

2шт.

28

01580-10504

NUT

SN: 10001-UP

2шт.

29

385-10394331

ASHTRAY

SN: 10001-UP

1шт.

30

01224-40412

SCREW

SN: 10001-UP

3шт.

31

08040-03000

FUSE, 30A

SN: 10001-UP

1шт.

32

09415-01008

CAP

SN: 10001-UP

1шт.

33

08037-02512

GROMMET

SN: 10001-UP

1шт.

34

385-10152731

GROMMET

SN: 10001-UP

2шт.

35

08037-01008

GROMMET

SN: 10001-UP

2шт.

36

385-10473931

MOTOR,WIPER

SN: 10001-UP

1шт.

37

01220-40516

SCREW

SN: 10001-UP

6шт.

38

01602-20513

WASHER,SPRING

SN: 10001-UP

6шт.

39

01641-20508

WASHER

SN: 10001-UP

6шт.

40

01220-40520

SCREW

SN: 10001-UP

1шт.

41

08184-01500

ARM

SN: 10001-UP

1шт.

42

08185-00400

BLADE

SN: 10001-UP

1шт.

43

385-10313461

MIRROR,ROOM

SN: 10001-UP

1шт.

44

01220-40616

SCREW

SN: 10001-UP

1шт.

45

01602-20619

WASHER,SPRING

SN: 10001-UP

1шт.

46

385-10476041

STAY,ROOM MIRROR

SN: 10001-UP

1шт.

47

01220-40616

SCREW

SN: 10001-UP

2шт.

48

01602-20619

WASHER,SPRING

SN: 10001-UP

2шт.

49

385-10415331

HARNESS,FUSE

SN: 10001-UP

1шт.

50

385-10011891

WIRE,EARTH

SN: 10001-UP

1шт.

51

385-10403701

CLIP

SN: 10001-UP

35шт.

Выбрано товаров: 56