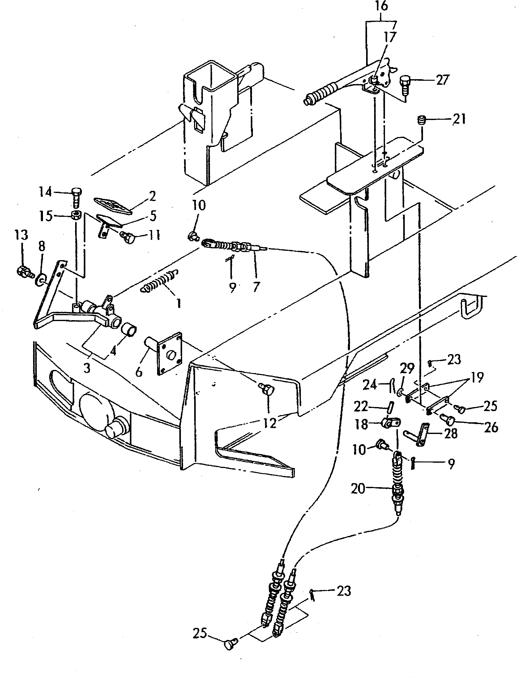
Запчасти Komatsu WA10-1 РЫЧАГ СТОЯНОЧНОГО ТОРМОЗА И МЕХАНИЗМ РУЛЕВ. УПРАВЛЕНИЕ И СИСТЕМА УПРАВЛЕНИЯ

Схема запчастей Komatsu WA10-1 - РЫЧАГ СТОЯНОЧНОГО ТОРМОЗА И МЕХАНИЗМ РУЛЕВ. УПРАВЛЕНИЕ И СИСТЕМА УПРАВЛЕНИЯ
FIT
1:1
100%

Артикул

Название

Примечание

Количество

1

YM194145-37512

SPRING

SN: 10001-UP

1шт.

2

YM172734-42220

PAD,PEDAL

SN: 10001-UP

1шт.

3

YM172519-42400

PEDAL ASS'Y

SN: 10001-UP

1шт.

4

YM24550-025250

BUSHING,DRIVE

SN: 10001-UP

2шт.

5

YM172519-42460

HEAD

SN: 10001-UP

1шт.

6

YM172519-42480

BRACKET

SN: 10001-UP

1шт.

7

YM172519-42510

CABLE

SN: 10001-UP

1шт.

8

YM22157-120000

WASHER

SN: 10001-UP

1шт.

9

YM22417-200160

PIN,COTTER

SN: 10001-UP

2шт.

10

YM22486-080160

PIN

SN: 10001-UP

2шт.

11

YM26013-100202

BOLT

SN: 10001-UP

2шт.

12

YM26013-100202

BOLT

SN: 10001-UP

4шт.

13

YM26013-120202

BOLT

SN: 10001-UP

1шт.

14

YM26116-100402

BOLT

SN: 10001-UP

1шт.

15

YM26716-100002

NUT

SN: 10001-UP

1шт.

16

YM172512-42500

LEVER,PARKING

SN: 10001-UP

1шт.

17

YM172512-42650

SWITCH SET,PARKING LAMP

SN: 10001-UP

1шт.

18

YM172519-42630

LINK

SN: 10001-UP

1шт.

19

YM172519-42650

PLATE

SN: 10001-UP

2шт.

20

YM172519-42660

CABLE

SN: 10001-UP

1шт.

21

YM172212-65120

GROMMET

SN: 10001-UP

1шт.

22

YM22351-060025

PIN,SPRING

SN: 10001-UP

1шт.

23

YM22417-200160

PIN,COTTER

SN: 10001-UP

3шт.

24

YM22417-250250

PIN,COTTER

SN: 10001-UP

1шт.

25

YM22486-080160

PIN

SN: 10001-UP

3шт.

26

YM172725-23400

PIN

SN: 10001-UP

1шт.

27

YM26013-080202

BOLT

SN: 10001-UP

2шт.

28

YM172519-42600

PIN

SN: 10001-UP

1шт.

29

YM22117-120000

WASHER

SN: 10001-UP

1шт.

Выбрано товаров: 29