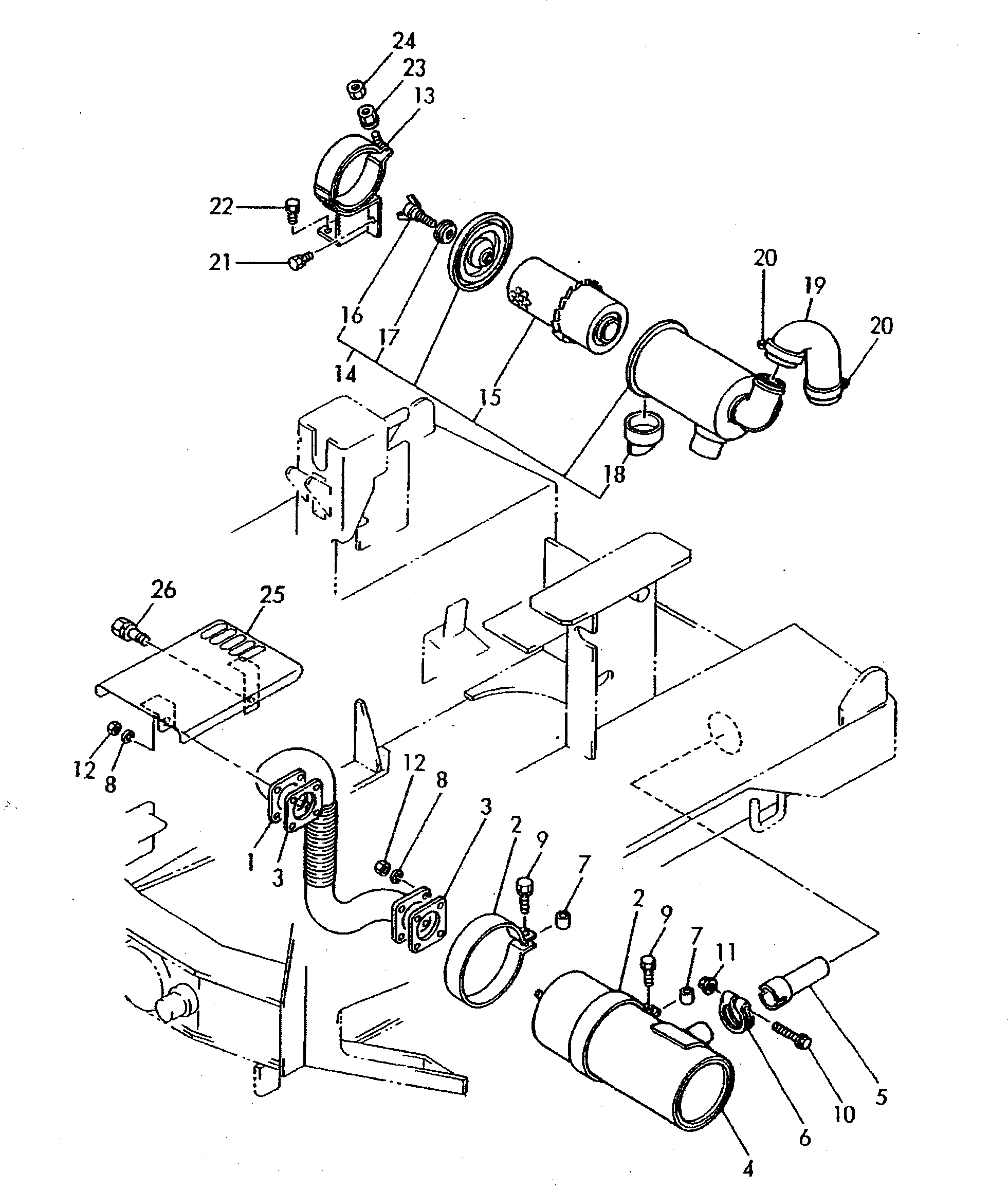
Запчасти Komatsu WA10-1 ВОЗДУХООЧИСТИТЕЛЬ И ГЛУШИТЕЛЬ КОМПОНЕНТЫ ДВИГАТЕЛЯ И ЭЛЕКТРИКА

Схема запчастей Komatsu WA10-1 - ВОЗДУХООЧИСТИТЕЛЬ И ГЛУШИТЕЛЬ КОМПОНЕНТЫ ДВИГАТЕЛЯ И ЭЛЕКТРИКА
FIT
1:1
100%

Артикул

Название

Примечание

Количество

1

YM172519-11300

TUBE,EXHAUST

SN: 10001-UP

1шт.

2

YM172519-11350

BAND

SN: 10001-UP

2шт.

3

YM124701-11911

GASKET

SN: 10001-UP

2шт.

4

YM119230-13500

SILENCER

SN: 10001-UP

1шт.

5

YM119230-13570

PIPE,SILENCER

SN: 10001-UP

1шт.

6

YM172168-11310

CLAMP

SN: 10001-UP

1шт.

7

YM172739-78180

SPACER

SN: 10001-UP

2шт.

8

YM22217-080000

WASHER,SPRING

SN: 10001-UP

8шт.

9

YM26013-100402

BOLT

SN: 10001-UP

2шт.

10

YM26106-080552

BOLT

SN: 10001-UP

1шт.

11

YM26366-080002

NUT

SN: 10001-UP

1шт.

12

YM26716-080002

NUT

SN: 10001-UP

8шт.

13

YM172519-11500

SUPPORT,AIR CLEANER

SN: 10001-UP

1шт.

14

YM119230-12500

AIR CLEANER ASS'Y

SN: 10001-UP

1шт.

15

YM119860-12510

ELEMENT

SN: 10001-UP

1шт.

16

YM119860-12550

BOLT,WING

SN: 10001-UP

1шт.

17

YM119860-12560

WASHER,SEAL

SN: 10001-UP

1шт.

18

YM129150-12520

TUBE

SN: 10001-UP

1шт.

19

YM119230-12550

TUBE

SN: 10001-UP

1шт.

20

YM23000-060000

CLAMP

SN: 10001-UP

2шт.

21

YM26013-060162

BOLT

SN: 10001-UP

1шт.

22

YM26013-100202

BOLT

SN: 10001-UP

2шт.

23

YM26366-080002

NUT

SN: 10001-UP

1шт.

24

YM26716-080002

NUT

SN: 10001-UP

1шт.

25

YM172519-11380

COVER

SN: 10001-UP

1шт.

26

YM26013-080122

BOLT

SN: 10001-UP

1шт.

Выбрано товаров: 26