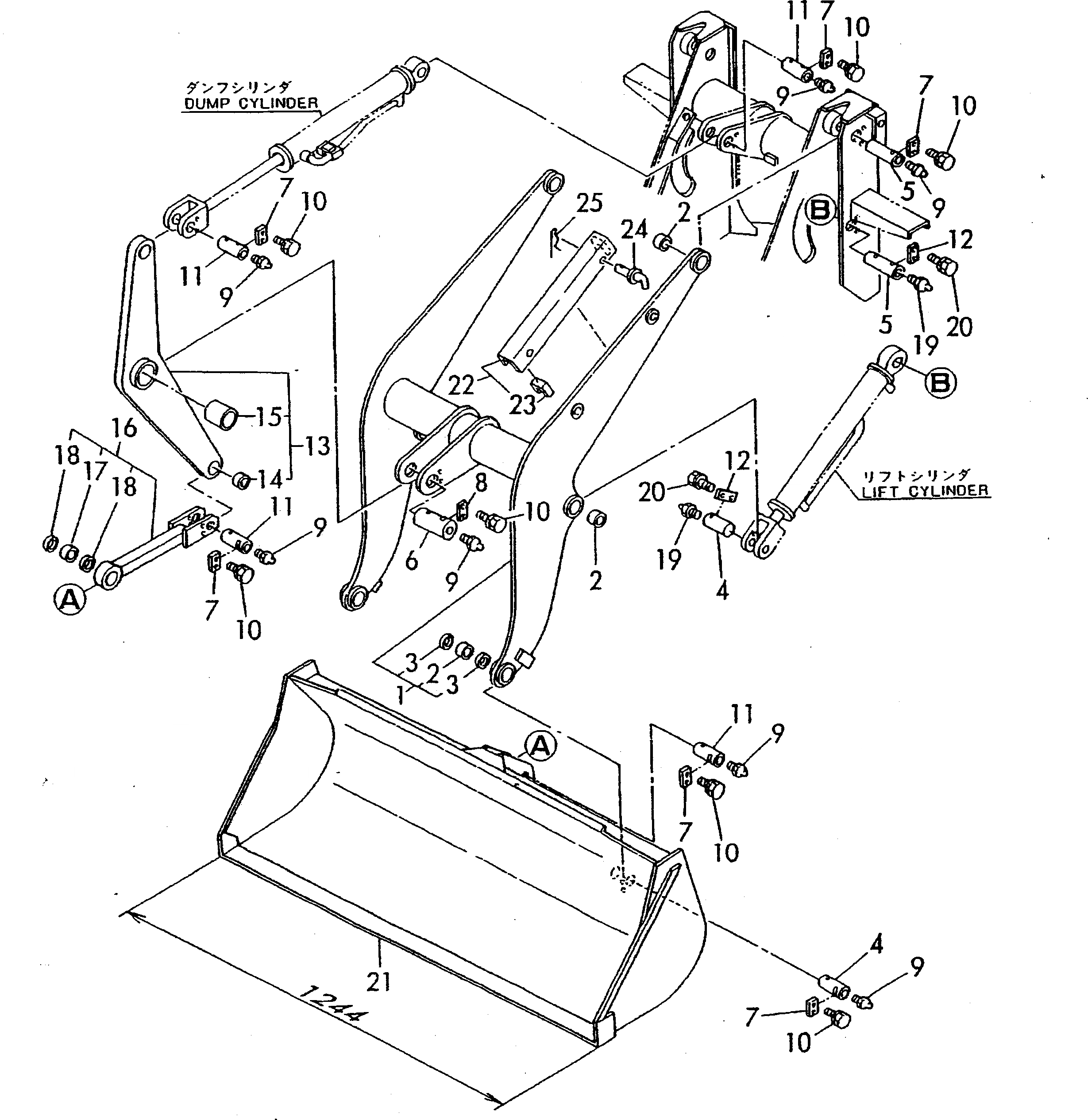
Запчасти Komatsu WA10-1 РУКОЯТЬ И КОВШ (.M) РАБОЧЕЕ ОБОРУДОВАНИЕ

Схема запчастей Komatsu WA10-1 - РУКОЯТЬ И КОВШ (.M) РАБОЧЕЕ ОБОРУДОВАНИЕ
FIT
1:1
100%

Артикул

Название

Примечание

Количество

1

YM172519-91100

LIFT ARM ASS'Y,GRAY-25 (YM172519-91100-1)

SN: 10001-UP

1шт.

2

YM172519-91180

BUSHING

SN: 10001-UP

6шт.

3

YM172519-91190

SEAL,DUST

SN: 10001-UP

4шт.

4

YM172519-91200

PIN

SN: 10001-UP

4шт.

5

YM172519-91210

PIN

SN: 10001-UP

4шт.

6

YM172519-91220

PIN

SN: 10001-UP

1шт.

7

YM172519-91230

PLATE,PIN LOCK

SN: 10001-UP

8шт.

8

YM172519-91340

PLATE,PIN LOCK

SN: 10001-UP

1шт.

9

YM24761-020000

FITTING,GREASE

SN: 10001-UP

9шт.

10

YM26013-080162

BOLT

SN: 10001-UP

18шт.

11

YM172519-91200

PIN

SN: 10001-UP

4шт.

12

YM172519-91230

PLATE

SN: 10001-UP

4шт.

13

YM172519-91240

BELLCRANK ASS'Y,GRAY-25 (YM172519-91240-1)

SN: 10001-UP

1шт.

14

YM172519-91180

BUSHING

SN: 10001-UP

2шт.

15

YM172142-72850

BUSHING,PIN

SN: 10001-UP

1шт.

16

YM172519-91290

LINK ASS'Y,GRAY-25 (YM172519-91290-1)

SN: 10001-UP

1шт.

17

YM172519-91180

BUSHING

SN: 10001-UP

1шт.

18

YM172519-91190

SEAL,DUST

SN: 10001-UP

2шт.

19

YM24761-020000

FITTING,GREASE

SN: 10001-UP

4шт.

20

YM26013-080162

BOLT

SN: 10001-UP

8шт.

21

YM172519-91400

BUCKET ASS'Y¤ 0.16M3,YELLOW-25 (YM172519-91400-1)

SN: 10001-UP

1шт.

22

YM172519-45800

LOCK ASS'Y,LIFT ARM

SN: 10001-UP

1шт.

23

YM172519-45820

RUBBER

SN: 10001-UP

2шт.

24

YM172519-45830

PIN,LIFT ARM LOCK

SN: 10001-UP

2шт.

25

YM22372-100000

PIN,SNAP

SN: 10001-UP

2шт.

Выбрано товаров: 25