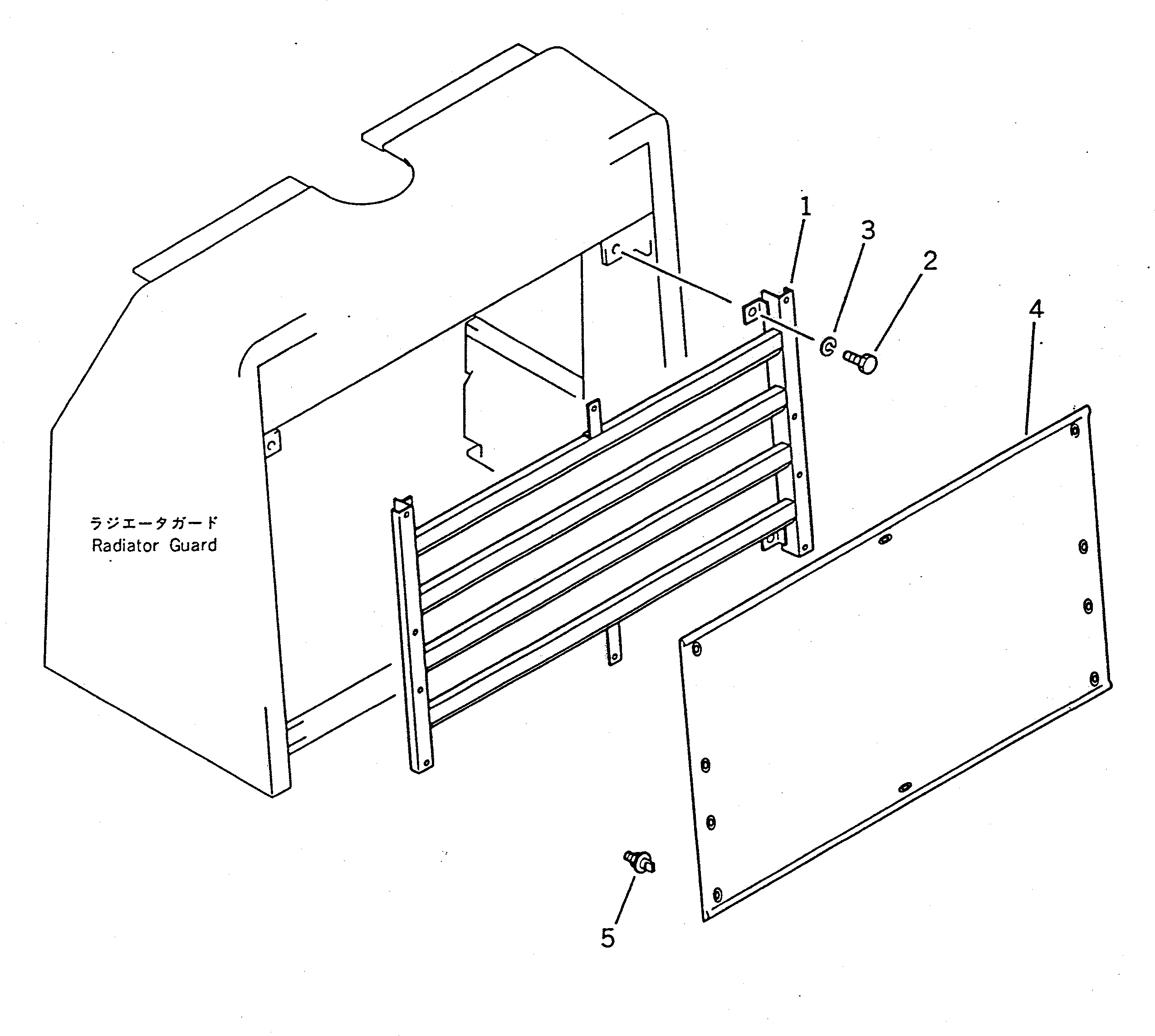
Запчасти Komatsu WA100-1 ЗАСЛОНКА РАДИАТОРА(№-9999) РАМА И ЧАСТИ КОРПУСА

Схема запчастей Komatsu WA100-1 - ЗАСЛОНКА РАДИАТОРА(№-9999) РАМА И ЧАСТИ КОРПУСА
FIT
1:1
100%

Артикул

Название

Примечание

Количество

1

416-U42-1110

GRILL,(MODIFIED PART)

SN: 10001-19999

1шт.

2

01010-51220

BOLT

SN: 10001-19999

4шт.

3

01602-01236

WASHER,SPRING

SN: 10001-19999

4шт.

4

416-U42-1211

SHUTTER

SN: 10001-19999

1шт.

5

416-U42-1220

HOOK

SN: 10001-19999

10шт.

Выбрано товаров: 5