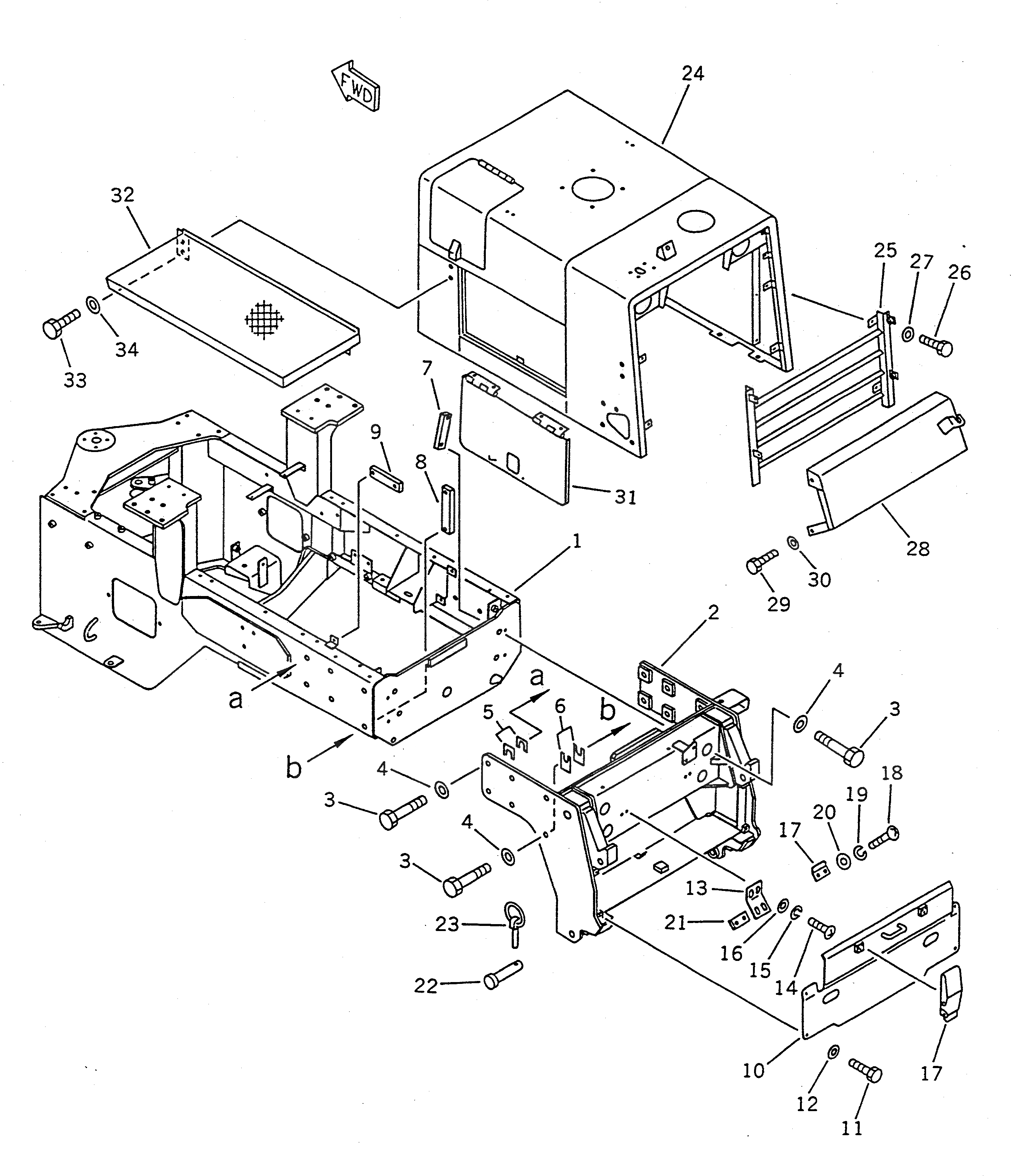
Запчасти Komatsu WA100-1 BACK HOE ЭЛЕМЕНТЫ КРЕПЛЕНИЯ (/)(№-) РАМА И ЧАСТИ КОРПУСА

Схема запчастей Komatsu WA100-1 - BACK HOE ЭЛЕМЕНТЫ КРЕПЛЕНИЯ (/)(№-) РАМА И ЧАСТИ КОРПУСА
FIT
1:1
100%

Артикул

Название

Примечание

Количество

1

416-855-1972

FRAME,REAR (MODIFIED PART)

SN: 20001-UP

1шт.

2

416-855-1113

ADAPTER

SN: 10001-UP

1шт.

3

01010-32485

BOLT

SN: 10001-UP

16шт.

4

01643-32460

WASHER

SN: 10001-UP

16шт.

5

416-855-1190

SHIM, 0.5MM

SN: 10001-UP

30шт.

5

416-855-1180

SHIM, 3.2MM

SN: 10001-UP

10шт.

6

416-855-1930

SHIM, 0.5MM

SN: 10001-UP

6шт.

6

416-855-1920

SHIM, 3.2MM

SN: 10001-UP

2шт.

7

416-855-1150

SEAT

SN: 10001-UP

2шт.

8

416-855-1130

SEAT

SN: 10001-UP

2шт.

9

416-855-1140

SEAT

SN: 10001-UP

4шт.

10

416-855-1122

COVER

SN: 10001-UP

1шт.

11

01010-51220

BOLT

SN: 10001-UP

7шт.

12

01643-31232

WASHER

SN: 10001-UP

7шт.

13

416-855-1281

PLATE

SN: 10001-UP

2шт.

14

01220-40410

SCREW

SN: 10001-UP

4шт.

15

01601-20410

WASHER,SPRING

SN: 10001-UP

4шт.

16

01641-20405

WASHER

SN: 10001-UP

4шт.

17

424-09-12490

HOLDER,L.H.

SN: 20001-UP

1шт.

18

421-09-12320

HOLDER,R.H.

SN: 20001-UP

1шт.

19

01220-40408

SCREW

SN: 10001-UP

10шт.

20

01601-20410

WASHER,SPRING

SN: 10001-UP

10шт.

21

01641-20405

WASHER

SN: 10001-UP

10шт.

22

416-855-1670

SEAT

SN: 20001-UP

2шт.

23

416-855-1160

PIN

SN: 10001-UP

2шт.

24

421-46-12740

PIN,LINCH

SN: 10001-UP

2шт.

25

416-855-2710

HOOD,(MODIFIED PARTS)

SN: 20001-UP

1шт.

26

416-855-2750

GRILLE,(MODIFIED PARTS)

SN: 20001-UP

2шт.

27

01010-51220

BOLT

SN: 10001-UP

4шт.

28

01643-31232

WASHER

SN: 10001-UP

4шт.

29

416-855-1224

COVER

SN: 20001-UP

1шт.

30

01010-51220

BOLT

SN: 20001-UP

4шт.

31

01643-31232

WASHER

SN: 20001-UP

4шт.

32

416-855-1491

DOOR,R.H. (MODIFIED PARTS)

SN: 20001-UP

1шт.

33

416-855-1212

STEP

SN: 20001-UP

1шт.

34

01010-51230

BOLT

SN: 10001-UP

4шт.

35

01643-31232

WASHER

SN: 10001-UP

4шт.

Выбрано товаров: 37