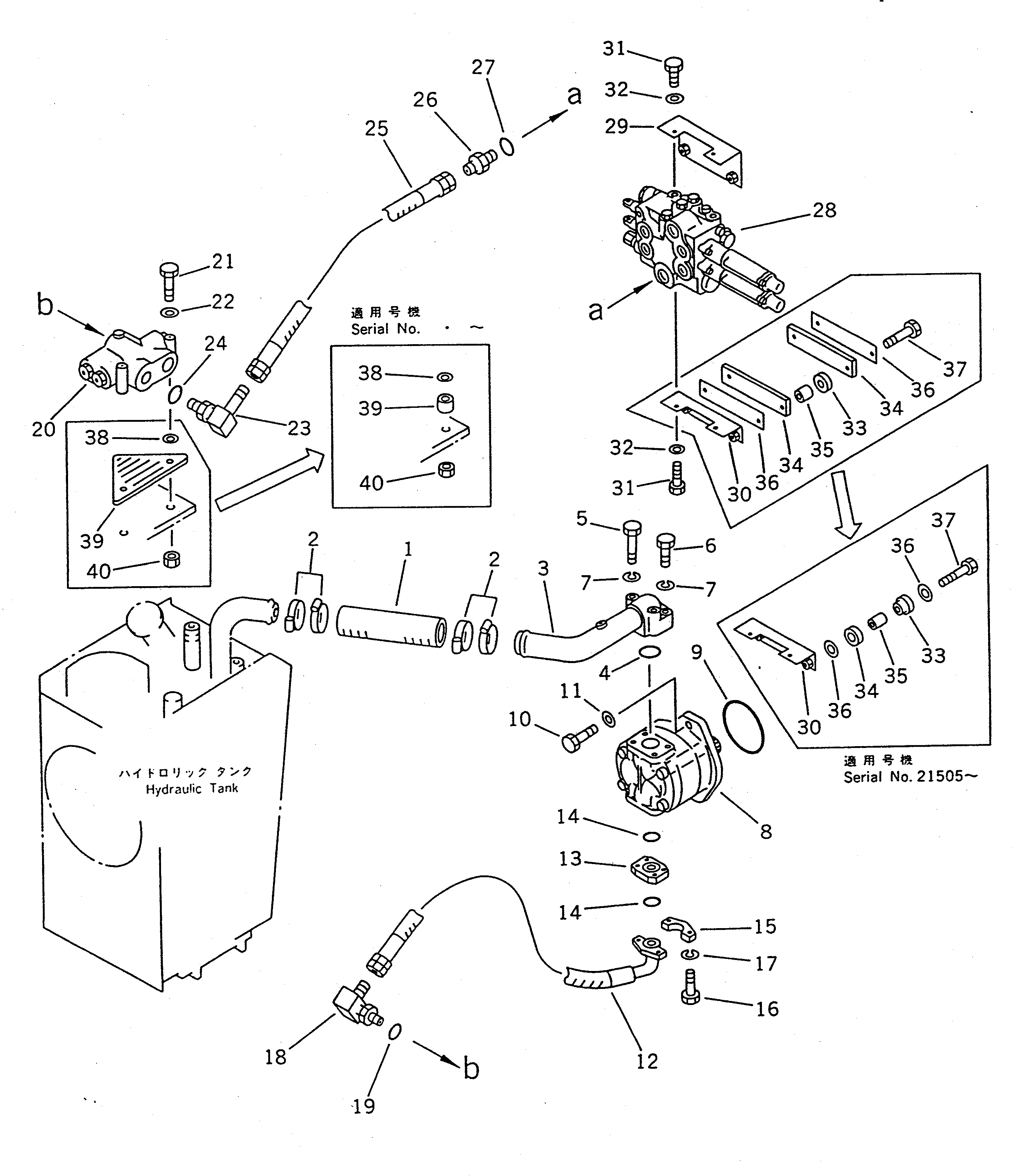
Запчасти Komatsu WA100-1 ГИДРОЛИНИЯ (/)(№-) УПРАВЛ-Е РАБОЧИМ ОБОРУДОВАНИЕМ

Схема запчастей Komatsu WA100-1 - ГИДРОЛИНИЯ (/)(№-) УПРАВЛ-Е РАБОЧИМ ОБОРУДОВАНИЕМ
FIT
1:1
100%

Артикул

Название

Примечание

Количество

1

07260-04120

HOSE

SN: 10001-UP

1шт.

2

07281-00609

CLAMP

SN: 10001-UP

4шт.

3

416-62-13114

TUBE

SN: .-UP

1шт.

4

07000-13040

O-RING

SN: 10001-UP

1шт.

5

01010-31070

BOLT

SN: 10001-UP

2шт.

6

01010-31050

BOLT

SN: 10001-UP

2шт.

7

01602-21030

WASHER,SPRING

SN: 10001-UP

4шт.

8

705-11-33011

PUMP ASS'Y

SN: 10001-UP

1шт.

9

07000-02105

O-RING

SN: 10001-UP

1шт.

10

01010-31235

BOLT

SN: 10001-UP

2шт.

11

01643-31232

WASHER

SN: 10001-UP

2шт.

12

416-62-13411

HOSE, 560MM

SN: 20001-UP

1шт.

13

07373-00600

SPACER

SN: 10001-UP

1шт.

14

07000-13025

O-RING

SN: 20001-UP

2шт.

15

07371-30638

FLANGE

SN: 20001-UP

2шт.

16

01010-30835

BOLT

SN: 20001-UP

4шт.

17

01602-20825

WASHER,SPRING

SN: 20001-UP

4шт.

18

416-62-13420

ELBOW

SN: 20001-UP

1шт.

19

416-62-13450

O-RING

SN: 20001-UP

1шт.

20

416-64-15200

VALVE ASS'Y,PRIORITY

SN: 20001-UP

1шт.

21

01010-30880

BOLT

SN: 20001-UP

2шт.

22

01643-30823

WASHER

SN: 20001-UP

2шт.

23

416-62-13650

ELBOW

SN: 20001-UP

1шт.

24

416-62-13450

O-RING

SN: 20001-UP

1шт.

25

416-62-13442

HOSE

SN: 20001-UP

1шт.

26

07230-11034

UNION

SN: 10001-UP

1шт.

27

07002-13334

O-RING

SN: 10001-UP

1шт.

28

700-82-31002

VALVE ASS'Y

SN: 20971-UP

1шт.

28

0

VALVE ASS'Y

SN: 10001-20970

1шт.

29

417-64-13114

BRACKET

SN: 10001-UP

1шт.

30

417-64-13123

BRACKET

SN: 10001-UP

1шт.

31

01010-31025

BOLT

SN: 10001-UP

4шт.

32

01643-31032

WASHER

SN: 10001-UP

4шт.

33

419-43-17930

CUSHION

SN: 21505-UP

4шт.

33

417-64-13160

CUSHION

SN: 10001-21504

4шт.

34

417-62-13620

CUSHION

SN: 21505-UP

4шт.

34

417-64-13150

CUSHION

SN: 10001-21504

4шт.

35

417-62-14130

SPACER

SN: 21505-UP

4шт.

35

0

SPACER

SN: 10001-21504

4шт.

36

419-43-17920

WASHER

SN: 21505-UP

8шт.

36

417-64-13140

PLATE

SN: 10001-21504

4шт.

37

01010-31250

BOLT

SN: 10001-UP

4шт.

38

416-64-15640

WASHER

SN: .-UP

2шт.

38

416-64-15620

WASHER

SN: 20001-.

2шт.

39

416-64-15630

CUSHION

SN: .-UP

2шт.

39

416-64-15610

CUSHION

SN: 20001-.

2шт.

40

426-09-11140

NUT

SN: .-UP

2шт.

40

01580-00806

NUT

SN: 20001-.

2шт.

Выбрано товаров: 48