Запчасти Komatsu WA100-1 ГИДРОЛИНИЯ (ДЛЯ ПЕРЕДН. НАВЕСН. ОБОРУД) (/)(№-) УПРАВЛ-Е РАБОЧИМ ОБОРУДОВАНИЕМ

Схема запчастей Komatsu WA100-1 - ГИДРОЛИНИЯ (ДЛЯ ПЕРЕДН. НАВЕСН. ОБОРУД) (/)(№-) УПРАВЛ-Е РАБОЧИМ ОБОРУДОВАНИЕМ
FIT
1:1
100%

Артикул

Название

Примечание

Количество

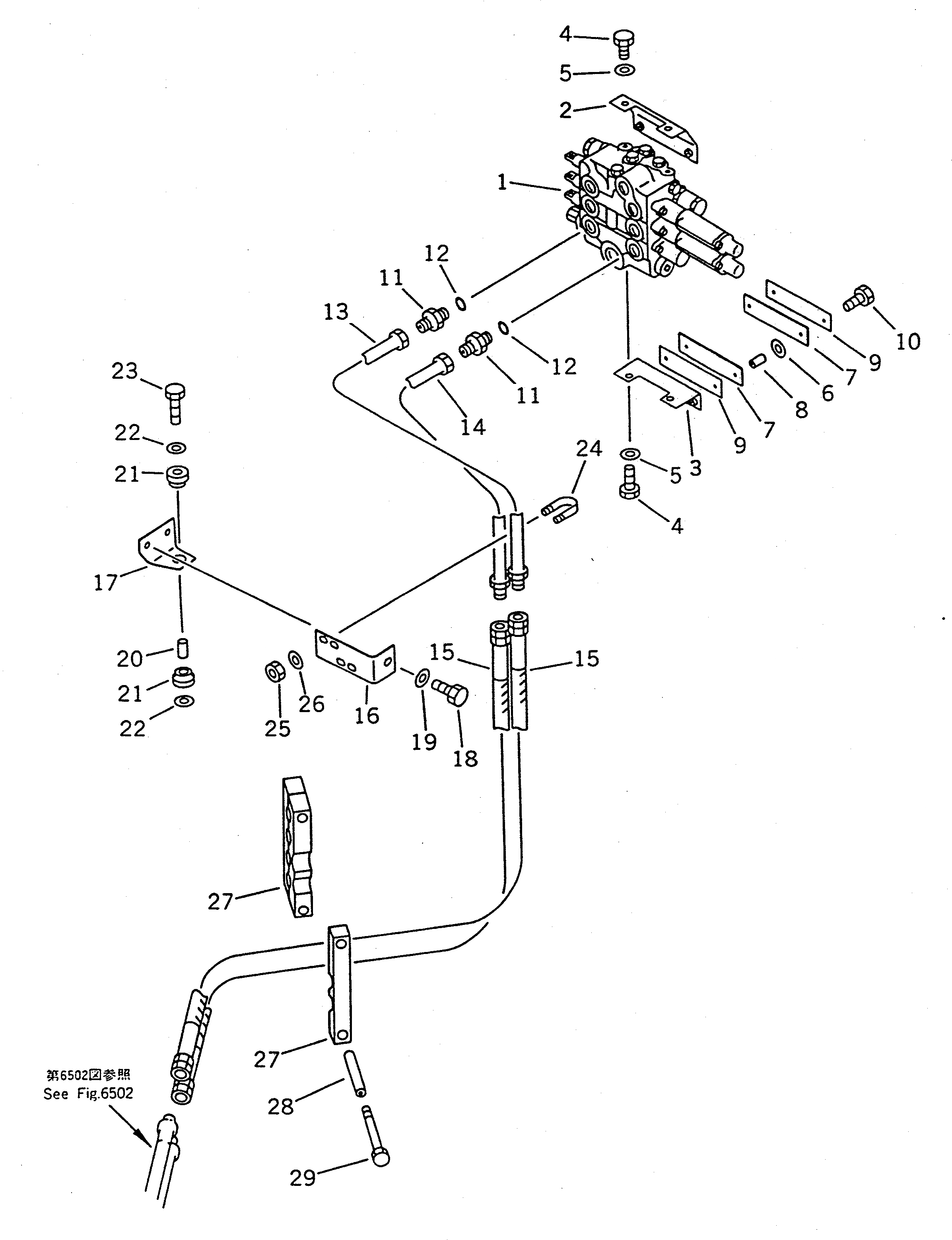
1

700-83-26002

VALVE ASS'Y,3-SPOOL

SN: .-UP

1шт.

2

417-64-13114

BRACKET

SN: 20001-UP

1шт.

3

417-64-13123

BRACKET

SN: 20001-UP

1шт.

4

01010-31025

BOLT

SN: 10001-UP

4шт.

5

01643-31032

WASHER

SN: 10001-UP

4шт.

6

417-64-13160

CUSHION

SN: 20001-UP

4шт.

7

417-64-13150

CUSHION

SN: 20001-UP

4шт.

8

417-54-13470

SPACER

SN: 20001-UP

4шт.

9

417-64-13140

PLATE

SN: 20001-UP

4шт.

10

01010-31250

BOLT

SN: 10001-UP

4шт.

11

07230-10522

UNION

SN: 10001-UP

2шт.

12

07002-12434

O-RING

SN: 10001-UP

2шт.

13

416-877-1310

TUBE

SN: 10001-UP

1шт.

14

416-877-1320

TUBE

SN: 10001-UP

1шт.

15

07086-40514

HOSE

SN: 10001-UP

2шт.

16

416-877-1442

BRACKET

SN: 20001-UP

1шт.

17

416-877-1480

BRACKET

SN: 20001-UP

1шт.

18

01010-51230

BOLT

SN: 20001-UP

1шт.

19

01643-31232

WASHER

SN: 20001-UP

1шт.

20

417-54-13470

SPACER

SN: 10001-UP

1шт.

21

417-62-13620

CUSHION

SN: 20001-UP

2шт.

22

419-43-17920

WASHER

SN: 10001-UP

2шт.

23

01010-31250

BOLT

SN: 10001-UP

1шт.

24

07283-32236

CLIP

SN: 10001-UP

2шт.

25

426-09-11160

NUT

SN: 20001-UP

4шт.

26

01643-31032

WASHER

SN: 10001-UP

4шт.

27

416-877-1361

STRIP,STRIP

SN: 20001-UP

1шт.

28

416-877-1410

SPACER

SN: 10001-UP

2шт.

29

01011-31240

BOLT

SN: 10001-UP

2шт.

Выбрано товаров: 29