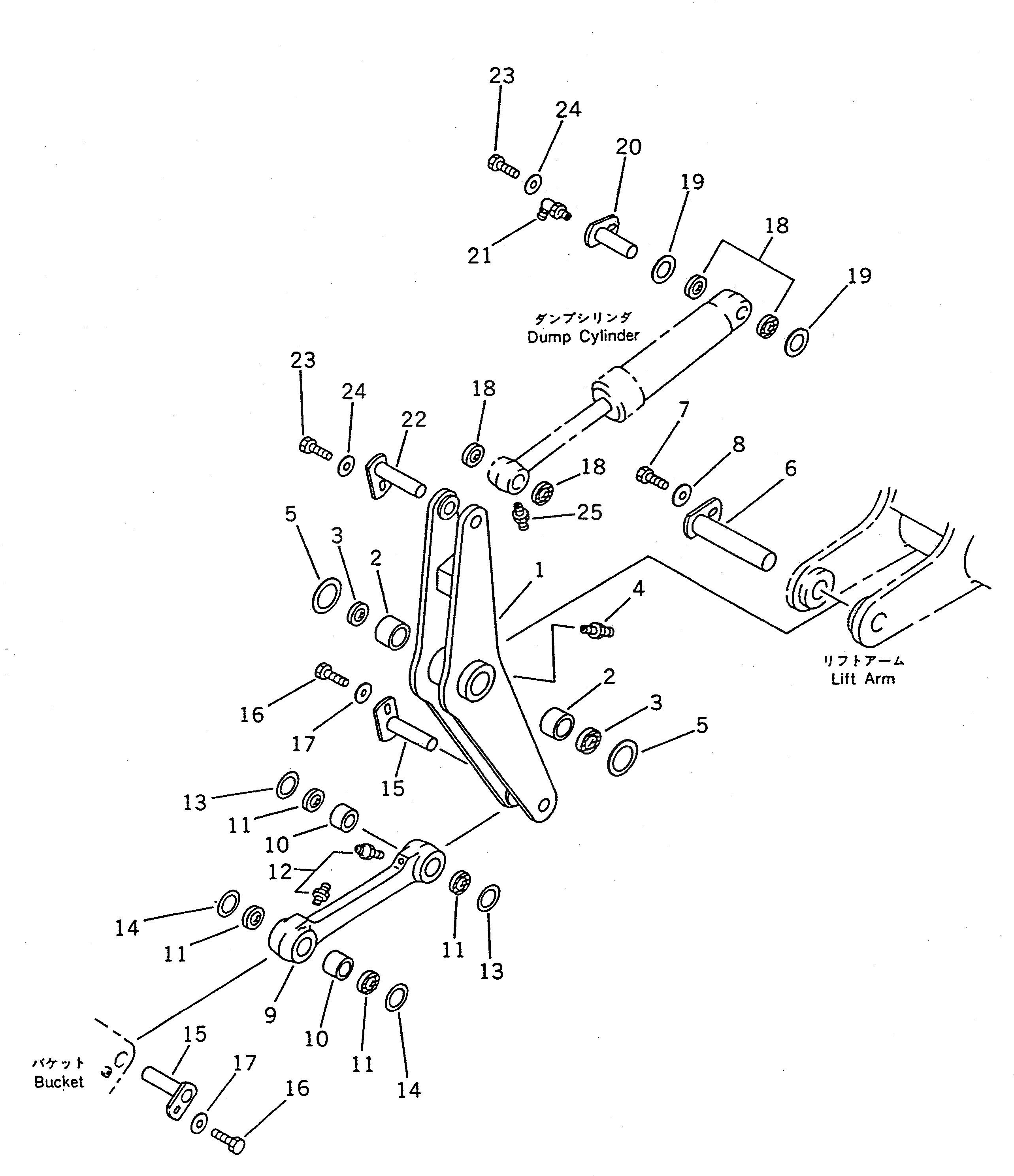
Запчасти Komatsu WA100-1 КОЛЕНЧАТЫЙ РЫЧАГ РАБОЧЕЕ ОБОРУДОВАНИЕ

Схема запчастей Komatsu WA100-1 - КОЛЕНЧАТЫЙ РЫЧАГ РАБОЧЕЕ ОБОРУДОВАНИЕ
FIT
1:1
100%

Артикул

Название

Примечание

Количество

|$0

416-70-00022

BELLCRANK ASS'Y

SN: 20001-UP

1шт.

|$1

0

BELLCRANK ASS'Y

SN: 10001-19999

1шт.

|$2

417-70-00022

BELLCRANK ASS'Y,(FOR HIGH HIGH LIFT)

SN: 20001-UP

1шт.

|$3

0

BELLCRANK ASS'Y,(FOR HIGH HIGH LIFT)

SN: 10001-19999

1шт.

1

0

BELLCRANK

SN: 20001-UP

1шт.

1

0

BELLCRANK

SN: 10001-19999

1шт.

1

0

BELLCRANK,(FOR HIGH HIGH LIFT)

SN: 20001-UP

1шт.

1

0

BELLCRANK,(FOR HIGH HIGH LIFT)

SN: 10001-19999

1шт.

2

416-70-11860

BUSHING

SN: 10001-UP

1шт.

2

417-70-11860

BUSHING,(FOR HIGH HIGH LIFT)

SN: 10001-UP

1шт.

3

416-09-11120

SEAL,DUST

SN: 20001-UP

2шт.

3

0

SEAL,DUST

SN: 10001-19999

2шт.

3

417-09-11120

SEAL,DUST (FOR HIGH HIGH LIFT)

SN: 20001-UP

2шт.

3

0

SEAL,DUST (FOR HIGH HIGH LIFT)

SN: 10001-19999

2шт.

4

07020-00000

FITTING,GREASE

SN: 10001-UP

1шт.

5

417-70-11310

SHIM, 1.5MM

SN: 10001-UP

2шт.

6

416-70-11960

PIN

SN: 10001-UP

1шт.

6

417-70-11960

PIN,(FOR HIGH HIGH LIFT)

SN: 10001-UP

1шт.

7

01010-51220

BOLT

SN: 10001-UP

1шт.

7

01010-51625

BOLT,(FOR HIGH HIGH LIFT)

SN: 10001-UP

1шт.

8

175-54-34170

WASHER

SN: 10001-UP

1шт.

8

421-70-11280

WASHER,(FOR HIGH HIGH LIFT)

SN: 10001-UP

1шт.

|$22

416-70-00030

LINK ASS'Y

SN: 10001-UP

1шт.

|$23

417-850-0020

LINK ASS'Y,(FOR HIGH HIGH LIFT)

SN: 10001-UP

1шт.

9

0

LINK

SN: 10001-UP

1шт.

9

0

LINK,(FOR HIGH HIGH LIFT)

SN: 10001-UP

1шт.

10

416-70-11810

BUSHING

SN: 10001-UP

2шт.

11

416-09-11140

SEAL,DUST

SN: 20001-UP

4шт.

11

0

SEAL,DUST

SN: 10001-19999

4шт.

12

07020-00000

FITTING,GREASE

SN: 10001-UP

1шт.

13

416-70-11410

SHIM, 1.5MM

SN: 10001-UP

2шт.

14

416-70-11410

SHIM, 1.5MM

SN: 10001-UP

1шт.

14

416-70-11420

SHIM, 3.0MM

SN: 10001-UP

1шт.

15

416-70-11921

PIN

SN: .-UP

2шт.

15

0

PIN

SN: (10001-.)

2шт.

16

01010-51220

BOLT

SN: 10001-UP

1шт.

17

175-54-34170

WASHER

SN: 10001-UP

1шт.

18

416-09-11140

SEAL,DUST

SN: 20001-UP

4шт.

18

0

SEAL,DUST

SN: 10001-19999

4шт.

19

416-70-11410

SHIM, 1.5MM

SN: 10001-UP

1шт.

19

416-70-11420

SHIM, 3.0MM

SN: 10001-UP

1шт.

20

416-70-11950

PIN

SN: 10001-UP

1шт.

21

07020-00900

FITTING,GREASE

SN: 10001-UP

1шт.

22

416-70-11921

PIN

SN: .-UP

1шт.

22

0

PIN

SN: (10001-.)

1шт.

23

01010-51220

BOLT

SN: 10001-UP

2шт.

24

175-54-34170

WASHER

SN: 10001-UP

2шт.

25

07020-00000

FITTING,GREASE

SN: 10001-UP

1шт.

Выбрано товаров: 48