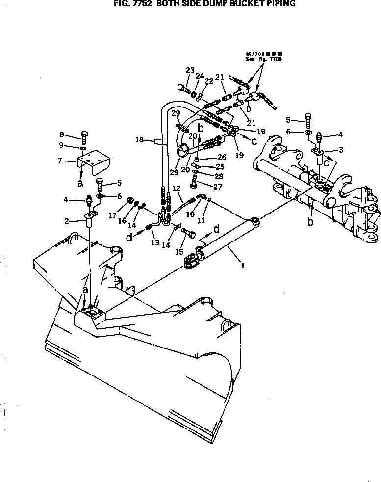
Запчасти Komatsu WA100-1 КОВШ С 2-СТОРОНН. РАЗГРУЗКОЙ ТРУБЫ РАБОЧЕЕ ОБОРУДОВАНИЕ

Схема запчастей Komatsu WA100-1 - КОВШ С 2-СТОРОНН. РАЗГРУЗКОЙ ТРУБЫ РАБОЧЕЕ ОБОРУДОВАНИЕ
FIT
1:1
100%

Артикул

Название

Примечание

Количество

1

707-00-01000

CYLINDER ASS'Y,BOTH SIDE DUMP

SN: 10001-UP

1шт.

2

415-70-11952

PIN

SN: 10001-UP

1шт.

3

415-70-11910

PIN

SN: 10001-UP

1шт.

4

07020-00000

FITTING,GREASE

SN: 10001-UP

2шт.

5

01010-51220

BOLT

SN: 10001-UP

2шт.

6

175-54-34170

WASHER

SN: 10001-UP

2шт.

7

416-839-1410

COVER

SN: 10001-UP

1шт.

8

01010-51020

BOLT

SN: 10001-UP

4шт.

9

01643-31032

WASHER

SN: 10001-UP

4шт.

10

07235-10315

ELBOW

SN: 10001-UP

1шт.

11

07000-12034

O-RING

SN: 10001-UP

1шт.

12

416-839-1330

TUBE

SN: 10001-UP

1шт.

13

416-839-1320

TUBE

SN: 10001-UP

1шт.

14

112-901-1250

CLAMP

SN: 10001-UP

2шт.

15

01010-51025

BOLT

SN: 10001-UP

1шт.

16

01643-31032

WASHER

SN: 10001-UP

1шт.

17

01580-11008

NUT

SN: 10001-UP

1шт.

18

07123-20307

HOSE

SN: 10001-UP

2шт.

19

416-839-1340

TUBE

SN: 10001-UP

2шт.

20

415-914-1250

HOSE

SN: 10001-UP

2шт.

21

416-N50-1180

BODY,VALVE

SN: 10001-UP

2шт.

22

112-901-1250

CLAMP

SN: 10001-UP

1шт.

23

01010-51035

BOLT

SN: 10001-UP

1шт.

24

01643-31032

WASHER

SN: 10001-UP

1шт.

25

415-16-11560

CLIP

SN: 10001-UP

1шт.

26

421-06-12780

SPACER

SN: 10001-UP

1шт.

27

01010-51035

BOLT

SN: 10001-UP

1шт.

28

01643-31032

WASHER

SN: 10001-UP

1шт.

29

08034-00536

BAND

SN: 10001-UP

5шт.

Выбрано товаров: 29