Запчасти Komatsu WA100-1 ПАНЕЛЬ ПРИБОРОВ (TBG/ABE СПЕЦ-Я.)(№-) СПЕЦ. APPLICATION ЧАСТИ

Схема запчастей Komatsu WA100-1 - ПАНЕЛЬ ПРИБОРОВ (TBG/ABE СПЕЦ-Я.)(№-) СПЕЦ. APPLICATION ЧАСТИ
FIT
1:1
100%

Артикул

Название

Примечание

Количество

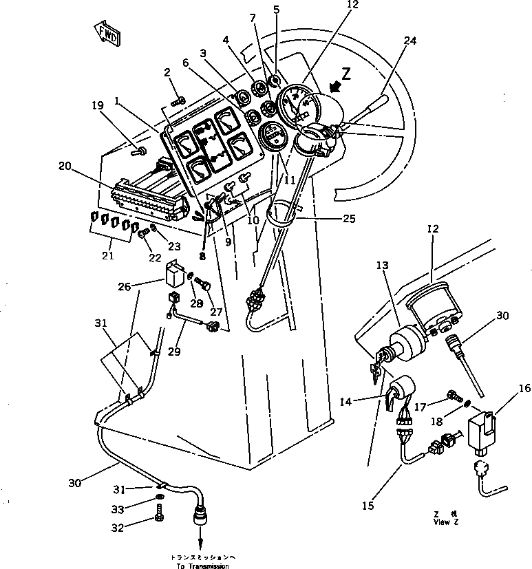
1

417-06-15112

GAUGE CLUSTER

SN: 10001-UP

1шт.

1

417-06-15330

GAUGE,WATER TEMPERATURE

SN: 10001-UP

1шт.

1

417-06-15340

GAUGE,OIL TEMPERATURE

SN: 10001-UP

1шт.

1

417-06-15350

GAUGE,FUEL LEVEL

SN: 10001-UP

1шт.

1

417-06-15360

GAUGE,VOLT

SN: 10001-UP

1шт.

1

417-06-15390

PLATE, CAUTION,CAUTION

SN: 10001-UP

1шт.

1

08102-02403

BULB, 3W

SN: 10001-UP

8шт.

1

417-06-15380

SOCKET

SN: 10001-UP

8шт.

1

417-06-15310

PANEL

SN: 10001-UP

1шт.

1

417-06-15320

GASKET,PANEL

SN: 10001-UP

1шт.

2

01224-40520

SCREW

SN: 10001-UP

4шт.

3

417-06-15420

LAMP,HAZARD

SN: 10001-UP

1шт.

3

08111-02430

BULB, 3W

SN: 10001-UP

1шт.

4

566-06-17150

LAMP,TURN SIGNAL

SN: 20001-UP

1шт.

4

08111-02430

BULB, 3W

SN: 10001-UP

1шт.

5

600-815-3730

SIGNAL,HEATER

SN: 10001-UP

1шт.

6

08147-42460

LAMP,HIGH BEAM PILOT

SN: 10001-UP

1шт.

6

08111-02430

BULB, 3W

SN: 10001-UP

1шт.

7

417-06-15221

LAMP,WORKING LAMP PILOT

SN: 10001-UP

1шт.

7

08111-02430

BULB, 3W

SN: 10001-UP

1шт.

8

08501-42509

SWITCH,HAZARD

SN: 10001-UP

1шт.

9

417-06-11640

SWITCH,WORKING LAMP

SN: 20001-UP

1шт.

10

417-06-11630

CAP

SN: 20001-UP

2шт.

11

08687-22403

METER,SERVICE

SN: 20001-UP

1шт.

11

7815-11-1010

BULB, 1.4W

SN: 10001-UP

1шт.

12

417-06-15141

SPEEDOMETER,SPEED

SN: 10001-UP

1шт.

12

08111-02430

BULB, 3W

SN: 10001-UP

1шт.

13

124-06-31310

SWITCH,STARTING

SN: 10001-UP

1шт.

14

417-06-11610

SWITCH,LAMP

SN: 10001-UP

1шт.

15

417-06-12510

WIRE ASS'Y

SN: 10001-UP

1шт.

16

22W-06-13251

FLASHER

SN: 10001-UP

1шт.

17

01010-30610

BOLT

SN: 10001-UP

1шт.

18

01643-30623

WASHER

SN: 10001-UP

1шт.

19

421-06-11551

SWITCH,TRANSMISSION CUT OFF

SN: 20001-UP

1шт.

20

417-06-12660

WIRE ASS'Y,FUSE

SN: 20001-UP

1шт.

21

283-06-16190

FUSE, 10A

SN: 20001-UP

12шт.

21

415-06-12330

FUSE, 15A

SN: 20001-UP

3шт.

21

22W-06-13160

FUSE, 20A

SN: 10001-UP

2шт.

22

01220-40620

SCREW

SN: 10001-UP

2шт.

23

01602-20619

WASHER,SPRING

SN: 10001-UP

2шт.

24

417-06-11280

SWITCH,TURN SIGNAL

SN: 10001-UP

1шт.

25

08034-00823

BAND

SN: 20001-UP

1шт.

26

421-06-11940

RELAY

SN: 10001-UP

1шт.

27

01010-50612

BOLT

SN: 10001-UP

1шт.

28

01643-30623

WASHER

SN: 10001-UP

1шт.

29

419-06-12530

WIRE ASS'Y

SN: 10001-UP

1шт.

30

417-06-11332

CABLE

SN: 20001-UP

1шт.

31

424-06-12370

CLIP

SN: 20001-UP

4шт.

32

01010-31020

BOLT

SN: 20001-UP

4шт.

33

01643-31032

WASHER

SN: 20001-UP

4шт.

Выбрано товаров: 50