Запчасти Komatsu WA100-1 ЭЛЕКТРИКА (ЗАДН.) (TBG/ABE СПЕЦ-Я.)(№-9999) СПЕЦ. APPLICATION ЧАСТИ

Схема запчастей Komatsu WA100-1 - ЭЛЕКТРИКА (ЗАДН.) (TBG/ABE СПЕЦ-Я.)(№-9999) СПЕЦ. APPLICATION ЧАСТИ
FIT
1:1
100%

Артикул

Название

Примечание

Количество

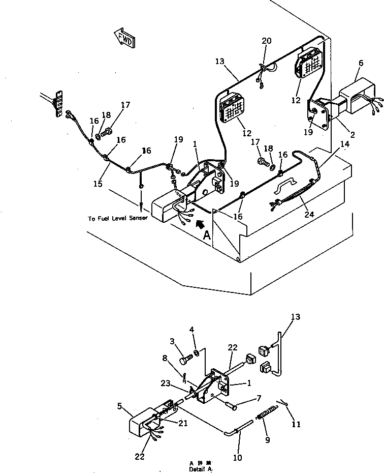
1

417-06-13610

BRACKET,L.H.

SN: 10001-19999

1шт.

2

417-06-13620

BRACKET,R.H.

SN: 10001-19999

1шт.

3

01010-31225

BOLT

SN: 10001-19999

8шт.

4

01643-31232

WASHER

SN: 10001-@

8шт.

5

417-06-13661

HOLDER,LAMP, L.H.

SN: 11275-19999

1шт.

5

0

HOLDER,LAMP, L.H.

SN: 10001-11274

1шт.

6

417-06-13671

HOLDER

SN: 11275-19999

1шт.

6

0

HOLDER

SN: 10001-11274

1шт.

7

417-06-13630

PIN

SN: 10001-@

2шт.

8

04050-14020

PIN,COTTER

SN: 10001-@

2шт.

9

417-06-13650

SPRING

SN: 10001-@

2шт.

10

417-06-13640

HOLDER,SPRING

SN: 10001-@

2шт.

11

04050-13015

PIN,COTTER

SN: 10001-@

2шт.

12

421-06-13202

WORK LAMP ASS'Y

SN: 10001-@

2шт.

12

22W-06-12710

BULB, 70W

SN: 10001-@

1шт.

12

421-06-13120

CUSHION

SN: 10001-@

4шт.

13

417-06-12323

WIRE ASS'Y

SN: 10001-19999

1шт.

14

417-06-12311

WIRE ASS'Y

SN: 10001-19999

1шт.

15

417-06-12232

WIRE ASS'Y

SN: 10001-19999

1шт.

16

08036-01414

CLIP

SN: 10001-19999

7шт.

17

01010-31020

BOLT

SN: 10001-19999

7шт.

18

01643-31032

WASHER

SN: 10001-19999

7шт.

19

08037-03614

GROMMET

SN: 10001-@

3шт.

20

08034-00414

BAND

SN: 10001-@

1шт.

21

08037-02512

GROMMET

SN: 10001-@

4шт.

22

417-06-12480

WIRE ASS'Y

SN: 10001-19999

2шт.

23

08034-00414

BAND

SN: 10001-19999

2шт.

24

417-06-12491

WIRE ASS'Y

SN: 10001-@

1шт.

Выбрано товаров: 28