Запчасти Komatsu WA100-1 КЛАПАН УПРАВЛЕНИЯ ТРАНСМИССИЕЙ (/) (TBG/ABE СПЕЦ-Я.) СПЕЦ. APPLICATION ЧАСТИ

Схема запчастей Komatsu WA100-1 - КЛАПАН УПРАВЛЕНИЯ ТРАНСМИССИЕЙ (/) (TBG/ABE СПЕЦ-Я.) СПЕЦ. APPLICATION ЧАСТИ
FIT
1:1
100%

Артикул

Название

Примечание

Количество

|$0

416-15-11011

TRANSMISSION ASS'Y

SN: 20001-UP

1шт.

|$1

416-15-11010

TRANSMISSION ASS'Y

SN: 10001-19999

1шт.

|$2

416-15-15002

CONTROL VALVE ASS'Y

SN: 20001-UP

1шт.

|$3

416-15-15001

CONTROL VALVE ASS'Y

SN: 11332-19999

1шт.

|$4

0

CONTROL VALVE ASS'Y

SN: 10001-11331

1шт.

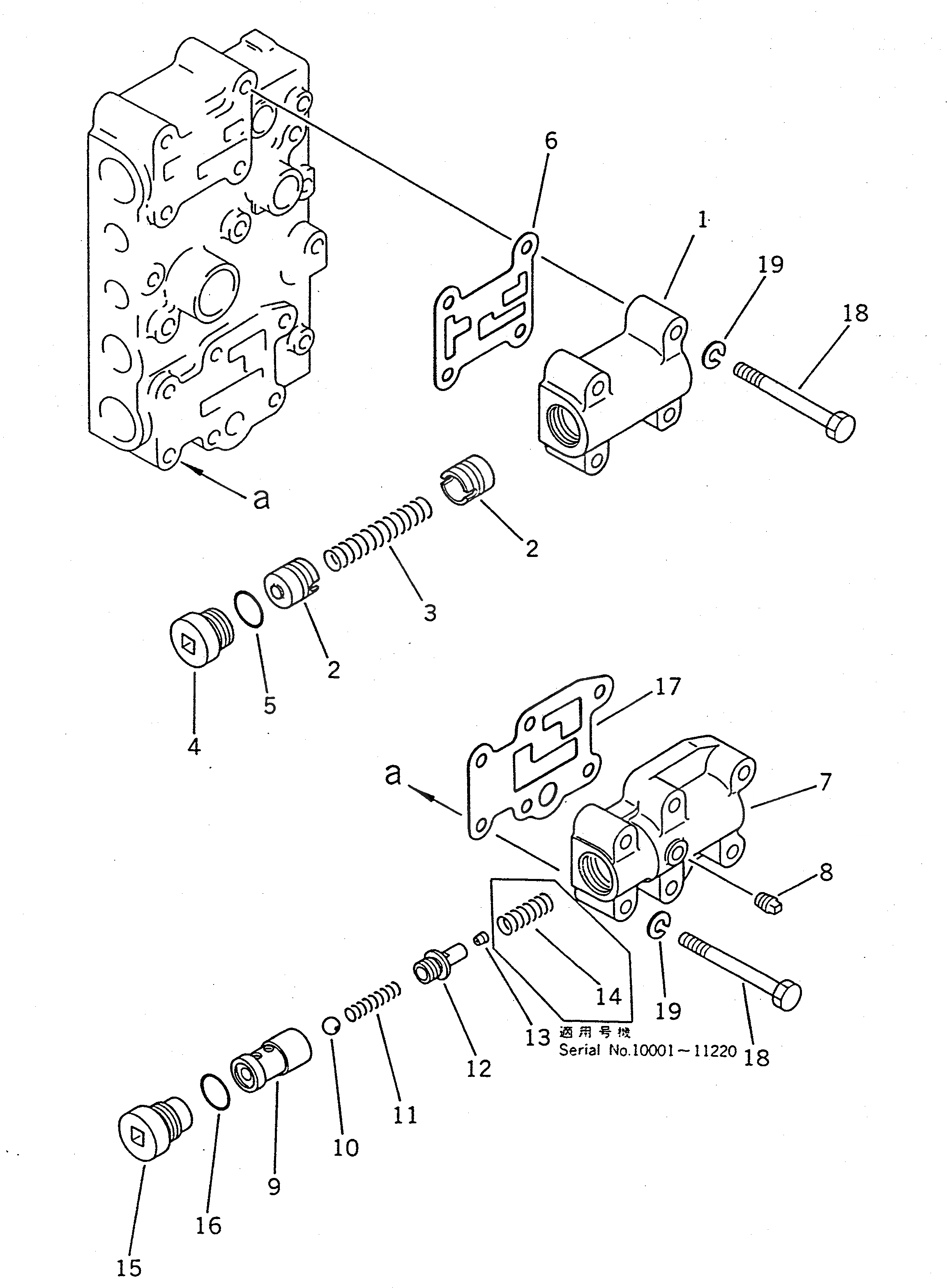
1

417-15-15743

BODY

SN: .-UP

1шт.

1

0

BODY

SN: 10001-.

1шт.

2

417-15-15752

VALVE

SN: 10001-UP

2шт.

3

417-15-15760

SPRING

SN: 10001-UP

1шт.

4

07040-13618

PLUG

SN: 10001-UP

1шт.

5

07002-03634

O-RING

SN: 10001-UP

1шт.

6

415-15-15320

GASKET

SN: 10001-UP

1шт.

7

415-15-15210

BODY

SN: 10001-UP

1шт.

8

07042-30108

PLUG

SN: 10001-UP

1шт.

9

415-15-15671

VALVE,CHECK

SN: .-UP

1шт.

9

0

VALVE,CHECK

SN: 10001-.

1шт.

10

04260-01270

BALL

SN: 10001-UP

1шт.

11

419-15-15510

SPRING

SN: 10001-UP

1шт.

12

415-15-15660

PLUG

SN: 10001-UP

1шт.

13

415-15-15430

PLUG

SN: 10001-UP

1шт.

14

417-15-15470

SPRING

SN: 10001-11331

1шт.

15

415-15-15290

PLUG

SN: 10001-UP

1шт.

16

07002-03034

O-RING

SN: 10001-UP

1шт.

17

415-15-15220

GASKET

SN: 10001-UP

1шт.

18

01011-31015

BOLT

SN: 10001-UP

10шт.

19

01602-01030

WASHER,SPRING

SN: 10001-UP

10шт.

Выбрано товаров: 26