Запчасти Komatsu WA100-1 РЫЧАГ УПРАВЛ-Я ТРАНСМИССИЕЙ (TBG/ABE СПЕЦ-Я.)(№-9999) СПЕЦ. APPLICATION ЧАСТИ

Схема запчастей Komatsu WA100-1 - РЫЧАГ УПРАВЛ-Я ТРАНСМИССИЕЙ (TBG/ABE СПЕЦ-Я.)(№-9999) СПЕЦ. APPLICATION ЧАСТИ
FIT
1:1
100%

Артикул

Название

Примечание

Количество

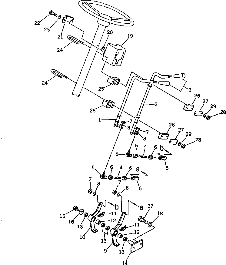
1

417-43-16121

LEVER

SN: 10001-19999

1шт.

2

417-43-16520

LEVER

SN: 10001-19999

1шт.

3

417-09-12120

KNOB

SN: 10001-@

2шт.

4

04245-40807

ROD

SN: 10001-@

2шт.

5

417-09-12130

JOINT

SN: 10001-19999

4шт.

6

01580-00806

NUT

SN: 10001-@

4шт.

7

426-09-11140

NUT

SN: 10001-@

4шт.

8

01643-30823

WASHER

SN: 10001-@

4шт.

9

417-43-16184

LEVER

SN: 10001-19999

1шт.

10

417-43-16174

LEVER

SN: 10001-19999

1шт.

11

07020-00675

FITTING,GREASE

SN: 10001-@

2шт.

12

06120-02016

BEARING,NEEDLE

SN: 10001-@

2шт.

13

06122-02004

SEAL,BEARING

SN: 10001-@

4шт.

14

417-43-16190

BRACKET

SN: 10001-19999

1шт.

15

01010-31016

BOLT

SN: 10001-@

1шт.

16

417-43-16210

WASHER

SN: 10001-@

1шт.

17

01010-31030

BOLT

SN: 10001-@

2шт.

18

01643-31032

WASHER

SN: 10001-@

2шт.

19

417-43-16510

COVER

SN: 10001-19999

1шт.

20

417-43-16440

GASKET

SN: 10001-@

1шт.

21

417-43-16412

CLAMP

SN: 10001-19999

1шт.

22

01010-50825

BOLT

SN: 10001-@

2шт.

23

01643-30823

WASHER

SN: 10001-@

2шт.

24

417-43-16151

CLIP

SN: 10001-19999

2шт.

25

417-43-16131

BEARING

SN: 10001-19999

2шт.

26

417-43-16141

BEARING

SN: 10001-@

2шт.

27

417-43-16161

PLATE

SN: 10001-@

2шт.

28

426-09-11140

NUT

SN: 10001-19999

4шт.

29

01643-30823

WASHER

SN: 10001-19999

4шт.

Выбрано товаров: 29