Запчасти Komatsu WA100-1 ТОРМОЗ. МАСЛОПРОВОДЯЩАЯ ЛИНИЯ (ЗАДН.) (TBG/ABE СПЕЦ-Я.)(№-9999) СПЕЦ. APPLICATION ЧАСТИ

Схема запчастей Komatsu WA100-1 - ТОРМОЗ. МАСЛОПРОВОДЯЩАЯ ЛИНИЯ (ЗАДН.) (TBG/ABE СПЕЦ-Я.)(№-9999) СПЕЦ. APPLICATION ЧАСТИ
FIT
1:1
100%

Артикул

Название

Примечание

Количество

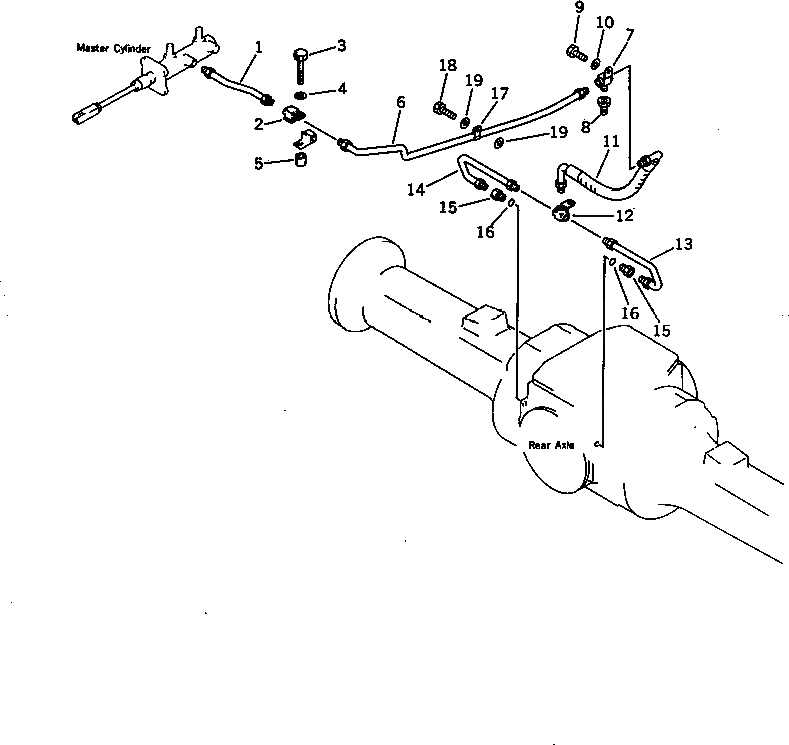
1

417-43-17581

TUBE

SN: 10001-19999

1шт.

2

419-43-17370

UNION

SN: 10001-@

1шт.

3

01010-51045

BOLT

SN: 10001-@

1шт.

4

01643-31032

WASHER

SN: 10001-@

1шт.

5

6131-22-3750

BOSS

SN: 10001-@

1шт.

6

416-43-17532

TUBE

SN: 10001-@

1шт.

7

419-43-17870

UNION

SN: 10001-@

1шт.

8

419-43-17850

COUPLING

SN: 10001-@

1шт.

9

01010-51025

BOLT

SN: 10001-@

1шт.

10

01643-31032

WASHER

SN: 10001-@

1шт.

11

417-43-17540

HOSE

SN: 10001-@

1шт.

12

417-43-17550

TEE

SN: 10001-@

1шт.

13

417-43-17570

TUBE

SN: 10001-@

1шт.

14

417-43-17560

TUBE

SN: 10001-@

1шт.

15

419-43-17420

NIPPLE

SN: 10001-@

2шт.

16

07002-01223

O-RING

SN: 10001-@

2шт.

17

419-09-11160

CLIP

SN: 10001-@

1шт.

18

01010-51025

BOLT

SN: 10001-@

1шт.

19

01643-31032

WASHER

SN: 10001-@

2шт.

Выбрано товаров: 0