Запчасти Komatsu WA100-1 ЭКСТРЕНН. РУЛЕВ. УПРАВЛЕНИЕ (/) (ABE СПЕЦ-Я.)(№.-9999) СПЕЦ. APPLICATION ЧАСТИ

Схема запчастей Komatsu WA100-1 - ЭКСТРЕНН. РУЛЕВ. УПРАВЛЕНИЕ (/) (ABE СПЕЦ-Я.)(№.-9999) СПЕЦ. APPLICATION ЧАСТИ
FIT
1:1
100%

Артикул

Название

Примечание

Количество

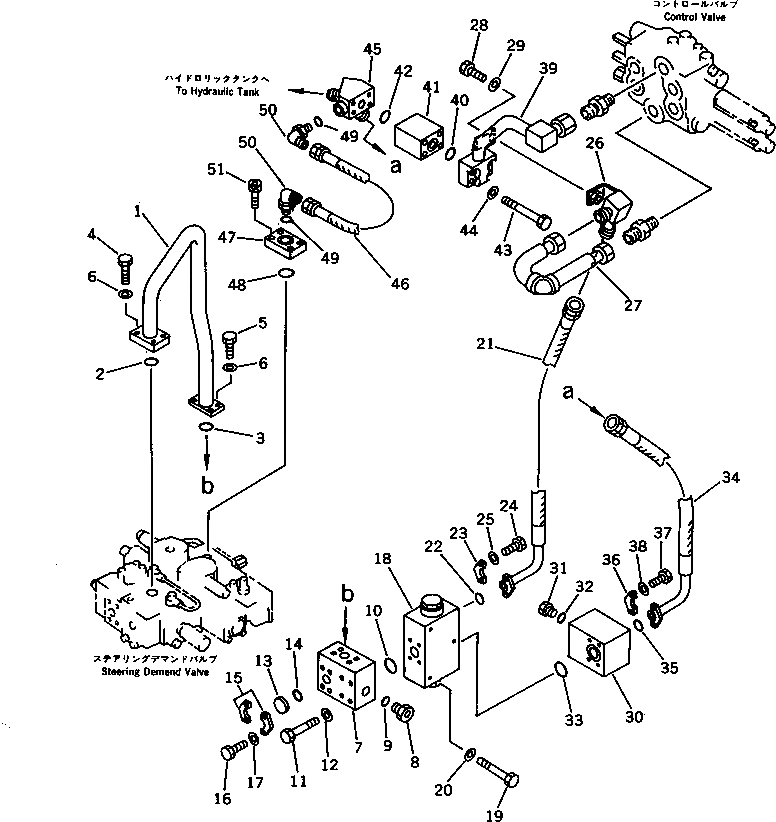
1

417-875-1181

TUBE

SN: 10001-19999

1шт.

2

07000-13038

O-RING

SN: 10001-19999

1шт.

3

07000-13030

O-RING

SN: 10001-19999

1шт.

4

01010-31045

BOLT

SN: 10001-19999

4шт.

5

01010-31040

BOLT

SN: 10001-19999

4шт.

6

01643-51032

WASHER

SN: 10001-19999

8шт.

7

417-875-1192

BLOCK

SN: .-19999

1шт.

8

07040-12414

PLUG

SN: 10001-19999

1шт.

9

07002-12434

O-RING

SN: 10001-19999

1шт.

10

07000-13035

O-RING

SN: 10001-19999

1шт.

11

01010-51060

BOLT

SN: .-19999

4шт.

12

01643-31032

WASHER

SN: 10001-19999

4шт.

13

07378-10600

HEAD

SN: 10001-19999

1шт.

14

07000-13025

O-RING

SN: 10001-19999

1шт.

15

07371-30638

FLANGE,SPLIT

SN: 10001-19999

2шт.

16

01010-30830

BOLT

SN: 10001-19999

4шт.

17

01643-50823

WASHER

SN: 10001-19999

4шт.

18

421-875-1400

VALVE ASS'Y

SN: 10001-@

1шт.

19

01010-31080

BOLT

SN: 10001-19999

3шт.

20

01643-31032

WASHER

SN: 10001-@

3шт.

21

417-875-1210

HOSE

SN: 10001-19999

1шт.

22

07000-13032

O-RING

SN: 10001-19999

1шт.

23

07371-31049

FLANGE,SPLIT

SN: 10001-19999

2шт.

24

07372-01035

BOLT

SN: 10001-19999

4шт.

25

01643-51032

WASHER

SN: 10001-19999

4шт.

26

417-875-1541

JOINT

SN: .-19999

1шт.

27

417-875-1531

TUBE

SN: .-19999

1шт.

28

01010-51230

BOLT

SN: .-19999

1шт.

29

01643-31232

WASHER

SN: .-19999

1шт.

30

417-875-1231

BLOCK

SN: 10001-19999

1шт.

31

07040-12414

PLUG

SN: 10001-19999

1шт.

32

07002-12434

O-RING

SN: 10001-19999

1шт.

33

07000-13035

O-RING

SN: 10001-19999

1шт.

34

417-875-1240

HOSE

SN: 10001-19999

1шт.

35

07000-13032

O-RING

SN: 10001-19999

1шт.

36

07371-31049

FLANGE,SPLIT

SN: 10001-19999

2шт.

37

01011-31010

BOLT

SN: 10001-19999

4шт.

38

01643-51032

WASHER

SN: 10001-19999

4шт.

39

417-875-1253

TUBE

SN: .-19999

1шт.

40

07000-13035

O-RING

SN: 10001-19999

1шт.

41

702-13-23901

VALVE ASS'Y

SN: 10508-19999

1шт.

41

0

VALVE ASS'Y

SN: 10001-10507

1шт.

42

07000-13035

O-RING

SN: 10001-19999

1шт.

43

01011-31010

BOLT

SN: 10001-19999

4шт.

44

01643-31032

WASHER

SN: 10001-19999

4шт.

45

417-875-1343

ELBOW

SN: .-19999

1шт.

46

417-875-1510

HOSE

SN: 10001-19999

1шт.

47

417-875-1490

FLANGE

SN: 10001-19999

1шт.

48

07000-13032

O-RING

SN: 10001-19999

1шт.

49

07002-02034

O-RING

SN: 10001-19999

2шт.

50

07235-10422

ELBOW

SN: 10001-19999

2шт.

51

01252-31025

BOLT

SN: .-19999

4шт.

Выбрано товаров: 0