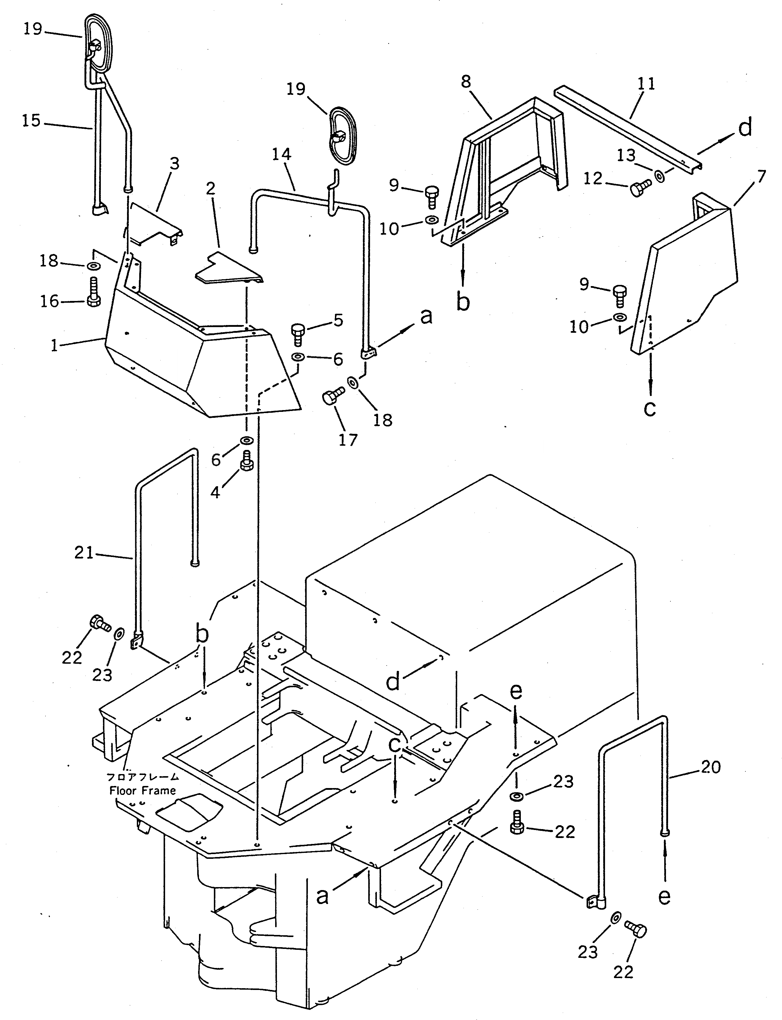
Запчасти Komatsu WA100-1 ЧАСТИ КОРПУСА И ПОРУЧНИ (С НАВЕСОМ)(№-9999) РАМА И ЧАСТИ КОРПУСА

Схема запчастей Komatsu WA100-1 - ЧАСТИ КОРПУСА И ПОРУЧНИ (С НАВЕСОМ)(№-9999) РАМА И ЧАСТИ КОРПУСА
FIT
1:1
100%

Артикул

Название

Примечание

Количество

1

417-54-12612

GUARD

SN: 10001-19999

1шт.

2

417-54-12731

COVER,L.H.

SN: 10001-19999

1шт.

3

417-54-12721

COVER,R.H.

SN: 10001-19999

1шт.

4

01010-51220

BOLT

SN: 10001-19999

6шт.

5

01010-51230

BOLT

SN: 10001-@

4шт.

6

01643-31232

WASHER

SN: 10001-19999

10шт.

7

417-54-12621

GUARD,L.H.

SN: 10001-19999

1шт.

8

417-54-12631

GUARD,R.H.

SN: 10001-19999

1шт.

9

01010-51230

BOLT

SN: 10001-@

4шт.

10

01643-31232

WASHER

SN: 10001-@

4шт.

11

417-54-12650

COVER

SN: 10001-19999

1шт.

12

01010-51230

BOLT

SN: 10001-19999

4шт.

13

01643-31232

WASHER

SN: 10001-19999

4шт.

14

417-54-12662

HANDRAIL,L.H.

SN: 10001-19999

1шт.

15

417-54-12672

HANDRAIL,R.H.

SN: 10001-19999

1шт.

16

01010-51245

BOLT

SN: 10001-19999

2шт.

17

01010-51230

BOLT

SN: 10001-@

2шт.

18

01643-31232

WASHER

SN: 10001-@

4шт.

19

08174-13116

MIRROR

SN: 10001-@

2шт.

20

417-54-12223

HANDRAIL,L.H.

SN: 10001-19999

1шт.

21

417-54-12233

HANDRAIL,R.H.

SN: 10001-19999

1шт.

22

01010-51230

BOLT

SN: 10001-19999

4шт.

23

01643-31232

WASHER

SN: 10001-@

4шт.

Выбрано товаров: 23