Запчасти Komatsu WA100-1 НАВЕС(№9-) РАМА И ЧАСТИ КОРПУСА

Схема запчастей Komatsu WA100-1 - НАВЕС(№9-) РАМА И ЧАСТИ КОРПУСА
FIT
1:1
100%

Артикул

Название

Примечание

Количество

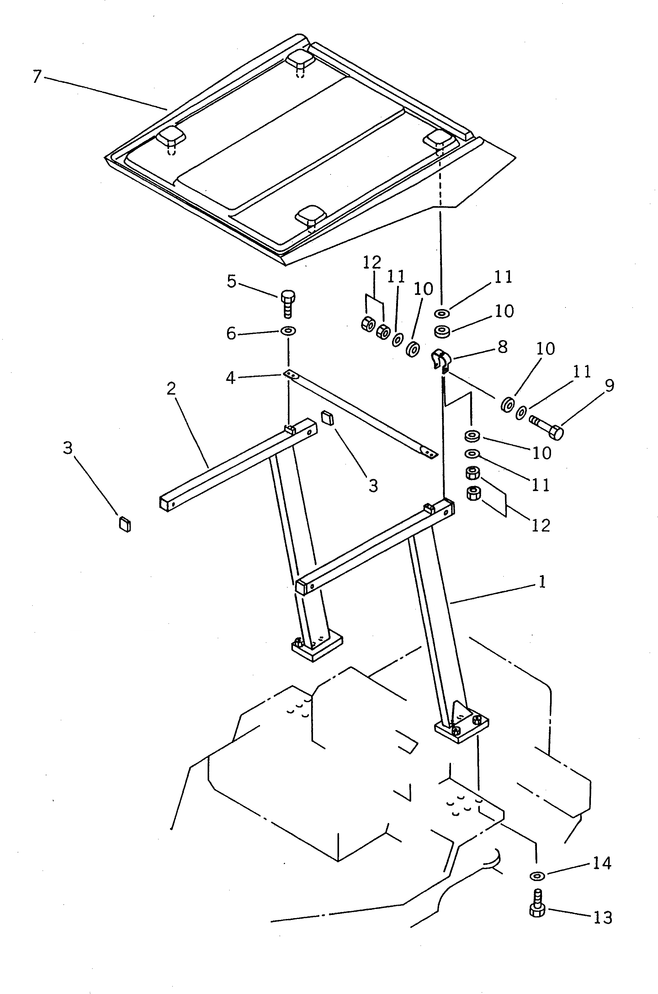
1

417-54-18211

POLE,L.H.

SN: 20935-UP

1шт.

2

417-54-18221

POLE,R.H.

SN: 20935-UP

1шт.

3

417-54-18320

CAP

SN: 20935-UP

4шт.

4

417-54-18231

PIPE

SN: 20935-UP

1шт.

5

01010-51020

BOLT

SN: 20935-UP

4шт.

6

01643-31032

WASHER

SN: 20935-UP

4шт.

7

417-54-18250

ROOF

SN: 20935-UP

1шт.

8

417-54-18260

BELT

SN: 20935-UP

4шт.

9

01011-51215

BOLT

SN: 20935-UP

4шт.

10

417-54-18270

CUSHION

SN: 20935-UP

16шт.

11

417-54-18240

WASHER

SN: 20935-UP

16шт.

12

01580-11210

NUT

SN: 20935-UP

16шт.

13

01010-52065

BOLT

SN: 20935-UP

8шт.

14

01643-32060

WASHER

SN: 20935-UP

8шт.

Выбрано товаров: 14