Запчасти Komatsu WA100-1 БЛОКИР. ЦИЛИНДР (ДЛЯ СОЕДИНИТ. УСТР-ВО) УПРАВЛ-Е РАБОЧИМ ОБОРУДОВАНИЕМ

Схема запчастей Komatsu WA100-1 - БЛОКИР. ЦИЛИНДР (ДЛЯ СОЕДИНИТ. УСТР-ВО) УПРАВЛ-Е РАБОЧИМ ОБОРУДОВАНИЕМ
FIT
1:1
100%

Артикул

Название

Примечание

Количество

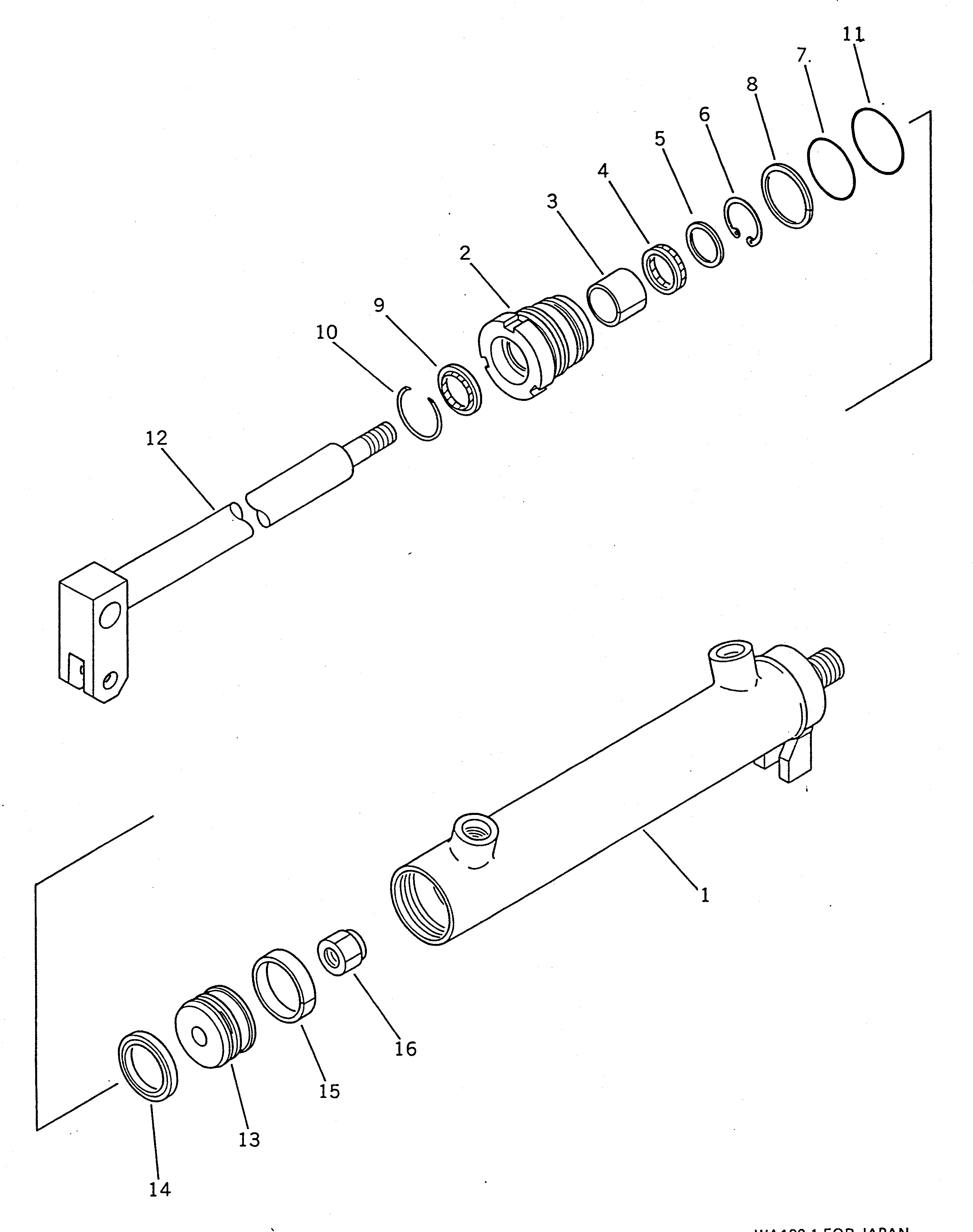
|1

707-04-50110

CYLINDER ASS'Y

SN: 10001-UP

1шт.

1

707-11-50130

CYLINDER

SN: 10001-UP

1шт.

2

707-29-50800

HEAD,CYLINDER

SN: 10001-UP

1шт.

3

07177-02525

BUSHING

SN: 10001-UP

1шт.

4

707-51-25020

PACKING,ROD

SN: 10001-UP

1шт.

5

707-57-25020

RETAINER

SN: 10001-UP

1шт.

6

04065-03515

RING,SNAP

SN: 10001-UP

1шт.

7

07000-13045

O-RING

SN: 10001-UP

1шт.

8

707-35-99500

RING,BACK-UP

SN: 10001-UP

1шт.

9

707-56-25510

SEAL,DUST

SN: 10001-UP

1шт.

10

07179-00044

RING,SNAP

SN: 10001-UP

1шт.

11

07000-13048

O-RING

SN: 10001-UP

1шт.

12

707-61-50020

ROD,PISTON

SN: 10001-UP

1шт.

13

707-36-50910

PISTON

SN: 10001-UP

1шт.

14

07161-10050

RING,PISTON

SN: 10001-UP

1шт.

15

10E-63-32390

RING,WEAR

SN: 10001-UP

1шт.

16

07165-11618

NUT,NYLON

SN: 10001-UP

1шт.

Выбрано товаров: 17