Запчасти Komatsu WA100-1 STOCK PILE КОВШ .M РАБОЧЕЕ ОБОРУДОВАНИЕ

Схема запчастей Komatsu WA100-1 - STOCK PILE КОВШ .M РАБОЧЕЕ ОБОРУДОВАНИЕ
FIT
1:1
100%

Артикул

Название

Примечание

Количество

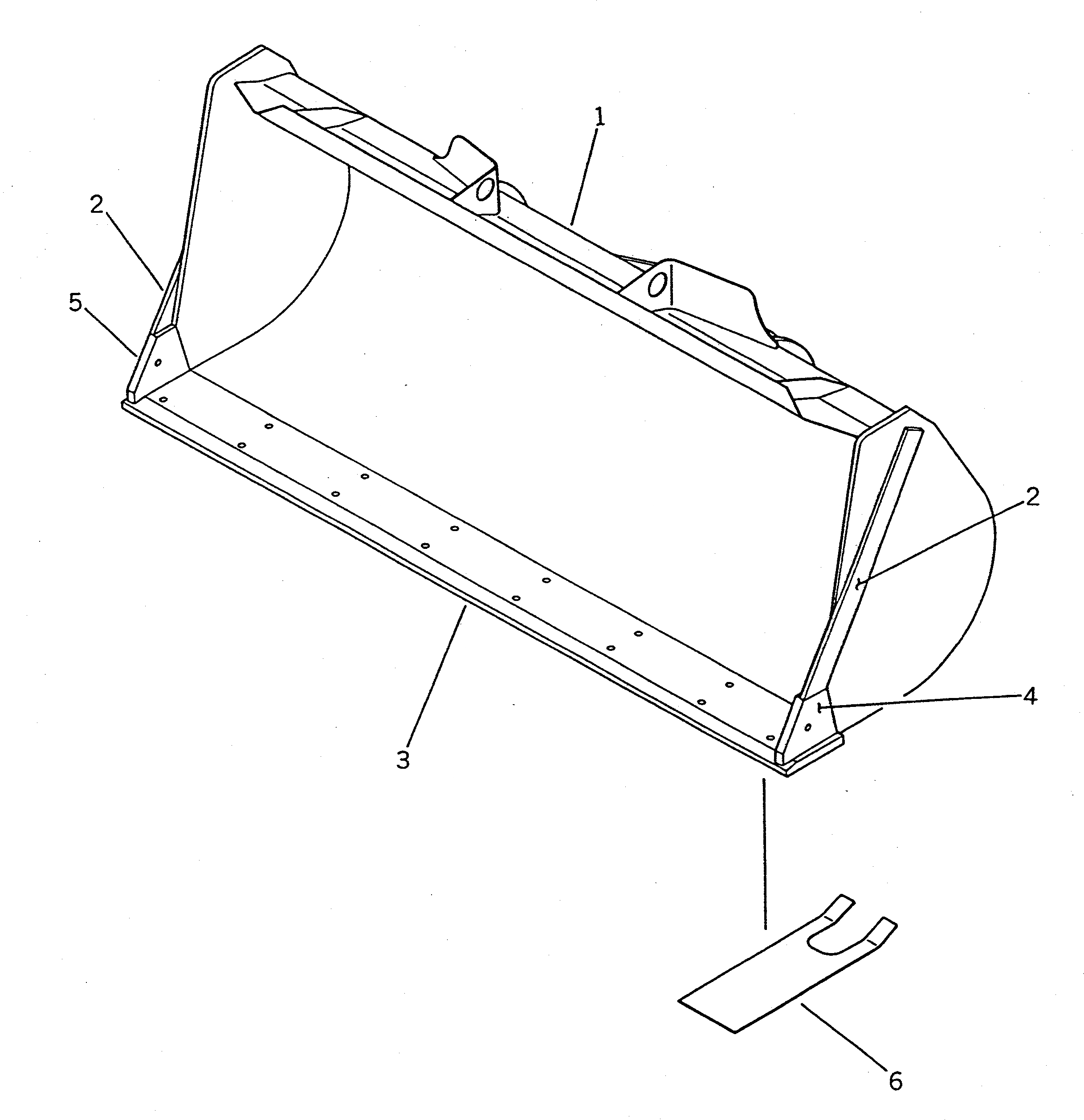
1

416-800-1110

BUCKET ASS'Y

SN: 10001-UP

1шт.

2

416-800-1130

PLATE (WELDED)

SN: 10001-UP

2шт.

3

417-70-12121

EDGE (WELDED)

SN: 10001-UP

1шт.

4

417-70-12140

PLATE,L.H. (WELDED)

SN: 10001-UP

1шт.

5

417-70-12150

PLATE,R.H. (WELDED)

SN: 10001-UP

1шт.

6

416-800-1B20

PLATE (WELDED)

SN: 10001-UP

2шт.

Выбрано товаров: 6