Запчасти Komatsu WA100-1 LUMBER ВИЛЫ РАБОЧЕЕ ОБОРУДОВАНИЕ

Схема запчастей Komatsu WA100-1 - LUMBER ВИЛЫ РАБОЧЕЕ ОБОРУДОВАНИЕ
FIT
1:1
100%

Артикул

Название

Примечание

Количество

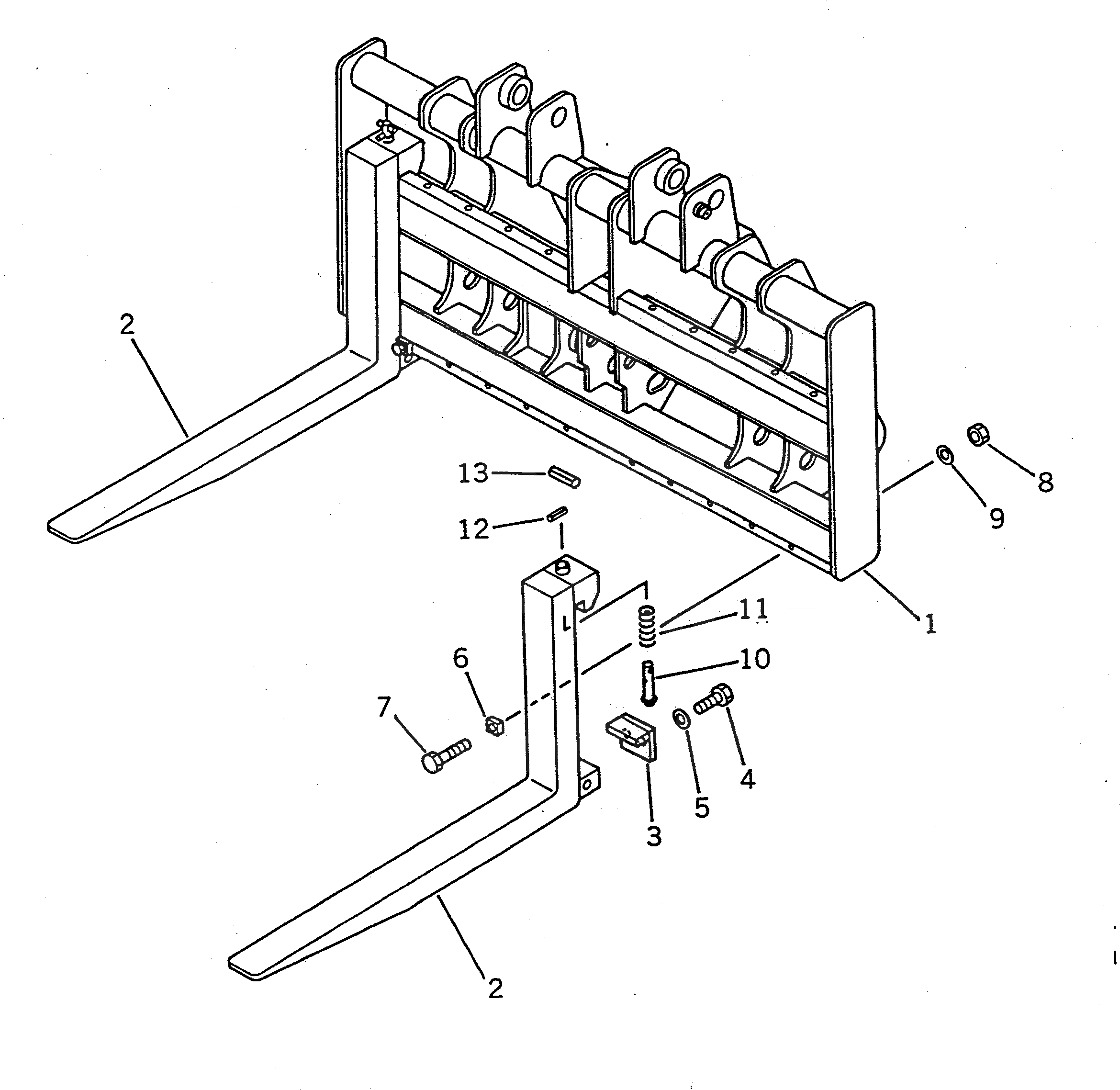
1

416-884-1112

CARRIER

SN: 10001-UP

1шт.

2

416-884-1120

FORK

SN: 10001-UP

2шт.

3

417-884-1130

BRACKET

SN: 10001-UP

2шт.

4

01010-32050

BOLT

SN: 10001-UP

4шт.

5

01643-32060

WASHER

SN: 10001-UP

4шт.

6

417-884-1140

PLATE

SN: 10001-UP

4шт.

7

01010-31255

BOLT

SN: 10001-UP

4шт.

8

01580-01210

NUT

SN: 10001-UP

4шт.

9

01643-31232

WASHER

SN: 10001-UP

4шт.

10

417-884-1160

PIN

SN: 10001-UP

2шт.

11

417-884-1150

SPRING

SN: 10001-UP

2шт.

12

04025-00440

PIN,SPRING

SN: 10001-UP

2шт.

13

04025-00865

PIN,SPRING

SN: 10001-UP

2шт.

Выбрано товаров: 0