Запчасти Komatsu WA100-1 ПРОБЛЕСК. МАЯКLAPM (КАБИНА ДЛЯ 2 ЧЕЛ.) (-ОСВЕЩЕНИЕ ТИП)(№7-) СПЕЦ. APPLICATION ЧАСТИ

Схема запчастей Komatsu WA100-1 - ПРОБЛЕСК. МАЯКLAPM (КАБИНА ДЛЯ 2 ЧЕЛ.) (-ОСВЕЩЕНИЕ ТИП)(№7-) СПЕЦ. APPLICATION ЧАСТИ
FIT
1:1
100%

Артикул

Название

Примечание

Количество

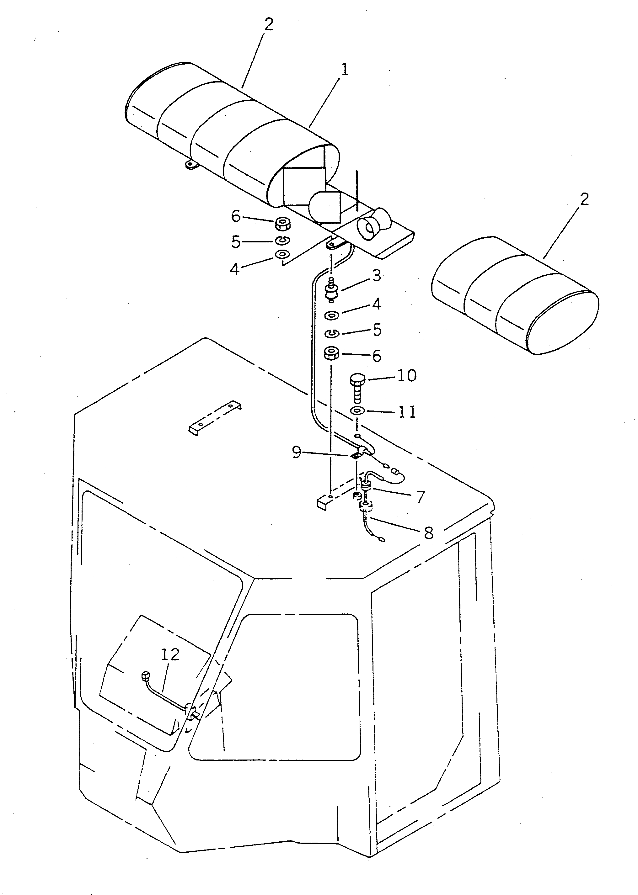
1

416-S56-1110

LAMP,BEACON

SN: 32700-UP

1шт.

|1

416-S56-1140

BULB

SN: 32700-UP

2шт.

2

416-S56-1150

LENS

SN: 32700-UP

2шт.

3

416-S56-1120

CUSHION

SN: 32700-UP

4шт.

4

01643-30823

WASHER

SN: 32700-UP

8шт.

5

01602-20825

WASHER,SPRING

SN: 32700-UP

8шт.

6

01580-10806

NUT

SN: 32700-UP

8шт.

7

416-S56-1131

GROMMET,HOLE 2.5

SN: .-UP

1шт.

|7

416-S56-1130

GROMMET

SN: 32700-.

1шт.

8

418-923-1510

WIRING HARNESS

SN: 32700-UP

1шт.

9

08036-01414

CLIP

SN: 32700-UP

1шт.

10

01010-50816

BOLT

SN: 32700-UP

1шт.

11

01643-30823

WASHER

SN: 32700-UP

1шт.

12

423-975-1150

SWITCH,BEACON

SN: 32700-UP

1шт.

Выбрано товаров: 14