Запчасти Komatsu WA100-1 КАБИНА (/8) (ДЛЯ -PERSONS)(№-9999) СПЕЦ. APPLICATION ЧАСТИ

Схема запчастей Komatsu WA100-1 - КАБИНА (/8) (ДЛЯ -PERSONS)(№-9999) СПЕЦ. APPLICATION ЧАСТИ
FIT
1:1
100%

Артикул

Название

Примечание

Количество

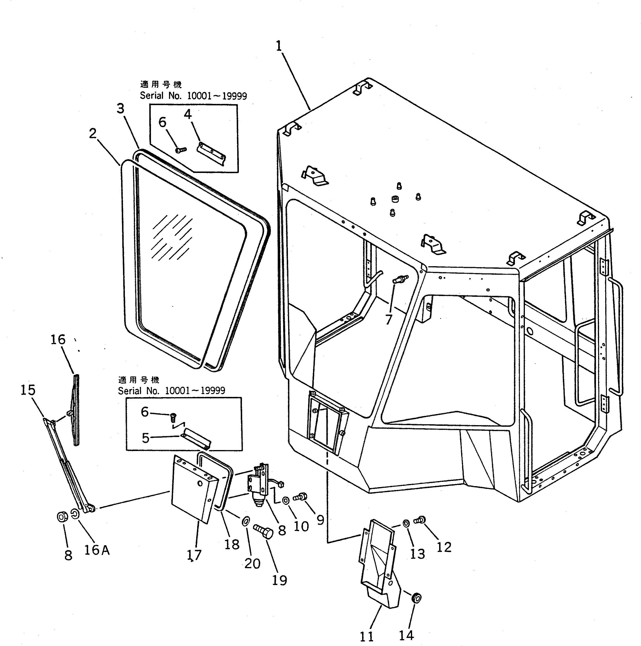
|1

417-923-1011

OPERATOR'S CAB ASS'Y

SN: 20001-29999

1шт.

|1

417-923-1010

OPERATOR'S CAB ASS'Y

SN: 10001-19999

1шт.

1

0

CAB

SN: 20001-29999

1шт.

|1

0

CAB

SN: 10001-19999

1шт.

2

417-923-1170

GLASS

SN: 10001-29999

1шт.

3

425-54-15980

STRIP,WEATHER

SN: 10001-29999

1шт.

4

425-54-15780

PLATE

SN: 10001-19999

1шт.

5

419-923-1640

PLATE

SN: 10001-19999

1шт.

6

01370-00406

SCREW

SN: 10001-19999

5шт.

7

419-923-1260

NOZZLE,WASHER

SN: 10001-@

1шт.

8

419-54-15880

MOTOR,WIPER

SN: 10001-29999

1шт.

9

01010-50616

BOLT

SN: 10001-29999

4шт.

10

01643-30623

WASHER

SN: 10001-29999

4шт.

11

419-923-1910

COVER

SN: 10001-29999

1шт.

12

01220-40512

SCREW

SN: 10001-29999

4шт.

13

01642-20508

WASHER

SN: 10001-29999

4шт.

14

08037-01610

GROMMET

SN: 10001-29999

1шт.

15

421-54-15390

ARM,WIPER

SN: 10001-29999

1шт.

16

419-923-1270

BLADE,WIPER

SN: 10001-@

1шт.

16A

01602-21030

WASHER,SPRING

SN: 10001-29999

1шт.

17

419-925-1260

PLATE

SN: 20001-29999

1шт.

|17

419-54-15810

PLATE

SN: 10001-19999

1шт.

18

419-54-15830

SEAL

SN: 10001-29999

1шт.

19

01010-50612

BOLT

SN: 10001-29999

6шт.

20

01643-30623

WASHER

SN: 10001-29999

6шт.

Выбрано товаров: 25