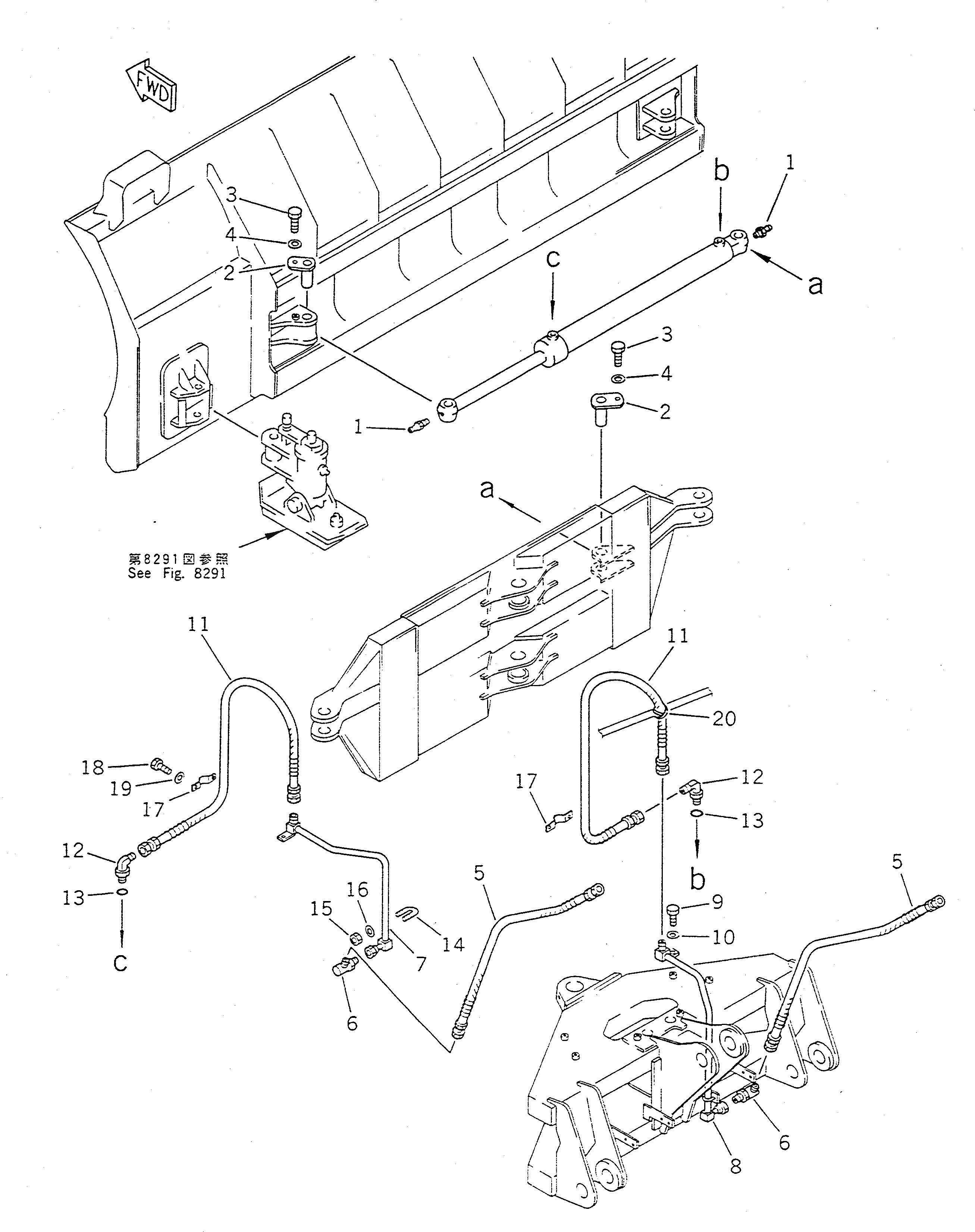
Запчасти Komatsu WA100-1 БОКОВ. СДВИГ¤ PITCH И ANGLE SNOW PНИЗ. (БОКОВ. СДВИГ ЛИНИЯ ЦИЛИНДРА) (С SHOCK CANCEL ОТВАЛ) СПЕЦ. APPLICATION ЧАСТИ

Схема запчастей Komatsu WA100-1 - БОКОВ. СДВИГ¤ PITCH И ANGLE SNOW PНИЗ. (БОКОВ. СДВИГ ЛИНИЯ ЦИЛИНДРА) (С SHOCK CANCEL ОТВАЛ) СПЕЦ. APPLICATION ЧАСТИ
FIT
1:1
100%

Артикул

Название

Примечание

Количество

1

07020-00000

FITTING,GREASE

SN: 10001-UP

2шт.

2

416-905-1240

PIN

SN: 10001-UP

2шт.

3

01010-31220

BOLT

SN: 10001-UP

2шт.

4

175-54-34170

WASHER

SN: 10001-UP

2шт.

5

416-904-1220

HOSE

SN: .-UP

2шт.

|5

07123-20408

HOSE

SN: 10001-.

2шт.

6

41H-914-1250

JOINT,SWIVEL

SN: .-UP

2шт.

|6

07129-00400

JOINT,SWIVEL

SN: 10001-.

2шт.

7

416-905-1351

TUBE,L.H.

SN: .-UP

1шт.

|7

416-905-1350

TUBE,L.H.

SN: 10001-.

1шт.

8

416-905-1361

TUBE,R.H.

SN: .-UP

1шт.

|8

416-905-1360

TUBE,R.H.

SN: 10001-.

1шт.

9

01010-31020

BOLT

SN: 10001-UP

2шт.

10

01643-31032

WASHER

SN: 10001-UP

2шт.

11

07123-20412

HOSE

SN: 10001-UP

2шт.

12

07235-10422

ELBOW

SN: 10001-UP

2шт.

13

07002-12034

O-RING

SN: 10001-UP

2шт.

14

07283-22236

CLIP

SN: 10001-UP

2шт.

15

01599-01011

NUT

SN: 10001-UP

4шт.

16

01643-31032

WASHER

SN: 10001-UP

4шт.

17

198-904-4190

CLAMP

SN: 10001-UP

2шт.

18

01010-30816

BOLT

SN: 10001-UP

3шт.

19

01643-30823

WASHER

SN: 10001-UP

3шт.

20

08034-00823

BAND

SN: 10001-UP

4шт.

Выбрано товаров: 24