Запчасти Komatsu WA100-1 ДВУСТОРОНН. ГИДРОЦИЛИНДР КОВША(№-9) СПЕЦ. APPLICATION ЧАСТИ

Схема запчастей Komatsu WA100-1 - ДВУСТОРОНН. ГИДРОЦИЛИНДР КОВША(№-9) СПЕЦ. APPLICATION ЧАСТИ
FIT
1:1
100%

Артикул

Название

Примечание

Количество

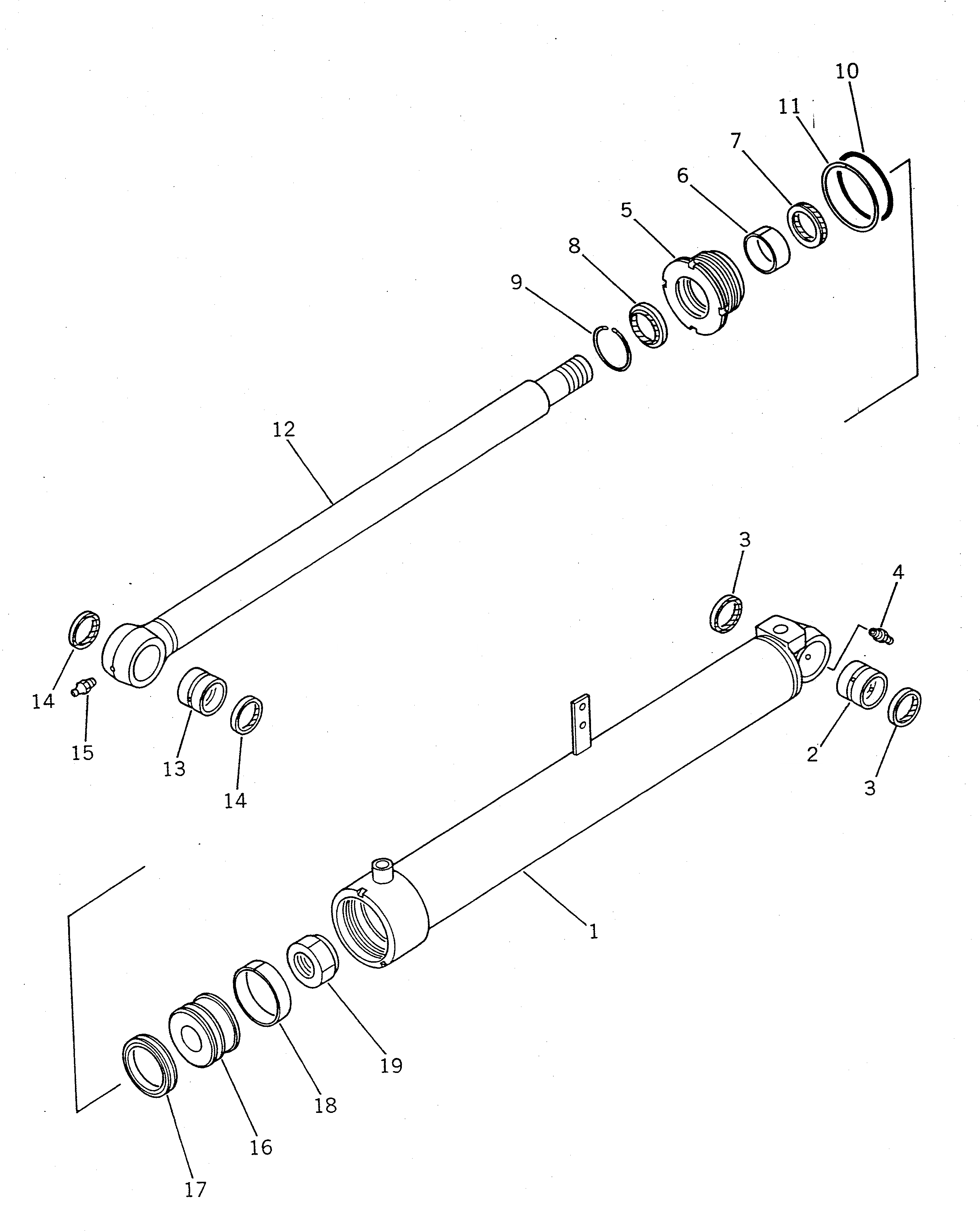
|1

707-00-10330

CYLINDER ASS'Y

SN: 10001-30219

1шт.

1

707-11-10130

CYLINDER

SN: 10001-30219

1шт.

2

07144-10505

BUSHING

SN: 10001-30219

1шт.

3

07145-00050

SEAL,DUST

SN: 10001-30219

2шт.

4

07020-00000

FITTING,GREASE

SN: 10001-30219

1шт.

5

707-29-10391

HEAD,CYLINDER

SN: 10001-30219

1шт.

6

07177-06030

BUSHING

SN: 10001-30219

1шт.

7

707-51-60030

PACKING,ROD

SN: 10001-30219

1шт.

8

141-63-93270

SEAL,DUST

SN: 10001-30219

1шт.

9

07179-12074

RING,SNAP

SN: .-30219

1шт.

|9

0

RING,SNAP

SN: 10001-.

1шт.

10

07000-12105

O-RING

SN: 10001-30219

1шт.

11

101-63-81230

RING,BACK-UP

SN: 10001-30219

1шт.

12

707-58-60450

ROD,PISTON

SN: 10001-30219

1шт.

13

07144-10505

BUSHING

SN: 10001-30219

1шт.

14

07145-00050

SEAL,DUST

SN: 10001-30219

2шт.

15

07020-00000

FITTING,GREASE

SN: 10001-30219

1шт.

16

707-36-10280

PISTON

SN: 10001-30219

1шт.

17

707-44-10180

RING,PISTON

SN: .-30219

1шт.

|17

0

RING,PISTON

SN: 10001-.

1шт.

18

07155-01025

RING,WEAR

SN: 10001-30219

1шт.

19

07165-14547

NUT,NYLON

SN: 10001-30219

1шт.

Выбрано товаров: 0