Запчасти Komatsu WA100-3-X КЛАПАН УПРАВЛЕНИЯ ТРАНСМИССИЕЙ (КРЕПЛЕНИЕ)(№-) ТРАНСМИССИЯ

Схема запчастей Komatsu WA100-3-X - КЛАПАН УПРАВЛЕНИЯ ТРАНСМИССИЕЙ (КРЕПЛЕНИЕ)(№-) ТРАНСМИССИЯ
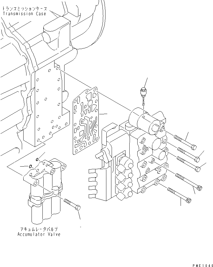
1
2
3
4
5
6
7
8
9
10
FIT
1:1
100%

Артикул

Название

Примечание

Количество

|1

714-15-10000

TRANSMISSION ASS'Y

SN: 60001-UP

1шт.

|$$2

THIS ASSEMBLY CONSISTS OF ALL PARTS SHOWN IN FIGS.2201 TO 2271.

-1шт.

1

714-11-16920

GASKET,LOWER

SN: 60001-UP

1шт.

2

01011-31020

BOLT

SN: 60001-UP

4шт.

3

01011-81030

BOLT

SN: 60001-UP

2шт.

4

01011-81035

BOLT

SN: 60001-UP

2шт.

5

419-15-16680

BOLT

SN: 60001-UP

4шт.

6

419-15-15170

BOLT

SN: 60001-UP

1шт.

7

07000-73025

O-RING

SN: 60001-UP

2шт.

8

07000-72014

O-RING

SN: 60001-UP

2шт.

9

01010-81070

BOLT

SN: 60001-UP

2шт.

10

232-06-52410

SENSOR,TORQUE CONVERTER OIL TEMP.

SN: 60001-UP

1шт.

Выбрано товаров: 12