Запчасти Komatsu WA100-3A КАПОТ (КАПОТ) (С УДЛИНН. ВПУСК ВОЗДУХА) ЧАСТИ КОРПУСА

Схема запчастей Komatsu WA100-3A - КАПОТ (КАПОТ) (С УДЛИНН. ВПУСК ВОЗДУХА) ЧАСТИ КОРПУСА
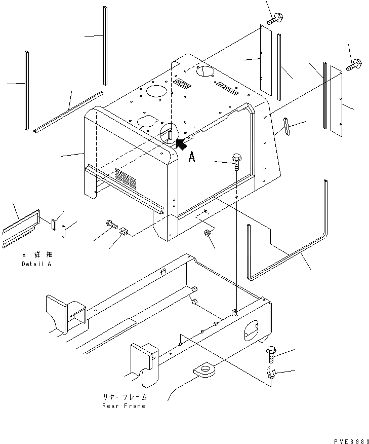
1
1
2
3
4
5
6
7
7
8
9
10
11
12
13
14
14
15
15
16
16
FIT
1:1
100%

Артикул

Название

Примечание

Количество

1

416-54-21511

HOOD

SN: 53001-UP

1шт.

2

01435-01235

BOLT

SN: 53001-UP

6шт.

3

416-54-21540

SEAL

SN: 53001-UP

2шт.

4

417-54-21370

SEAL

SN: 53001-UP

1шт.

5

417-54-21380

SEAL

SN: 53001-UP

1шт.

6

417-54-21390

SEAL

SN: 53001-UP

1шт.

7

417-54-21490

SEAL

SN: 53001-UP

2шт.

8

417-54-21990

SHEET

SN: 53001-UP

1шт.

9

417-54-21460

SPRING

SN: 53001-UP

2шт.

10

01435-00812

BOLT

SN: 53001-UP

2шт.

11

08052-01911

CLIP

SN: 53001-UP

1шт.

12

01220-40608

SCREW

SN: 53001-UP

1шт.

13

09415-00706

CAP

SN: 53001-UP

1шт.

14

417-54-21420

PLATE

SN: 53001-UP

2шт.

15

417-54-21360

SEAL

SN: 53001-UP

2шт.

16

01435-00816

BOLT

SN: 53001-UP

6шт.

Выбрано товаров: 16