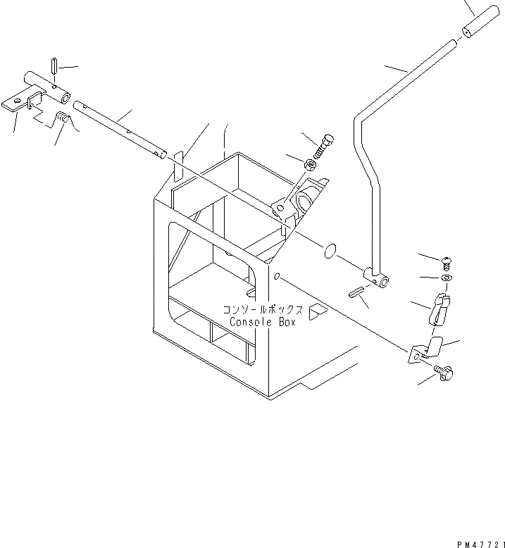
Запчасти Komatsu WA100-3A-S РАБОЧЕЕ ОБОРУДОВАНИЕ РЫЧАГ БЛОКИРОВКИ(№-) УПРАВЛ-Е РАБОЧИМ ОБОРУДОВАНИЕМ

Схема запчастей Komatsu WA100-3A-S - РАБОЧЕЕ ОБОРУДОВАНИЕ РЫЧАГ БЛОКИРОВКИ(№-) УПРАВЛ-Е РАБОЧИМ ОБОРУДОВАНИЕМ
1
2
3
4
5
5
6
7
8
9
10
11
12
13
FIT
1:1
100%

Артикул

Название

Примечание

Количество

1

417-43-28160

LEVER

SN: 50001-UP

1шт.

2

417-43-28270

CAP

SN: 50001-UP

1шт.

3

417-43-28150

LEVER

SN: 50001-UP

1шт.

4

417-43-28240

SHAFT

SN: 50001-UP

1шт.

5

04025-00520

PIN,SPRING

SN: 50001-UP

2шт.

6

09467-00006

SPRING

SN: 50001-UP

1шт.

7

01016-50825

BOLT

SN: 50001-UP

1шт.

8

01580-10806

NUT

SN: 50001-UP

1шт.

9

417-43-28250

PLATE

SN: 50001-UP

1шт.

10

08052-01311

CLIP

SN: 50001-UP

1шт.

11

01220-40610

SCREW

SN: 50001-UP

1шт.

12

01641-20608

WASHER

SN: 50001-UP

1шт.

13

01435-00812

BOLT

SN: 50001-UP

1шт.

Выбрано товаров: 13