Запчасти Komatsu WA100-3A-SN ОТВАЛ (ЦИЛИНДР НАКЛОНА ЛИНИЯ /) (S.P.A.P.) (С НАКЛОНЯЕМ.) РАБОЧЕЕ ОБОРУДОВАНИЕ

Схема запчастей Komatsu WA100-3A-SN - ОТВАЛ (ЦИЛИНДР НАКЛОНА ЛИНИЯ /) (S.P.A.P.) (С НАКЛОНЯЕМ.) РАБОЧЕЕ ОБОРУДОВАНИЕ
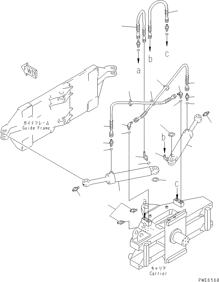
1
1
2
3
4
4
4
4
5
5
6
6
6
6
6
7
7
8
8
9
9
9
10
11
12
FIT
1:1
100%

Артикул

Название

Примечание

Количество

1

416-904-1160

SHIM¤ 2.3MM

SN: 53001-UP

2шт.

2

07020-00000

FITTING,GREASE

SN: 53001-55000

1шт.

3

07020-00000

FITTING,GREASE

SN: 53001-UP

2шт.

4

07235-10315

ELBOW

SN: 55001-UP

2шт.

|4

07235-10315

ELBOW

SN: 53001-55000

4шт.

5

07230-20315

UNION

SN: 53001-55000

2шт.

6

07002-12034

O-RING

SN: 55001-UP

2шт.

|6

07002-12034

O-RING

SN: 53001-55000

4шт.

7

07123-20307

HOSE

SN: 53001-UP

2шт.

8

07123-20311

HOSE

SN: 53001-UP

2шт.

9

08034-20536

BAND

SN: 53001-UP

5шт.

10

707-00-X7250

CYLINDER GROUP,ANGLE¤ L.H.

SN: 55001-UP

1шт.

|10

707-00-80061

CYLINDER ASS'Y,ANGLE¤ L.H.

SN: 53001-55000

1шт.

11

707-00-X7260

CYLINDER GROUP,ANGLE¤ R.H.

SN: 55001-UP

1шт.

|11

707-00-80071

CYLINDER ASS'Y,ANGLE¤ R.H.

SN: 53001-55000

1шт.

12

07020-00000

FITTING,GREASE

SN: 53001-55000

1шт.

Выбрано товаров: 16