Запчасти Komatsu WA100M-3 СТОЯНОЧНЫЙ ТОРМОЗ ЭЛЕМЕНТЫ УПРАВЛ-Я (РЫЧАГ И ПЕДАЛЬ)(№-) OPERATIORS ОБСТАНОВКА И СИСТЕМА УПРАВЛЕНИЯ

Схема запчастей Komatsu WA100M-3 - СТОЯНОЧНЫЙ ТОРМОЗ ЭЛЕМЕНТЫ УПРАВЛ-Я (РЫЧАГ И ПЕДАЛЬ)(№-) OPERATIORS ОБСТАНОВКА И СИСТЕМА УПРАВЛЕНИЯ
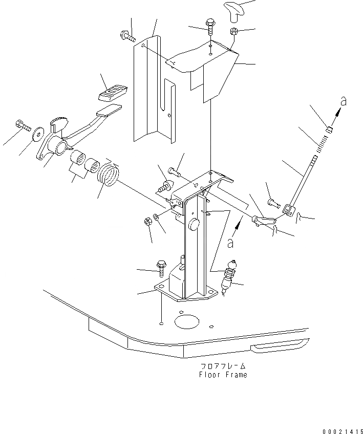
1
2
3
4
5
6
7
8
9
10
11
12
13
14
15
16
17
18
19
20
21
22
23
24
25
26
FIT
1:1
100%

Артикул

Название

Примечание

Количество

1

415-22-26210

BRACKET

SN: 11501-UP

1шт.

2

416-22-26121

PEDAL

SN: 11123-UP

1шт.

3

06124-02520

BEARING

SN: 11123-UP

2шт.

4

416-22-26280

SPRING

SN: 11123-UP

1шт.

5

01010-81016

BOLT

SN: 11123-UP

1шт.

6

415-64-13120

WASHER

SN: 11123-UP

1шт.

7

363-43-37170

PAD

SN: 11123-UP

1шт.

8

416-22-26130

PAWL

SN: 11123-UP

1шт.

9

04205-11030

PIN

SN: 11123-UP

1шт.

10

04052-11038

PIN,SNAP

SN: 11123-UP

1шт.

11

416-22-26190

ROD

SN: 11123-UP

1шт.

12

416-22-26210

SPRING

SN: 11123-UP

1шт.

13

416-22-26250

BUSHING

SN: 11123-UP

1шт.

14

04205-10622

PIN

SN: 11123-UP

1шт.

15

04052-10633

PIN,SNAP

SN: 11123-UP

1шт.

16

416-22-26230

STOPPER

SN: 11123-UP

1шт.

17

01580-10605

NUT

SN: 11123-UP

1шт.

18

01643-30623

WASHER

SN: 11123-UP

1шт.

19

421-S33-3282

SWITCH

SN: 11501-UP

1шт.

20

416-22-26220

KNOB

SN: 11123-UP

1шт.

21

01580-10806

NUT

SN: 11123-UP

1шт.

22

01435-01025

BOLT

SN: 11123-UP

3шт.

23

415-22-26220

COVER

SN: 11501-UP

1шт.

24

01435-00812

BOLT

SN: 11123-UP

2шт.

25

416-22-26150

COVER

SN: 11123-UP

1шт.

26

01435-00812

BOLT

SN: 11123-UP

2шт.

Выбрано товаров: 26