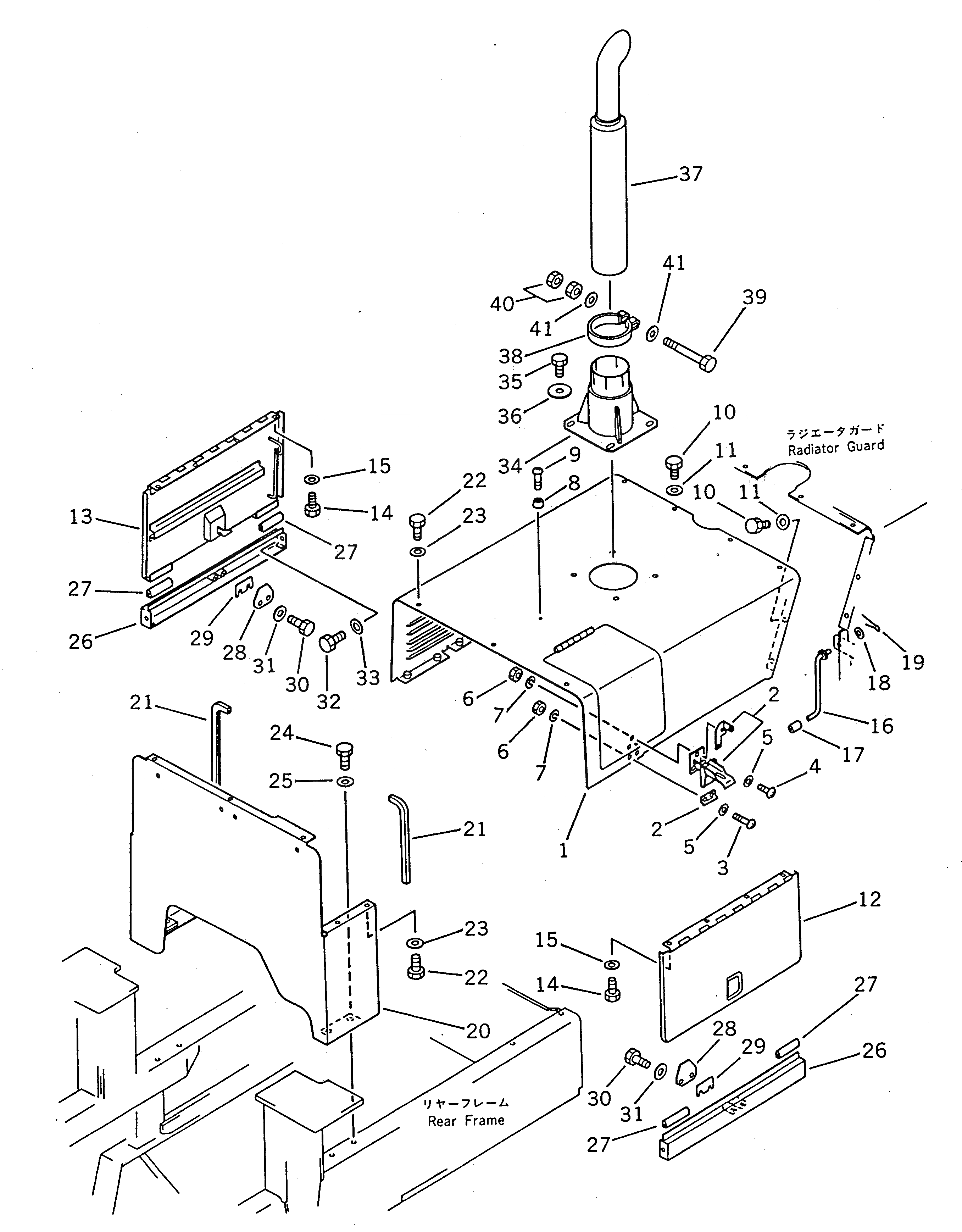
Запчасти Komatsu WA100SS-1 КАПОТ И ВЫПУСКН.(№-9999) РАМА И ЧАСТИ КОРПУСА

Схема запчастей Komatsu WA100SS-1 - КАПОТ И ВЫПУСКН.(№-9999) РАМА И ЧАСТИ КОРПУСА
FIT
1:1
100%

Артикул

Название

Примечание

Количество

1

416-54-11134

HOOD

SN: 10001-19999

1шт.

|1

416-Z06-1110

HOOD,(SANDY AND DUSTY TERRAIN S.)

SN: 10001-19999

1шт.

2

421-09-12320

HOLDER

SN: 10001-19999

1шт.

3

01220-40416

SCREW

SN: 10001-@

2шт.

4

01220-40412

SCREW

SN: 10001-@

3шт.

5

01641-20405

WASHER

SN: 10001-@

5шт.

6

01580-10403

NUT

SN: 10001-@

5шт.

7

01601-20410

WASHER,SPRING

SN: 10001-@

5шт.

8

425-54-12590

STOPPER

SN: 10001-@

1шт.

|8

425-54-12590

STOPPER,(SANDY AND DUSTY TERRAIN S.)

SN: 10001-19999

2шт.

9

01220-40416

SCREW

SN: 10001-@

1шт.

|9

01220-40416

SCREW,(SANDY AND DUSTY TERRAIN S.)

SN: 10001-19999

2шт.

10

01010-51220

BOLT

SN: 10001-19999

8шт.

11

01643-31232

WASHER

SN: 10001-19999

8шт.

12

417-54-11151

DOOR,L.H.

SN: 10001-19999

1шт.

|12

09461-00020

LEVER ASS'Y

SN: 10001-19999

1шт.

13

417-54-11161

DOOR,R.H.

SN: 10001-19999

1шт.

|13

09461-00020

LEVER ASS'Y

SN: 10001-19999

1шт.

14

01010-51225

BOLT

SN: 10001-19999

8шт.

15

01643-31232

WASHER

SN: 10001-19999

8шт.

16

417-54-11311

ROD

SN: 10001-19999

2шт.

17

416-54-11171

HOSE

SN: 10001-@

2шт.

18

01641-21016

WASHER

SN: 10001-@

2шт.

19

04050-12015

PIN,COTTER

SN: 10001-@

2шт.

20

417-54-11114

SUPPORT,HOOD

SN: 11763-19999

1шт.

|20

417-54-11113

SUPPORT,HOOD

SN: 10828-11762

1шт.

|20

0

SUPPORT,HOOD

SN: 10001-10827

1шт.

21

417-54-11260

SHEET

SN: 10001-19999

2шт.

22

01010-51220

BOLT

SN: 10001-19999

7шт.

23

01643-31232

WASHER

SN: 10001-19999

7шт.

24

01010-51230

BOLT

SN: 10001-19999

4шт.

25

01643-31232

WASHER

SN: 10001-19999

4шт.

26

417-54-11171

PLATE

SN: 10001-19999

2шт.

27

417-54-11270

SHEET

SN: 10001-19999

4шт.

28

417-54-11240

PLATE

SN: 10001-19999

2шт.

29

417-54-11690

SHIM¤ 1.0MM

SN: 10001-19999

-2шт.

30

01010-51225

BOLT

SN: 10001-19999

4шт.

31

01643-31232

WASHER

SN: 10001-19999

4шт.

32

01010-51220

BOLT

SN: 10001-19999

4шт.

33

01643-31232

WASHER

SN: 10001-19999

4шт.

34

417-02-11111

BRACKET

SN: 10001-19999

1шт.

35

01010-51225

BOLT

SN: 10001-@

4шт.

36

124-54-26540

WASHER

SN: 10001-@

4шт.

37

417-02-11130

PIPE,EXHAUST (WITH GLASSWOOL)

SN: 10001-@

1шт.

|37

417-Z15-1130

PIPE,EXHAUST (WITHOUT GLASSWOOL)

SN: 10001-@

1шт.

38

417-02-11120

CLAMP

SN: 10001-19999

1шт.

39

01010-51290

BOLT

SN: 10001-@

1шт.

40

01580-11210

NUT

SN: 10001-@

2шт.

41

01640-21223

WASHER

SN: 10001-@

2шт.

Выбрано товаров: 49