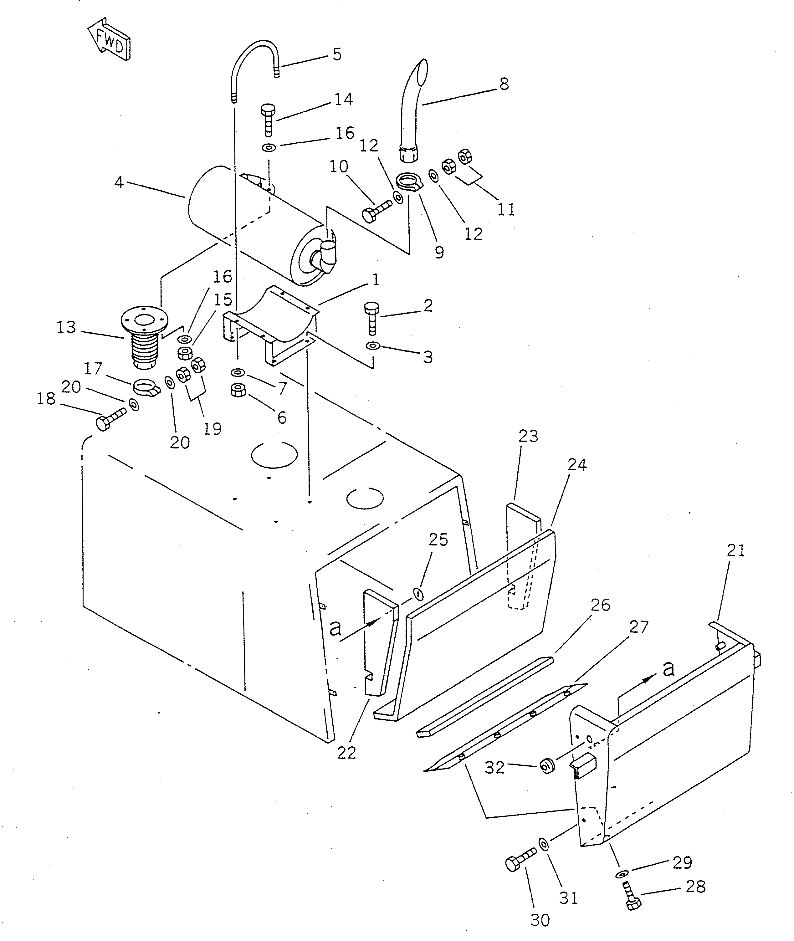
Запчасти Komatsu WA100SS-1 ГЛУШИТЕЛЬ И ВОЗДУХОВОДЫ(№-) РАМА И ЧАСТИ КОРПУСА

Схема запчастей Komatsu WA100SS-1 - ГЛУШИТЕЛЬ И ВОЗДУХОВОДЫ(№-) РАМА И ЧАСТИ КОРПУСА
FIT
1:1
100%

Артикул

Название

Примечание

Количество

1

416-Z97-1460

BRACKET

SN: 32001-UP

1шт.

2

01010-51225

BOLT

SN: 32001-UP

4шт.

3

01643-31232

WASHER

SN: 32001-UP

4шт.

4

416-Z97-1410

MUFFLER

SN: 32001-UP

1шт.

5

6206-11-5960

U-BOLT

SN: 32001-UP

2шт.

6

01580-10806

NUT

SN: 32001-UP

4шт.

7

01643-30823

WASHER

SN: 32001-UP

4шт.

8

416-Z97-1450

PIPE

SN: 32001-UP

1шт.

9

416-Z97-1440

CLAMP

SN: 32001-UP

1шт.

10

01010-51285

BOLT

SN: 32001-UP

1шт.

11

01580-11210

NUT

SN: 32001-UP

2шт.

12

01640-21223

WASHER

SN: 32001-UP

2шт.

13

416-Z97-1420

BELLOWS

SN: 32001-UP

1шт.

14

01010-51450

BOLT

SN: 32001-UP

4шт.

15

01580-11411

NUT

SN: 32001-UP

4шт.

16

01643-31445

WASHER

SN: 32001-UP

8шт.

17

416-Z97-1430

CLAMP

SN: 32001-UP

1шт.

18

01010-51285

BOLT

SN: 32001-UP

1шт.

19

01580-11210

NUT

SN: 32001-UP

2шт.

20

01640-21223

WASHER

SN: 32001-UP

2шт.

21

416-Z97-1230

DUCT,REAR

SN: 32001-UP

1шт.

22

416-Z97-1250

SHEET,L.H.

SN: 32001-UP

1шт.

23

416-Z97-1260

SHEET,R.H.

SN: 32001-UP

1шт.

24

416-Z97-1240

SHEET

SN: 32001-UP

1шт.

25

04431-30000

PLATE

SN: 32001-UP

8шт.

26

416-Z97-1270

SHEET

SN: 32001-UP

1шт.

27

416-Z97-1280

BAFFLE

SN: 32001-UP

1шт.

28

01010-50820

BOLT

SN: 32001-UP

4шт.

29

01643-30823

WASHER

SN: 32001-UP

4шт.

30

01010-51260

BOLT

SN: 32001-UP

4шт.

31

01643-31232

WASHER

SN: 32001-UP

4шт.

32

08037-02512

GROMMET

SN: 32001-UP

2шт.

Выбрано товаров: 32