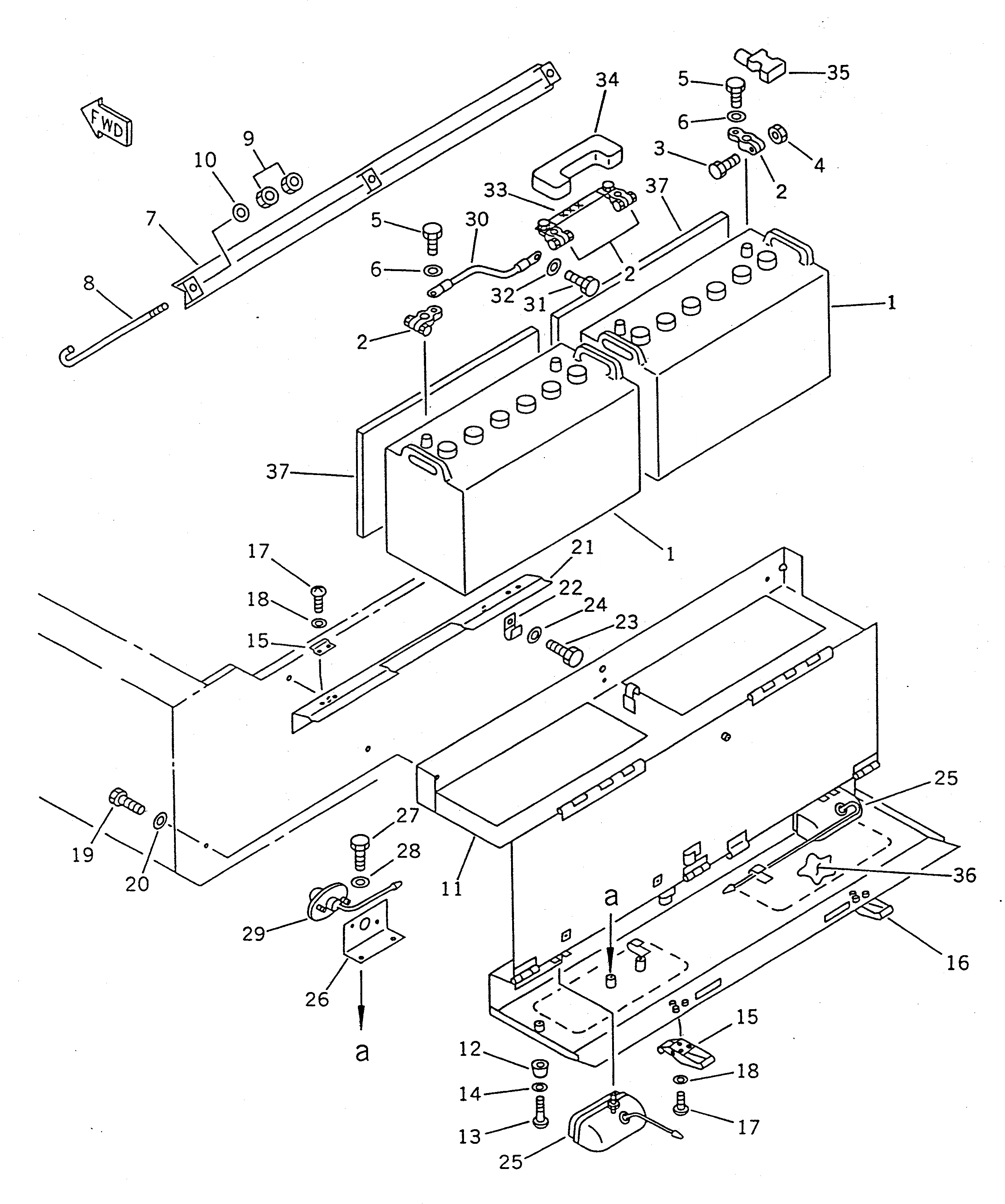
Запчасти Komatsu WA100SS-1 АККУМУЛЯТОР И КОРПУС АККУМУЛЯТОРА(№-) КОМПОНЕНТЫ ДВИГАТЕЛЯ И ЭЛЕКТРИКА

Схема запчастей Komatsu WA100SS-1 - АККУМУЛЯТОР И КОРПУС АККУМУЛЯТОРА(№-) КОМПОНЕНТЫ ДВИГАТЕЛЯ И ЭЛЕКТРИКА
FIT
1:1
100%

Артикул

Название

Примечание

Количество

1

08000-32212

BATTERY (115E41R)

SN: 10001-UP

2шт.

|1

416-Z91-1110

BATTERY¤ 12V 110AH,(COLD TERRAIN SPEC.)

SN: 10001-UP

2шт.

2

08000-00000

TERMINAL¤ (+)

SN: 10001-UP

2шт.

|2

08000-00001

TERMINAL¤ (-)

SN: 10001-UP

2шт.

3

01010-30830

BOLT

SN: 10001-UP

1шт.

4

01580-00806

NUT

SN: 10001-UP

1шт.

5

01050-31018

BOLT

SN: 10001-UP

1шт.

6

01640-01016

WASHER

SN: 10001-UP

1шт.

7

416-06-11121

HOLDER

SN: 20001-UP

1шт.

8

417-06-11123

ROD

SN: 20001-UP

3шт.

9

01580-10806

NUT

SN: 20001-UP

6шт.

10

01643-30823

WASHER

SN: 20001-UP

3шт.

11

416-06-11134

BOX,(WITH BACK LAMP)

SN: 20001-UP

1шт.

|11

417-06-11314

BOX,(WITHOUT BACK LAMP)

SN: 20001-UP

1шт.

12

425-54-12590

STOPPER

SN: 20001-UP

1шт.

13

01220-40416

SCREW

SN: 20001-UP

1шт.

14

01641-20405

WASHER

SN: 20001-UP

1шт.

15

424-09-12490

HOLDER

SN: 20001-UP

1шт.

16

421-09-12320

HOLDER

SN: 20001-UP

1шт.

17

01220-40410

SCREW

SN: 10001-UP

10шт.

18

01641-20405

WASHER

SN: 10001-UP

10шт.

19

01010-31235

BOLT

SN: 20001-UP

3шт.

20

124-54-26540

WASHER

SN: 20001-UP

3шт.

21

416-06-11180

BRACKET

SN: 20001-UP

1шт.

22

08036-40814

CLIP

SN: 20001-UP

1шт.

23

01010-31020

BOLT

SN: 20001-UP

2шт.

24

01643-31032

WASHER

SN: 20001-UP

2шт.

25

417-06-13122

LAMP,BACK

SN: .-UP

2шт.

|25

417-06-13131

LENS

SN: .-UP

1шт.

|25

08110-12410

BULB¤ 12W

SN: .-UP

1шт.

26

416-06-11170

BRACKET

SN: 20001-UP

1шт.

27

01010-30816

BOLT

SN: 20001-UP

2шт.

28

01643-30823

WASHER

SN: 20001-UP

2шт.

29

08137-32400

LAMP ASS'Y,LICENSE

SN: 10001-UP

1шт.

|29

08110-12410

BULB¤ 12W

SN: 10001-UP

1шт.

30

416-06-11320

WIRE

SN: 21137-UP

1шт.

|30

0

WIRE

SN: 20001-21136

1шт.

31

01010-31020

BOLT

SN: 10001-UP

1шт.

32

01605-11023

WASHER

SN: 10001-UP

1шт.

33

417-06-12111

WIRE

SN: 20001-UP

1шт.

34

417-06-12132

CAP

SN: 20001-UP

1шт.

35

08038-22009

CAP

SN: 10001-UP

1шт.

36

417-06-11321

PLATE

SN: 20001-UP

2шт.

37

416-06-11330

SPACER

SN: 21075-UP

2шт.

Выбрано товаров: 44