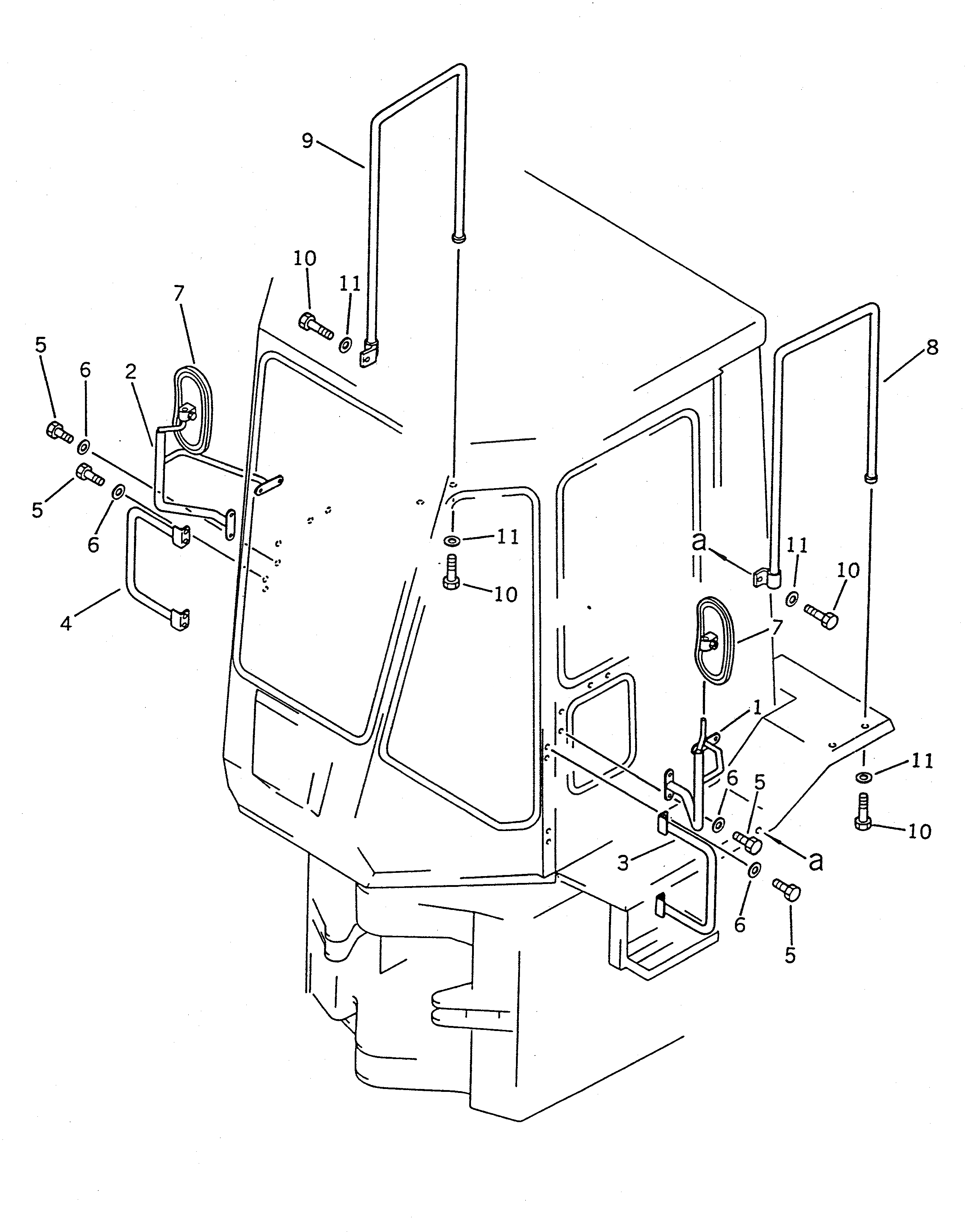
Запчасти Komatsu WA100SS-1 СТОЙКА И ПОРУЧНИ (С КАБИНОЙ)(№-9999) РАМА И ЧАСТИ КОРПУСА

Схема запчастей Komatsu WA100SS-1 - СТОЙКА И ПОРУЧНИ (С КАБИНОЙ)(№-9999) РАМА И ЧАСТИ КОРПУСА
FIT
1:1
100%

Артикул

Название

Примечание

Количество

1

416-929-1111

STAY,L.H.

SN: 10001-19999

1шт.

2

416-929-1121

STAY,R.H.

SN: 10001-19999

1шт.

3

416-929-1130

HANDRAIL,L.H.

SN: 10001-19999

1шт.

4

416-929-1140

HANDRAIL,R.H.

SN: 10001-19999

1шт.

5

01010-50820

BOLT

SN: 10001-@

16шт.

6

01643-30823

WASHER

SN: 10001-@

16шт.

7

08174-13116

MIRROR

SN: 10001-@

2шт.

8

417-54-12223

HANDRAIL,L.H.

SN: 10001-19999

1шт.

9

417-54-12233

HANDRAIL,R.H.

SN: 10001-19999

1шт.

10

01010-51230

BOLT

SN: 10001-19999

4шт.

11

01643-31232

WASHER

SN: 10001-@

4шт.

Выбрано товаров: 11